GM Service Manual Online
For 1990-2009 cars only
Makes
🢒
Isuzu
🢒
2002
🢒
Isuzu T-Series (Truck Line C)
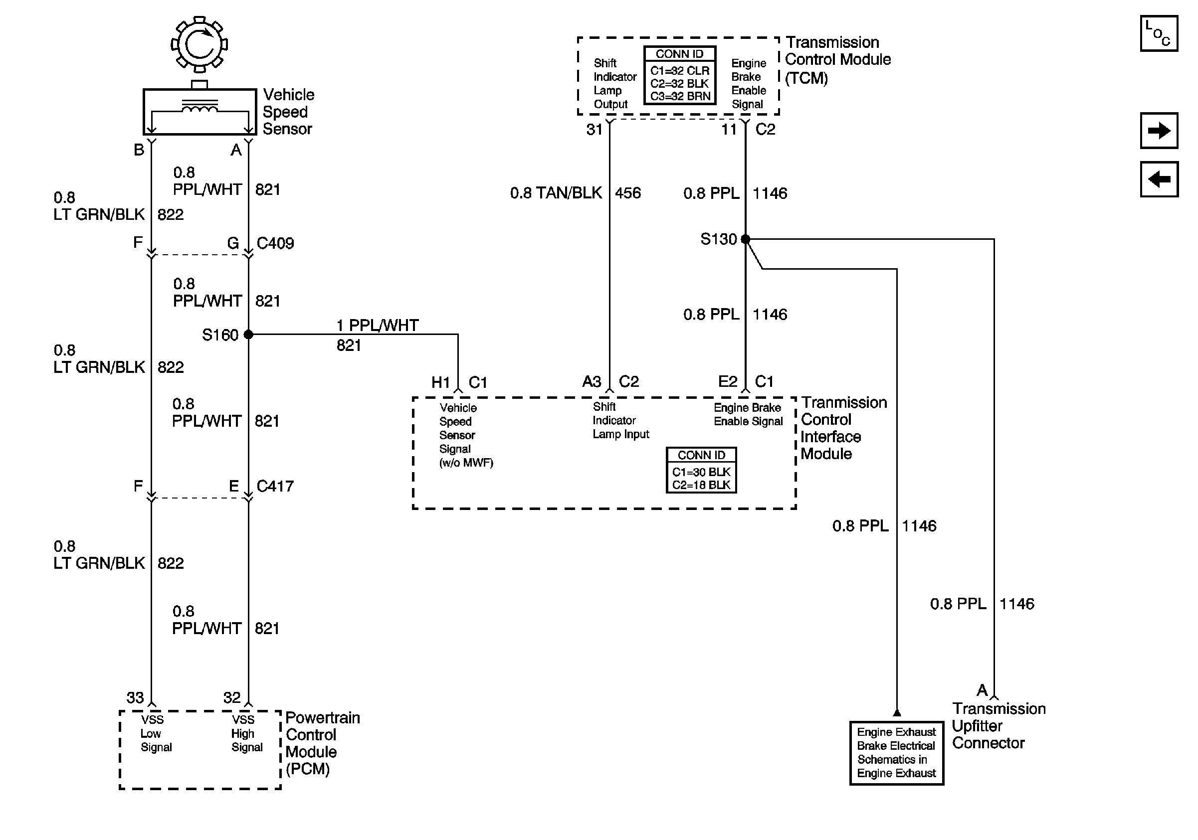
🢒 Transmission Controls, Signal Outputs
Transmission Controls, Signal Outputs
Transmission Controls, Signal Outputs
Master Electrical Component List
Speedometer Adapter, Vehicle Speed Sensor
Transmission Control Module, Power and Ground