GM Service Manual Online
For 1990-2009 cars only
Makes
🢒
Isuzu
🢒
2000
🢒
S/T Isuzu - 2WD
🢒
Body and Accessories
🢒
Doors
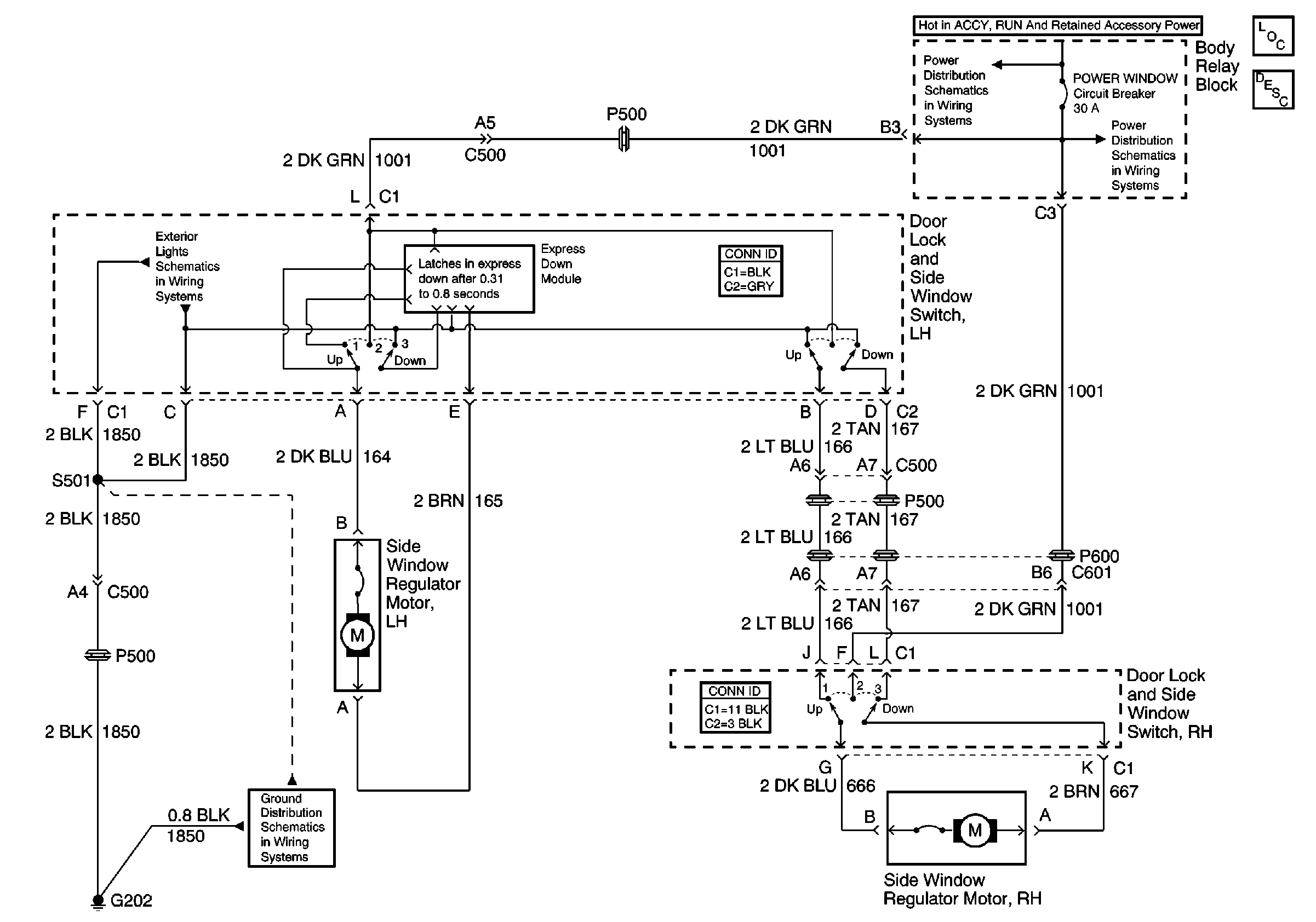
🢒 Power Window Schematics
Power Door Systems Components
Power Windows Circuit Description
IGN E, RDO IGN Fuses and Power Window Circuit Breaker
IGN E, RDO IGN Fuses and Power Window Circuit Breaker
Headlamp Switch and HDLP SW, PARK LP Fuses
Power Door Systems Connector End Views
G202
Power Door Systems Connector End Views