GM Service Manual Online
For 1990-2009 cars only

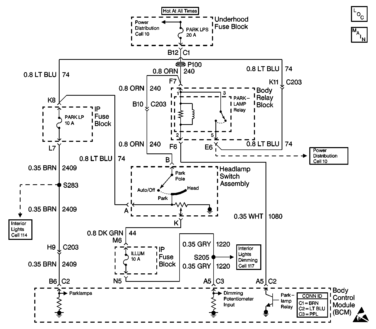
Object Number: 403324  Size: LF
Cell 10: PARK LP, ILLUM Fuses and Park Lamp, Headlamp Grounding Relays
Body Control Module Components
Cell 51: Headlamp Switch, Inadvertent Power Relay and Courtesy Lamp Relay
Cell 10: PARK LP, ILLUM Fuses and Park Lamp, Headlamp Grounding Relays
Interior Lights Schematics
Cell 117: ILLUM Fuse 12
Body Control System Connector End Views
Handling ESD Sensitive Parts Notice

Circuit Description

The BCM monitors the voltage on CKT 2409 in order to determine the actual state of the park lamp relay. The BCM also uses CKT 1080 to energize the park lamp relay. The BCM will set a related DTC when the voltage on the following circuits is low:

    • CKT 1080
    • CKT 2409

Conditions for Setting the DTC

    • The ignition is in the RUN position.
    • The park brake is released.
    • The headlamp and panel dimmer switch is in the AUTO mode.
    • The ambient light sensor is in the DARK state.
    • There is an open in CKT 2409 or CKT 1080.
    • There is an open in CKT 2409. The DTC will set regardless of the setting of the headlamp and panel dimmer switch.
    • There is an open in CKT 1080 and the headlamp and panel dimmer switch is in the AUTO mode.
    • The system voltage is between 9.0-16.0 volts.
    • The above conditions exist for 0.5 seconds.

Action Taken When the DTC Sets

    • The park lamps will be disabled.
    • The instrument panel back lights remain ON at all times when CKT 2409 is open.

Conditions for Clearing the MIL/DTC

    • A current DTC will clear after the next ignition cycle that does not contain a fault.
    • A history DTC will clear after 100 consecutive ignition cycles without a fault present.
    • History and current DTCs may be cleared using a scan tool.

Diagnostic Aids

    • Use an incandescent shop light or a flashlight. Direct the lighting toward the light sensor in order to force the sensor into a LIGHT state.
    • Always diagnose the first DTC that is listed on the scan tool.
    • Verify that the scan tool displays DTC B2585 as a current code before you perform diagnostics.
    • Inspect for loose or poor connections at all of the related components.
    • Refer to Intermittents and Poor Connections Diagnosis in Wiring Systems.

Test Description

The numbers below refer to the step numbers on the diagnostic table.

  1. This step determines if the light sensor turns ON the headlamp.

  2. This step tests the PARK LP fuse.

  3. This step tests for an open in CKT 1080.

  4. This step tests the park lamp relay.

  5. This step tests for a short to ground in CKT 2409.

Step

Action

Value(s)

Yes

No

1

Did you perform the BCM Diagnostic System Check?

--

Go to Step 2

Go to Diagnostic System Check - Body Control System

2

  1. Turn the headlamp switch to the AUTO/OFF position.
  2. Use the scan tool in order to verify that the vehicle is in the LIGHT state.
  3. Verify that the parking brake is not engaged.
  4. Cover the light sensor with dark tape.
  5. Turn the ignition switch to the RUN position.

Do the IPC back lights turn ON?

--

Go to Step 5

Go to Step 3

3

  1. Turn the ignition switch to the OFF position.
  2. Inspect the 20 amp PARK LP fuse in the underhood fuse block.

Is the fuse OK?

--

Go to Step 4

Go to Step 12

4

  1. Inspect the 10A PARK LP fuse in the IP fuse block.
  2. Verify that the fuse is a 10A fuse.

Is the fuse OK?

--

Go to Step 5

Go to Step 16

5

  1. Turn the ignition switch to the OFF position.
  2. Disconnect the BCM connector (LT BLU).
  3. Remove the park lamp relay from the body relay block.
  4. Measure the resistance in CKT 1080 between the body relay block cavity and the BCM connector (LT BLU) terminal A5.

Is the resistance less than or equal to the specified value?

5 ohms

Go to Step 6

Go to Step 20

6

Measure the resistance between the park lamp relay terminal 1 and terminal 2.

Is the resistance less than or equal to the specified value?

95 ohms

Go to Step 7

Go to Step 21

7

  1. Remove the 10A PARK LP fuse from the IP fuse block.
  2. Measure the resistance in CKT 74 between the body relay block cavity and the PARK LP fuse at the IP fuse block terminal K8.

Is the resistance less than or equal to the specified value?

5 ohms

Go to Step 8

Go to Step 22

8

  1. Use a fused jumper wire in order to energize the park lamp relay.
  2. Connect terminal 2 of the relay to battery voltage.
  3. Connect terminal 1 of the relay to ground.
  4. Measure the resistance between relay terminal 3 and relay terminal 5.

Is the resistance less than or equal to the specified value?

95 ohms

Go to Step 9

Go to Step 21

9

  1. Ensure that the BCM connector (LT BLU) is disconnected.
  2. Measure the resistance between the PARK LP fuse terminal L7 and the BCM connector (LT BLU) terminal B6.

Is the resistance less than or equal to the specified value?

5 ohms

Go to Step 10

Go to Step 24

10

  1. Install the PARK LP fuse in the IP fuse block. Verify that the fuse is a good 10A fuse.
  2. Reconnect all of the connectors.
  3. Clear all of the DTCs.
  4. Turn the ignition switch to the OFF position for 10 seconds.
  5. Turn the ignition switch to the RUN position.

Does DTC B2585 set as a current code?

--

Go to Step 11

Go to Diagnostic Aids

11

  1. Replace the BCM.
  2. Program the correct calibrations into the BCM.
  3. Perform the learn procedure.

Is the repair complete?

--

Go to Step 25

--

12

  1. Replace the PARK LP fuse in the underhood fuse block. Ensure that the fuse is 20 amp.
  2. Turn the ignition switch to the RUN position.

Does the fuse blow?

--

Go to Step 15

Go to Step 13

13

  1. Clear the DTCs.
  2. Turn the ignition switch to the OFF position for 10 seconds.
  3. Turn the ignition switch to the RUN position.

Does DTC B2585 set as a current code?

--

Go to Step 14

Go to Step 25

14

Remove the dark tape from the light sensor.

Is the repair complete?

--

Go to Step 4

--

15

Repair the short to ground in CKT 240.

Is the repair complete?

--

Go to Step 25

--

16

  1. Replace the PARK LP fuse in the IP fuse block. Ensure that the fuse is a good 10A fuse.
  2. Remove the dark tape from the light sensor.
  3. Turn the ignition switch to the RUN position.

Does the fuse blow?

--

Go to Step 18

Go to Step 17

17

Cover the light sensor with dark tape.

Does the fuse blow?

--

Go to Step 19

Go to Step 25

18

Repair the short to ground in CKT 2409.

Is the repair complete?

--

Go to Step 25

--

19

Repair the short to ground in CKT 74.

Is the repair complete?

--

Go to Step 25

Go to Step 20

20

  1. Test for an open in CKT 1080.
  2. Repair as needed.

Was a repair needed?

--

Go to Step 25

--

21

Replace the park lamp relay.

Is the repair complete?

--

Go to Step 25

--

22

Repair the open in CKT 74.

Is the repair complete?

--

Go to Step 25

--

23

Replace the body relay block.

Is the repair complete?

--

Go to Step 25

--

24

Repair the open in CKT 2409.

Is the repair complete?

--

Go to Step 25

--

25

Clear the DTCs.

Is the repair complete?

--

Go to Diagnostic System Check - Body Control System

--