GM Service Manual Online
For 1990-2009 cars only

Door Lock Replacement Front

Removal Procedure

    Important: Do NOT repair the lock assembly.

  1. Remove the door trim panel. Refer to Door Trim Panel Replacement .
  2. Remove enough door water deflector in order to access the lock actuator. Refer to Door Water Deflector Replacement .
  3. Remove the lower window run channel. Refer to Window Channel Replacement .
  4. Remove the door outside handle and lock cylinder. Refer to Outside Handle and Lock Cylinder Replacement .
  5. Remove the door inside handle. Refer to Door Inside Handle Replacement .

  6. Object Number: 385002  Size: LH
  7. Remove the door actuator TORX® screws.
  8. Remove the door lock actuator (2).

Installation Procedure


    Object Number: 384813  Size: SH
  1. Push up on the outside lock rod lever (1) and pull on the inside lock handle lever until the lock assembly is in the full open position.

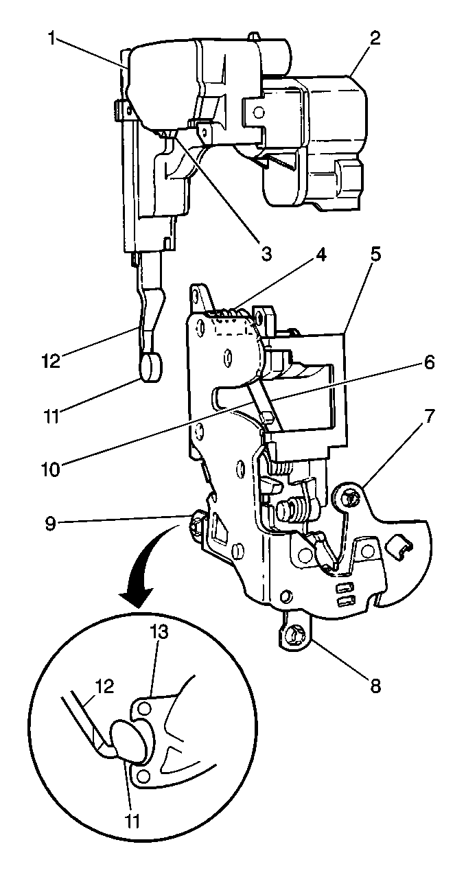
  2. Object Number: 385002  Size: LH
  3. Push the lock switch teeth (3) fully towards the actuating arm (12) so that the teeth will mesh correctly with the teeth on the lock assembly when installed.
  4. Verify that the actuating arm rubber bumper (11) is on the actuating arm (12).
  5. Install the actuating arm and the bumper into the locking lever (13).
  6. Align the lock switch teeth (3) to the gear teeth fork bolt (6).
  7. Install the lock assembly TORX® screws.

  8. Object Number: 385033  Size: MH
  9. Manually operate the lock assembly by pushing inward on the fork bolt (3) until the assembly clicks into a fully closed position (4). The lock must operate to the fully closed position without any interference.
  10. Connect the lock actuator wire harness.
  11. Install the door lock actuator.
  12. Notice: Use the correct fastener in the correct location. Replacement fasteners must be the correct part number for that application. Fasteners requiring replacement or fasteners requiring the use of thread locking compound or sealant are identified in the service procedure. Do not use paints, lubricants, or corrosion inhibitors on fasteners or fastener joint surfaces unless specified. These coatings affect fastener torque and joint clamping force and may damage the fastener. Use the correct tightening sequence and specifications when installing fasteners in order to avoid damage to parts and systems.

  13. Install the door lock actuator TORX® screws.
  14. Tighten
    Tighten the screw to 4.5 N·m (39.8 lb in).

  15. Test the operation of the actuator and door lock switch.
  16. Install the door inside handle. Refer to Door Inside Handle Replacement .
  17. Install the door outside handle and lock cylinder. Refer to Outside Handle and Lock Cylinder Replacement .
  18. Install the lower window run channel. Refer to Window Channel Replacement .
  19. Install the door water deflector. Refer to Door Water Deflector Replacement .
  20. Install the door trim panel. Refer to Door Trim Panel Replacement .

Door Lock Replacement Rear

Removal Procedure

    Important: Do NOT repair the lock assembly.

  1. Remove the door trim panel. Refer to Door Trim Panel Replacement .
  2. Remove enough door water deflector in order to access the lock actuator. Refer to Door Water Deflector Replacement .
  3. Remove the lower window run channel. Refer to Window Channel Replacement .
  4. Remove the door outside handle and lock cylinder. Refer to Outside Handle and Lock Cylinder Replacement .
  5. Remove the door inside handle. Refer to Door Inside Handle Replacement .

  6. Object Number: 385002  Size: LH
  7. Remove the door actuator TORX® screws.
  8. Remove the door lock actuator (2).

Installation Procedure


    Object Number: 384799  Size: SH
  1. Push up on the outside lock rod lever (1) and pull on the inside lock handle lever (3) until the lock assembly is in the full open position.

  2. Object Number: 385002  Size: LH
  3. Push the lock switch teeth (3) fully towards the actuating arm (12) so that the teeth will mesh correctly with the teeth on the lock assembly when installed.
  4. Verify that the actuating arm rubber bumper (11) is on the actuating arm (12).
  5. Install the actuating arm and the bumper into the locking lever (13).
  6. Align the lock switch teeth (3) to the gear teeth fork bolt (6).
  7. Install the lock assembly TORX® screws.

  8. Object Number: 385033  Size: MH
  9. Manually operate the lock assembly by pushing inward on the fork bolt (3) until the assembly clicks into a fully closed position (4). The lock must operate to the fully closed position without any interference.
  10. Connect the lock actuator wire harness.
  11. Install the door lock actuator.
  12. Notice: Use the correct fastener in the correct location. Replacement fasteners must be the correct part number for that application. Fasteners requiring replacement or fasteners requiring the use of thread locking compound or sealant are identified in the service procedure. Do not use paints, lubricants, or corrosion inhibitors on fasteners or fastener joint surfaces unless specified. These coatings affect fastener torque and joint clamping force and may damage the fastener. Use the correct tightening sequence and specifications when installing fasteners in order to avoid damage to parts and systems.

  13. Install the door lock actuator TORX® screws.
  14. Tighten
    Tighten the screw to 4.5 N·m (39.8 lb in).

  15. Test the operation of the actuator and door lock switch.
  16. Install the door inside handle. Refer to Door Inside Handle Replacement .
  17. Install the door outside handle and lock cylinder. Refer to Outside Handle and Lock Cylinder Replacement .
  18. Install the lower window run channel. Refer to Window Channel Replacement .
  19. Install the door water deflector. Refer to Door Water Deflector Replacement .
  20. Install the door trim panel. Refer to Door Trim Panel Replacement .