GM Service Manual Online
For 1990-2009 cars only
Makes
🢒
Oldsmobile
🢒
2002
🢒
Alero
🢒
Body and Accessories
🢒
Body Control System
🢒 Body Control System Schematics
Figure
1:
Power, Ground and Controlled/Monitored References
Master Electrical Component List
Body Control System Description and Operation
Controlled/Monitored Lighting References
RH HDLP, LH HDLP, GEN BATT, LH BEC BATT2, STOP LPS, HAZARD LPS, IPC/HVAC BATT, BFC BATT Fuses
IGN SW-BATT1, HTR-A/C, ERLS, CRANK, PCM ACC, IPC/BFC/ACC Fuses
IGN SW-BATT1, HTR-A/C, ERLS, CRANK, PCM ACC, IPC/BFC/ACC Fuses
IGN SW-BATT2, WIPER, AIR BAG, TURN LPS, IGN MOD, B/U LP/BTSI, PCM IGN, F/P INJR, A/C BFC, AUTO TRANS, ABS/EVO/IGN Fuses
PWR WNDW, Circuit Breaker, CRUISE SW, CRUISE, SUNROOF, HVAC BLOWER Fuses
PWR WNDW, Circuit Breaker, CRUISE SW, CRUISE, SUNROOF, HVAC BLOWER Fuses
RH BEC BATT, ABS, COOL FAN (V6) GROUND, INT LPS, RADIO BATT, FOG LPS Fuses
Compressor Controls
Washer System
Coolant Indicators
Audible Warnings Schematics
Horns
Tire Pressure Monitoring Schematics
Seat Belt Schematic
Cruise Control ON/OFF Switch
Data Link Connector (DLC) Schematics
G202
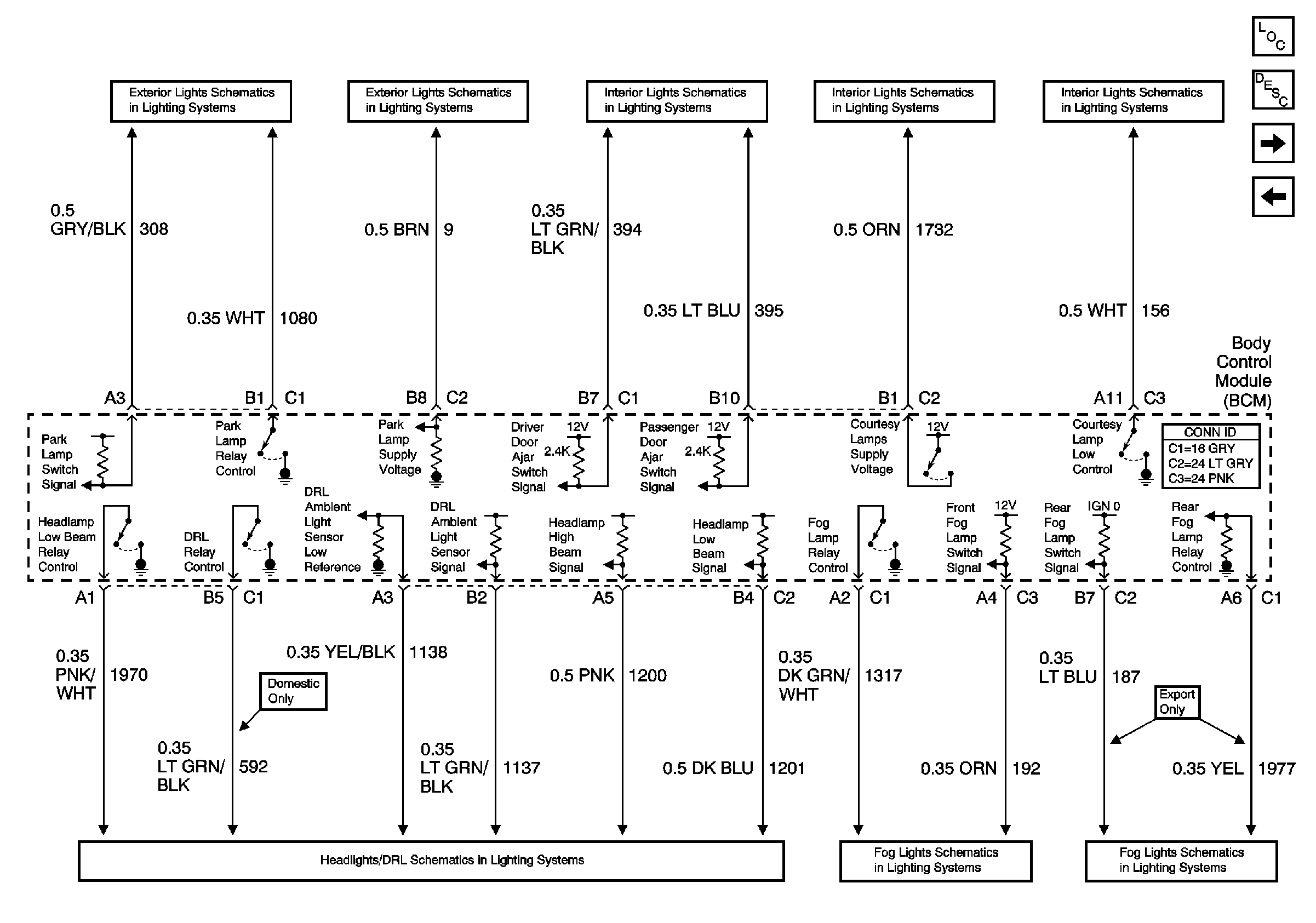
Figure
2:
Controlled/Monitored Lighting References
Rear Fog Lamps Schematics - Export Only
Master Electrical Component List
Body Control System Description and Operation
Controlled/Monitored Lock, Theft Deterrent, Brake References
Power, Ground and Controlled/Monitored References
Park Lamps - Front
Park Lamps - Front
Door Jamb Switches
Dome Lamps
Dome Lamps
Indicator and BCM Signals
Fog Lights Schematics
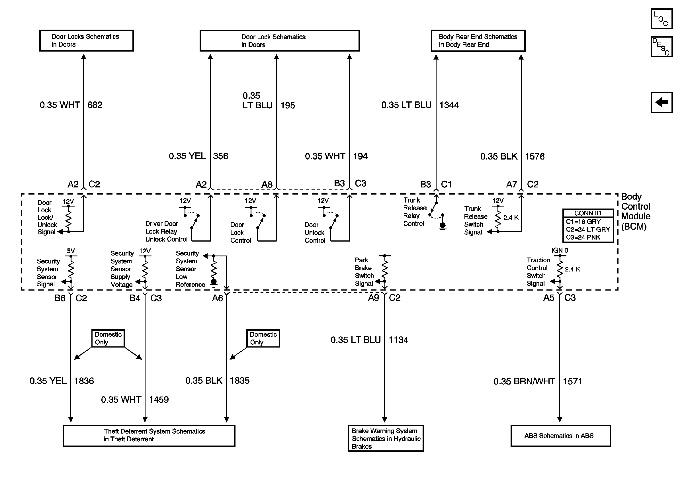
Figure
3:
Controlled/Monitored Lock, Theft Deterrent, Brake References
Master Electrical Component List
Body Control System Description and Operation
Controlled/Monitored Lighting References
Door Lock Switches
Door Lock Motors
Body Rear End Schematics
theft Deterrent Schematic
Brake Warning Schematic
Traction Control Switch