GM Service Manual Online
For 1990-2009 cars only
Makes
🢒
Oldsmobile
🢒
2003
🢒
Alero
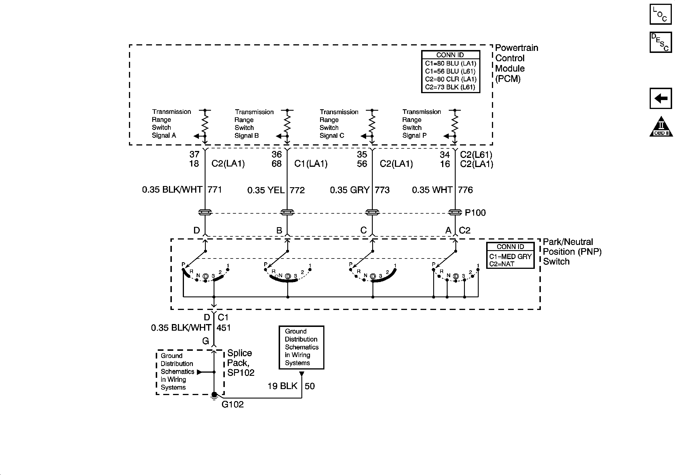
🢒 PNP Switch
PNP Switch
PNP Switch
Master Electrical Component List
Transmission General Description
Transmission Switches
OBD II Symbol Description Notice
G102 and G104
G102 and G104