GM Service Manual Online
For 1990-2009 cars only

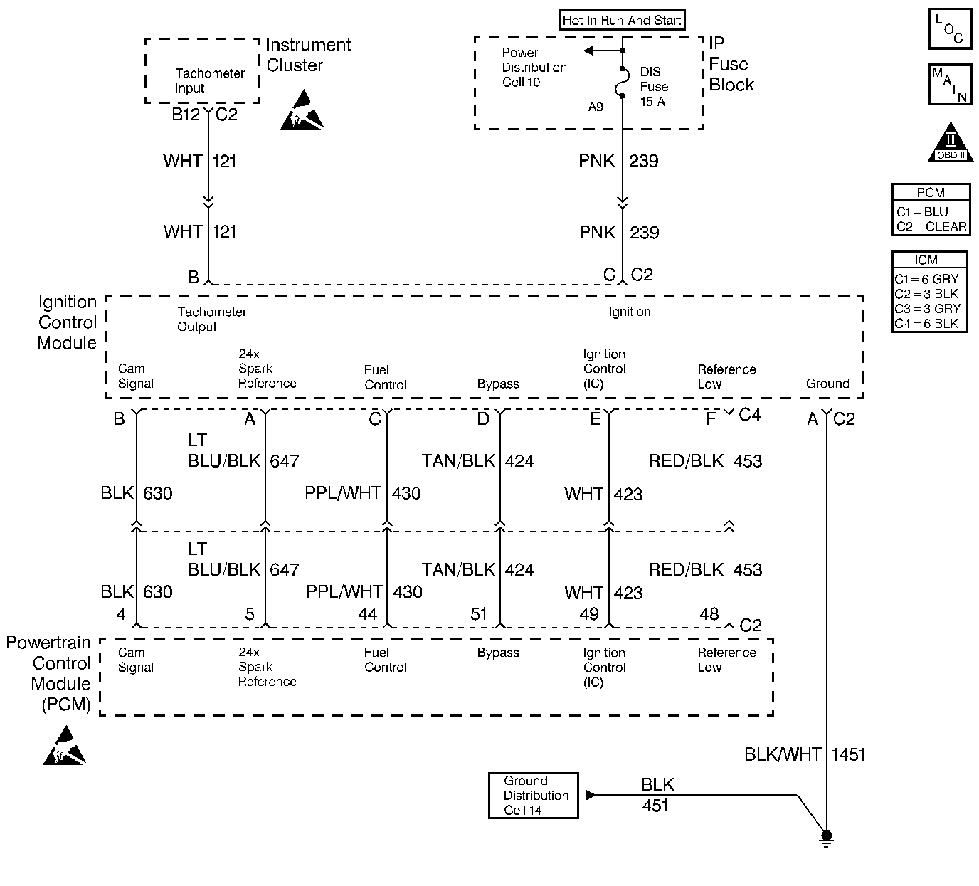
Object Number: 191628  Size: LF
Engine Controls Components
Cell 21: Ignition Control Module
OBD II Symbol Description Notice
ESD Notice
ESD Notice

Circuit Description

The PCM applies 2.5 volts on the Ref Lo voltage (CKT 453) circuit to the Ignition Control Module. Ref Lo voltage to the PCM represents the voltage difference between Ref Lo and the PCM power ground. This is needed to ensure that the PCM and IC module signals all have the same ground reference. If the Ref Lo input voltage goes too high or low, DTC P1376 will set.

Conditions for Running the DTC

DTC P0560 is not set.

Conditions for Setting the DTC

    •  Ignition Control Module Ref Lo input is + 1.4 volts or more for 1 second.
        OR
    •  Ignition Control Module Ref Lo input is - 1.01 volts or less for 1 second.

Action Taken When the DTC Sets

    •  The Malfunction Indicator Lamp (MIL) will not illuminate.
    •  No message will be displayed.

Conditions for Clearing the DTC

    •  A History DTC will clear after forty consecutive warm-up cycles with no failures of any non-emission related diagnostic test.
    •  A Last Test Failed (current) DTC will clear when the diagnostic runs and does not fail.
    • Use a scan tool to clear DTCs.
    • Interrupting PCM battery voltage may or may not clear DTCs. This practice is not recommended. Refer to Clearing Diagnostic Trouble Codes in Powertrain Control Module Description .

Diagnostic Aids

This DTC may set due to an improperly installed PCM. This may cause the PCM to not be electrically isolated from the body ground.

Using the scan tool the normal average Ref Lo voltage displayed is 0.00 volts + or - 0.20 volts.

Test Description

The numbers below refer to the step numbers on the Diagnostic Table.

  1. If the snapshot ignition ground voltage is 1.1 volt or less, this means that the PCM ground voltage is floating high causing P1376 to set.

  2. Voltage measured at ignition control module connector C4 terminal F should be less than 0.1 volt. If the voltage is higher, then the module must have a bad ground causing the module to try to ground through the Ref Lo input to the PCM.

Step

Action

Value(s)

Yes

No

1

Did you perform the Powertrain On-Board Diagnostic (OBD) System Check?

--

Go to Step 2

Go to Powertrain On Board Diagnostic (OBD) System Check

2

  1. Turn the key ON.
  2. Using a scan tool select DTC Failure Rec.
  3. Check the Ref Volts Low display for when this DTC set.

Was the Ref Volts Low voltage the same or more than the value specified?

1.4 volts

Go to Step 3

Go to Step 8

3

  1. Record fluid life indexes, turn the key to LOCK and wait 30 seconds.
  2. Disconnect PCM connector C2.
  3. Disconnect IC module connector C4.
  4. Turn the key ON.
  5. Using DMM J 39200 measure the voltage to ground at PCM connector C2 terminal 48.

Is the voltage more than the value specified?

0.1 volts

Go to Step 9

Go to Step 4

4

Measure the resistance between IC module connector C4 terminal F and PCM connector C2 terminal 48.

Is the resistance the same or more than the value specified?

5 ohms

Go to Step 10

Go to Step 5

5

With key ON, measure the voltage to ground at IC module connector C4 pin F (module side).

Is the voltage the same or more than the value specified?

0.1 volts

Go to Step 6

Fault not present. Go to Diagnostic Aids

6

  1. Turn the key to LOCK.
  2. Disconnect IC module connector C2.
  3. Measure the resistance to ground at IC module connector C2 terminal A.

Is the resistance the same or more than the value specified?

5 ohms

Go to Step 11

Go to Step 7

7

  1. Check terminal contact at IC module and PCM connectors.
  2. Check PCM and IC module ground connections.
  3. Repair any connection if needed.
  4. Reconnect all connectors.
  5. Clear this DTC.
  6. Start the engine.

Does this DTC reset?

--

Go to Step 13

Fault not present

Go to Diagnostic Aids

8

  1. Turn the key to LOCK.
  2. Disconnect both PCM connectors.
  3. Using DMM J 39200 measure the resistance to ground at terminals 21 and 60 for both connectors.

Is the resistance at any terminal more than the value specified?

5 ohms

Go to Step 12

Go to Powertrain Control Power and Ground Check

9

Repair the short to voltage on the reference low circuit. Refer to Wiring Repairs in Wiring Systems.

Is the repair complete?

--

Go to Powertrain Control Module Diagnosis for Verify Repair

--

10

Repair the open in the reference low circuit. Refer to Wiring Repairs in Wiring Systems.

Is the repair complete?

--

Go to Powertrain Control Module Diagnosis for Verify Repair

--

11

Repair the open in the GND circuit to the IC module. Refer to Wiring Repairs in Wiring Systems.

Is the repair complete?

--

Go to Powertrain Control Module Diagnosis for Verify Repair

--

12

Repair the open in the circuits that had high resistance. Refer to Wiring Repairs in Wiring Systems.

Is the repair complete?

--

Go to Powertrain Control Module Diagnosis for Verify Repair

--

13

Replace the ignition control module. Refer to Ignition Control Module Replacement .

Is the replacement complete?

--

Go to Powertrain Control Module Diagnosis for Verify Repair

--