GM Service Manual Online
For 1990-2009 cars only
Makes
🢒
Oldsmobile
🢒
2002
🢒
Aurora
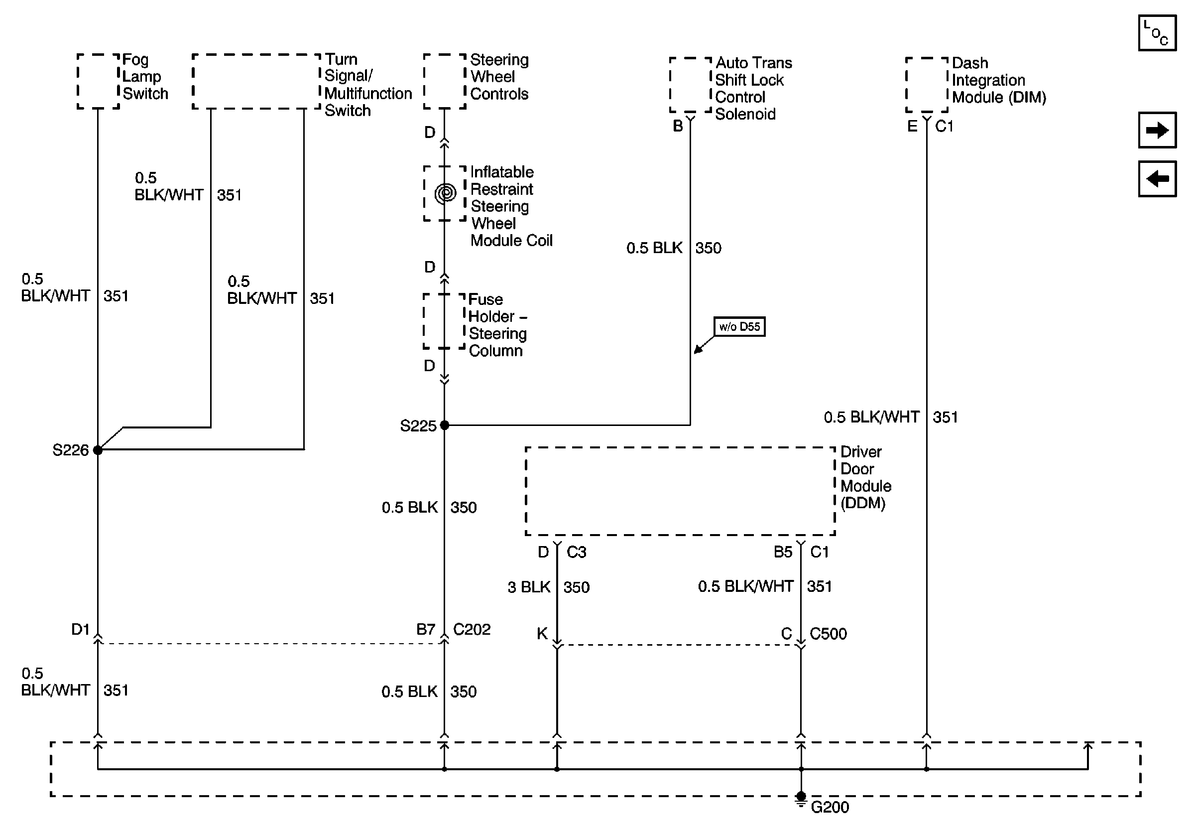
🢒 G200
G200
G200
Master Electrical Component List
G201 (1 of 2)
G106, G107 and G101