GM Service Manual Online
For 1990-2009 cars only
Figure 1:

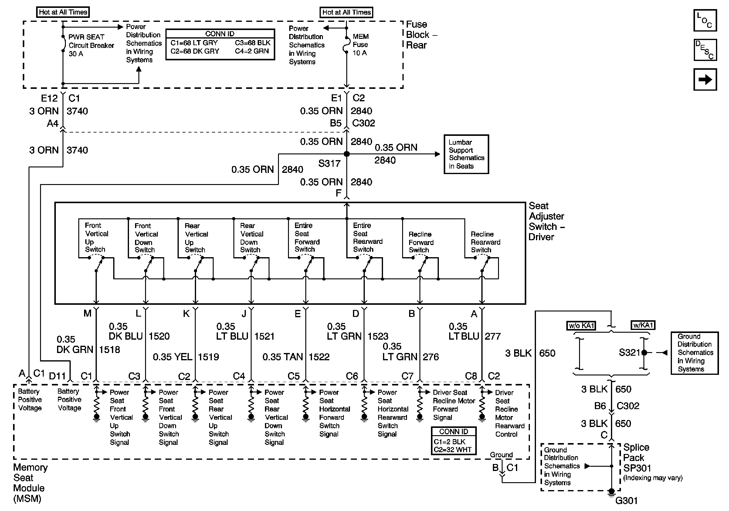
Power, Ground, Driver Seat Adjuster Switch and MSM


Object Number: 793594  Size: FS
Master Electrical Component List
Memory Seats Description and Operation
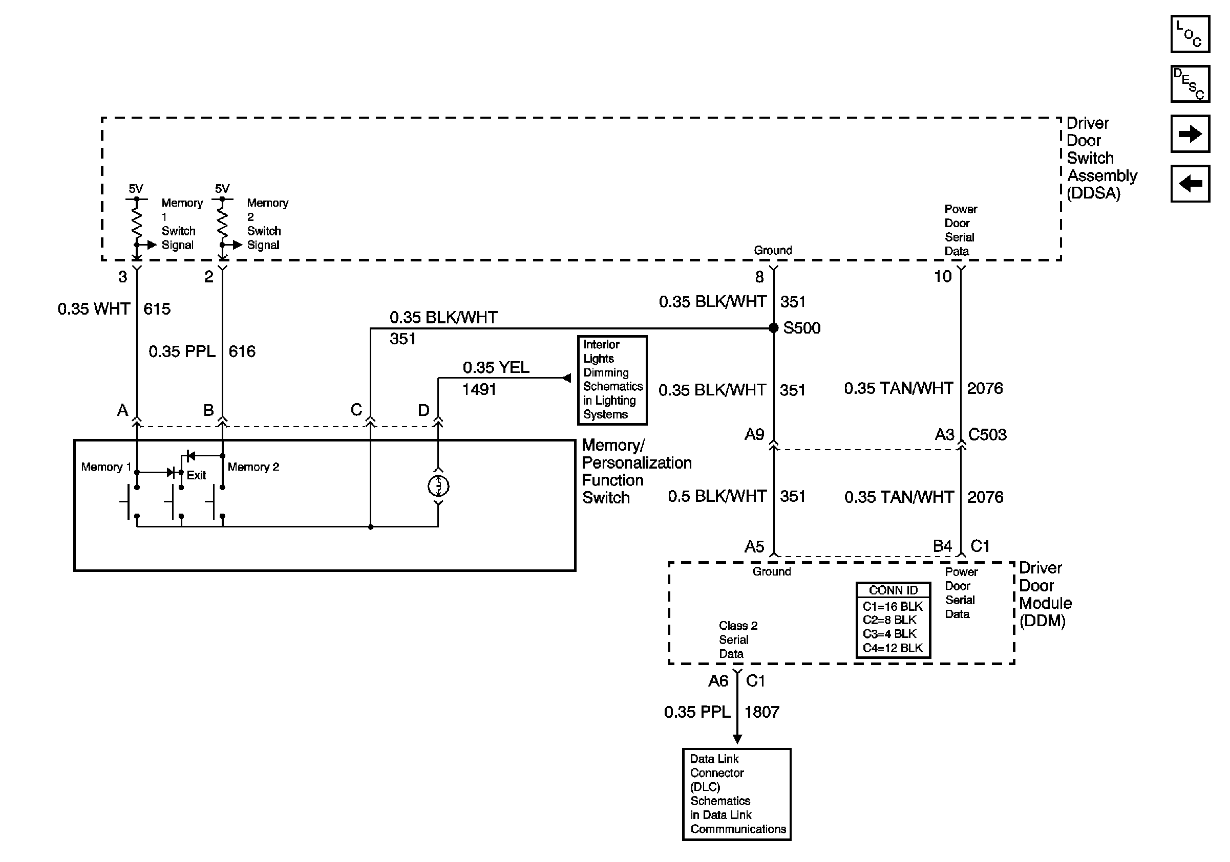
Memory Function Switch
G301, 2 of 2
G301, 2 of 2
Driver Seat Lumbar (w/ A45)
PWR WDO and PWR SEAT Circuit Breakers (Fuse Block-Rear)
Battery Feed to the Fuse Block-Rear
Battery Feed to the Fuse Block-Rear
Figure 2:

Memory Function Switch


Object Number: 765568  Size: FS
Master Electrical Component List
Memory Seats Description and Operation
Power, Ground, Driver Seat Adjuster Switch and MSM
Serial Data Class 2
Front Door Dimming
Figure 3:

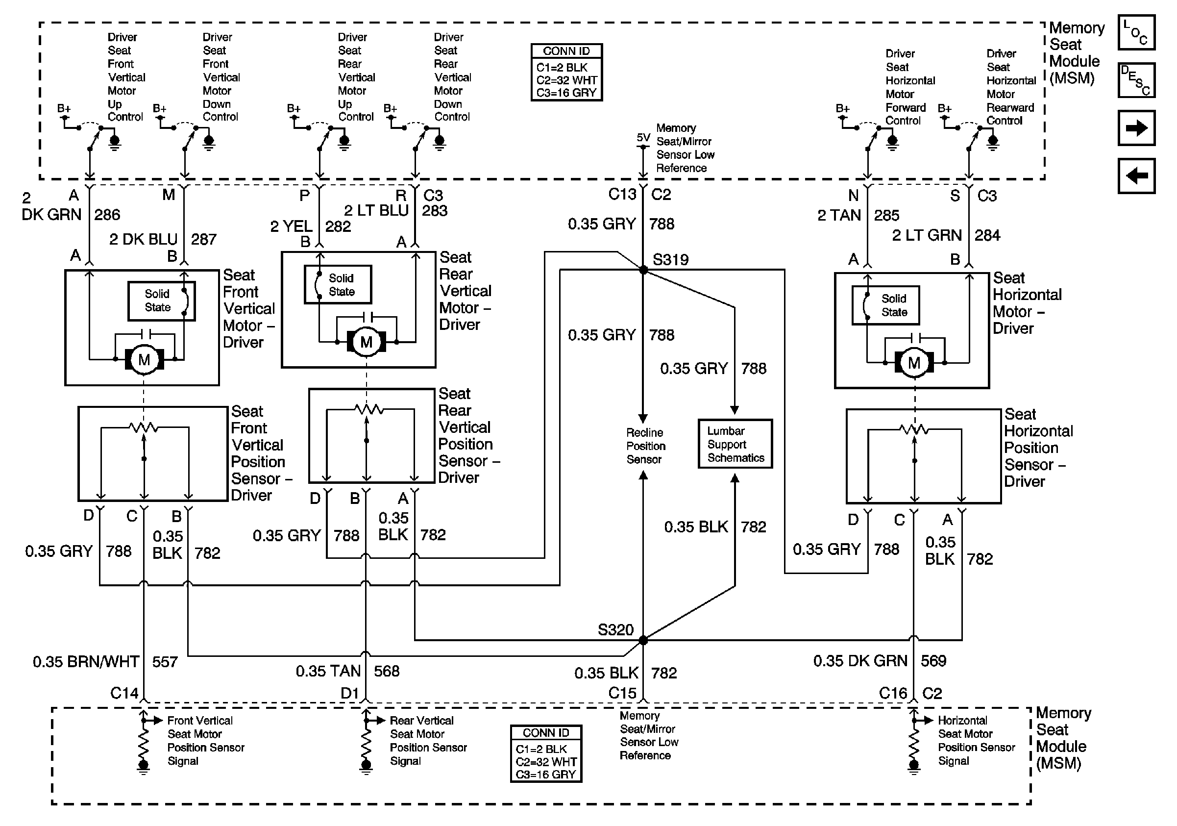
Driver Seat Vertical and Horizontal Motors and Sensors


Object Number: 814215  Size: FS
Master Electrical Component List
Memory Seats Description and Operation
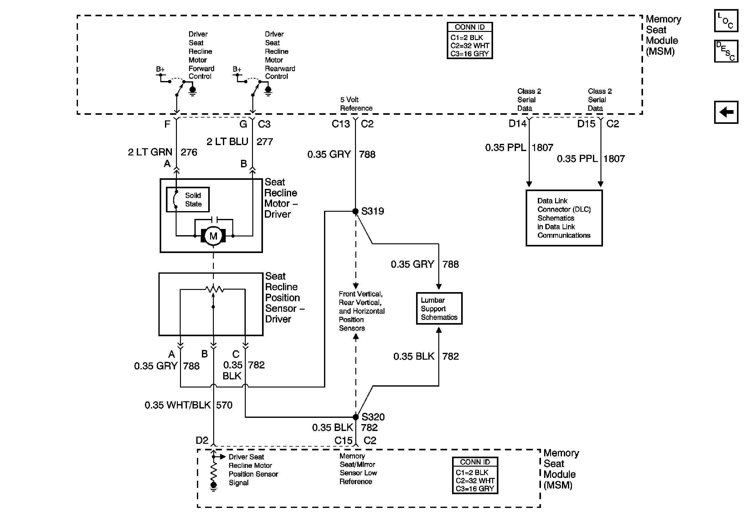
Driver Seat Recline Motor and Sensor
Memory Function Switch
Driver Seat Lumbar (w/ A45)
Figure 4:

Driver Seat Recline Motor and Sensor


Object Number: 814213  Size: FS
Master Electrical Component List
Memory Seats Description and Operation
Driver Seat Vertical and Horizontal Motors and Sensors
Serial Data Class 2
Driver Seat Lumbar (w/ A45)