GM Service Manual Online
For 1990-2009 cars only
Makes
🢒
Oldsmobile
🢒
2003
🢒
Aurora
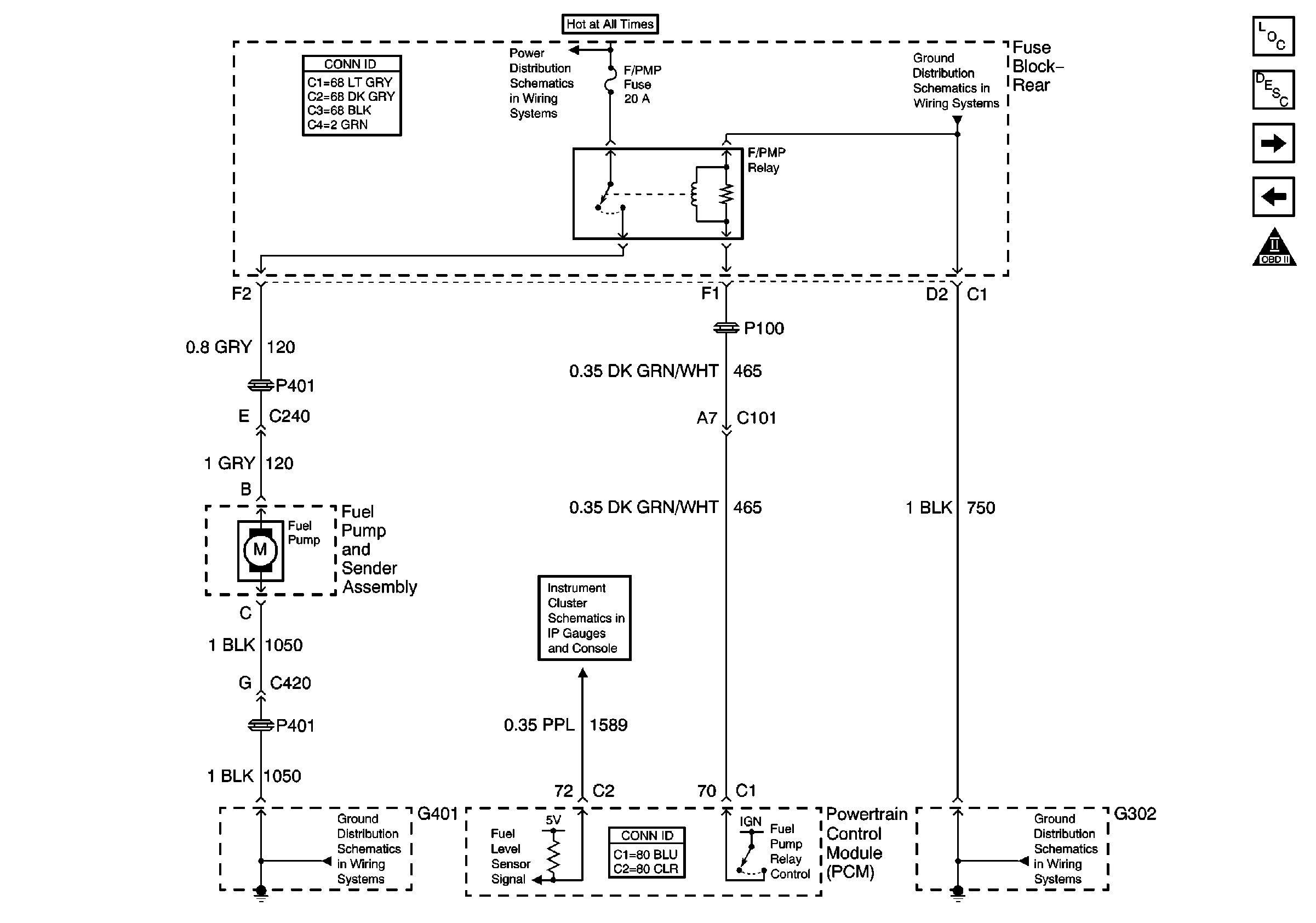
🢒 Fuel Pump and Sender Assembly and Controls
Fuel Pump and Sender Assembly and Controls
Fuel Pump and Sender Assembly and Controls
Master Electrical Component List
Fuel System Description
Fuel Injectors
PCM Inputs
OBD II Symbol Description Notice
Battery Feed to the Fuse Block-Rear
G302
G401 (1 of 2)
G302
Gauges