GM Service Manual Online
For 1990-2009 cars only
Makes
🢒
Oldsmobile
🢒
2003
🢒
Aurora
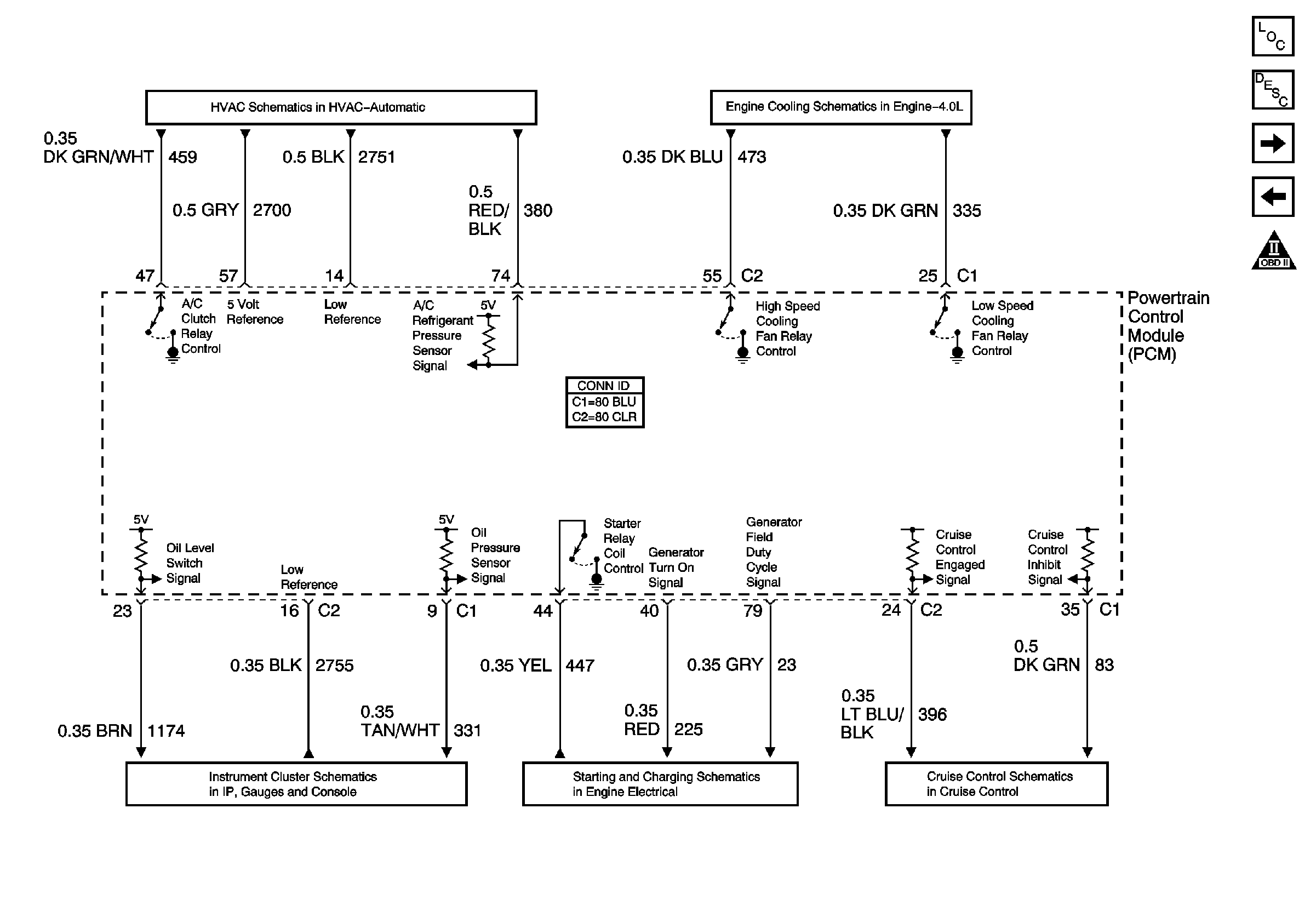
🢒 PCM Controls (1 of 2)
PCM Controls (1 of 2)
PCM Controls (1 of 2)
Master Electrical Component List
Powertrain Control Module Description
PCM Controls (2 of 2)
Single Air Pump System
OBD II Symbol Description Notice
Cooling Fans and Relays
Compressor Control W/L47 (V8)
Indicators
Starter Solenoid Controls
CCM, PCM Controls and Vehicle Speed Input