GM Service Manual Online
For 1990-2009 cars only
Makes
🢒
Oldsmobile
🢒
2003
🢒
Aurora
🢒 Ignition Control Modules
Ignition Control Modules
Igntion Control Modules
Master Electrical Component List
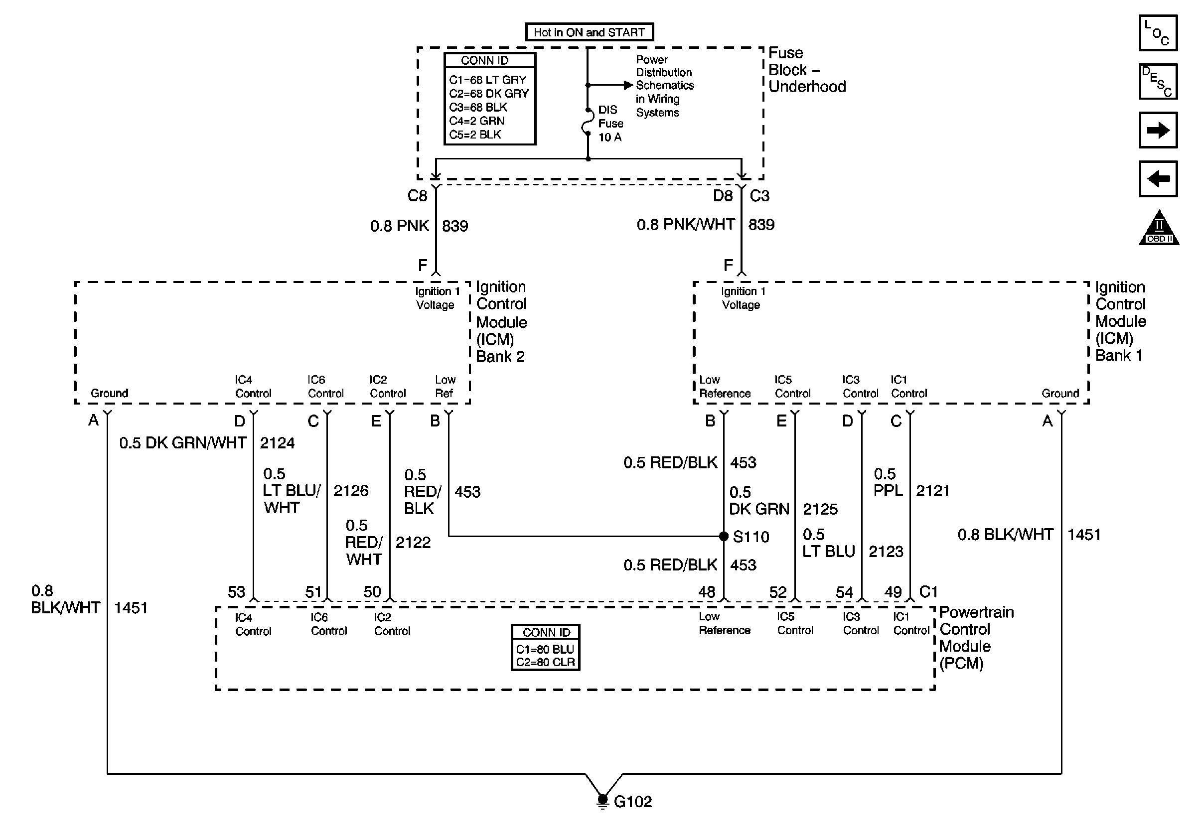
Electronic Ignition (EI) System Description
Camshaft and Crankshaft Position Sensors, TCC/Cruise Release Switch
Ignition Switch and Controls
OBD II Symbol Description Notice
Battery Feed to the Fuse Block-Underhood