GM Service Manual Online
For 1990-2009 cars only

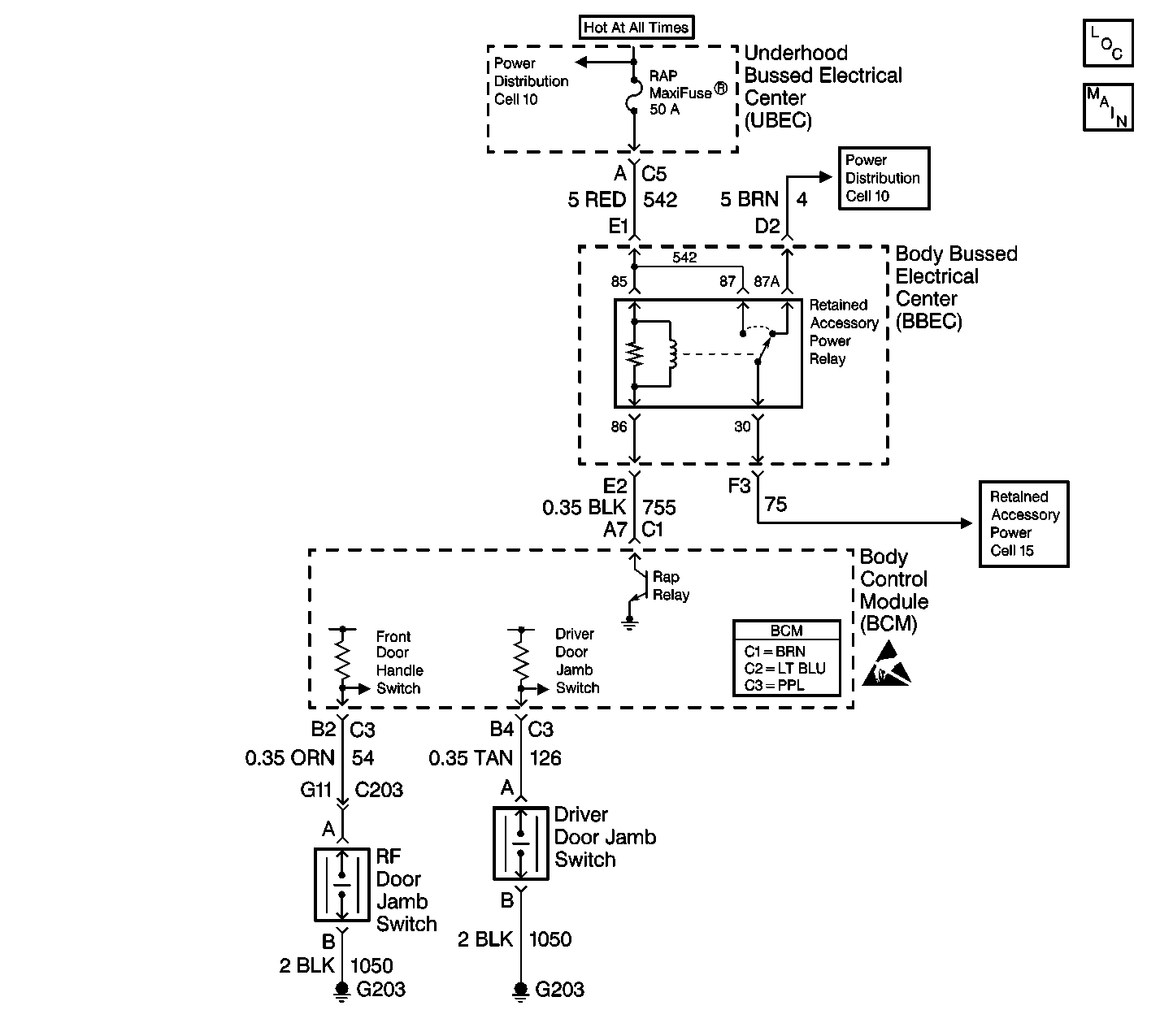
Object Number: 357941  Size: LF
Body Control Module Components
Cell 51: Passlock Sensor
Power Distribution Schematics
Power Distribution Schematics
Retained Accessory Power (RAP) Schematics
Handling ESD Sensitive Parts Notice

Circuit Description

The retained accessory power function allows certain systems to operate for 20 minutes after the ignition switch is turned OFF. Examples of systems that retain power include the following systems:

    • The radio
    • Power windows
    • The sunroof

The BCM monitors the following items:

    • The ignition switch position
    • The mini wedge (door jamb) switches
    • The voltage on CKT 755

The BCM will command the RAP relay to turn ON by grounding CKT 755 when the following conditions exist:

    • All of the doors are closed.
    • The ignition switch is in the OFF position.

DTC B1477 will set if the following conditions exist:

    • The BCM detects an open or a short to ground in CKT 755.
    • The RAP relay is commanded ON.

Conditions for Setting the DTC

    • The BCM does not detect battery voltage on CKT 755 (open or shorted to ground) with the ignition switch in the OFF position.
    • The system voltage is between 9.0-16.0 volts.
    • The above conditions exist for 0.5 seconds.

Action Taken When the DTC Sets

    • If CKT 755 is open, the following items will not operate if the ignition switch is turned OFF and all of the doors are CLOSED:
       - The radio
       - Power windows
       - The sunroof
    • If CKT 755 is shorted to ground, the following items will not operate if the ignition switch is turned OFF:
       - The radio
       - Power windows
       - The sunroof

Conditions for Clearing the MIL/DTC

    • DTC B1477 will clear immediately when one of the following actions occurs:
       - The condition that sets the fault is corrected when the ignition is in the OFF position.
       - The next ignition cycle begins.
    • A history DTC will clear after 100 consecutive ignition cycles without a fault present.
    • History and current DTCs can be cleared using a scan tool.

Diagnostic Aids

       Important: Use the appropriate probe from the J 35616 connector test adapter kit for any probing of the bussed electrical centers (BECs) in this table. Use of the appropriate probe prevents damage to the BECs.

    • Always diagnose the first current DTC that is listed on the scan tool.
    • Verify that the scan tool displays DTC B1477 as a current code before you perform diagnostics.
    • Inspect the following components:
       - The wiring
       - The terminals
       - The connectors
    • Refer to Wiring Systems for intermittent and poor connections.

Test Description

The numbers below refer to the step numbers on the diagnostic table.

  1. This step verifies the condition of the RAP relay fuse and CKT 542 to the body bussed electrical center (BBEC).

  2. This step determines if CKT 755 (BLK) is shorted to ground.

  3. This step determines if the BCM is operating correctly.

  4. This step determines if CKT 542 is open to the RAP relay in the BBEC.

  5. This step determines if one of the following conditions exists:

  6. • CKT 542 (RED) is shorted to ground.
    • CKT 542 (RED) is open in the UBEC.

Step

Action

Value(s)

Yes

No

1

Was the BCM Diagnostic System Check performed?

--

Go to Step 2

Go to Diagnostic System Check - Body Control System

2

  1. Turn the ignition switch to the OFF position.
  2. Remove the key from the ignition.
  3. Open a door (RAP OFF).
  4. Observe the radio and the power windows.

Do the radio and the power windows operate?

--

Go to Step 3

Go to Step 4

3

  1. Turn the ignition switch to the OFF position.
  2. Disconnect BCM connector C1 (BRN). Remove the comb from the connector.
  3. Use a J 39200 digital multimeter (DMM) in order to backprobe between CKT 755 (BLK) cavity A7 of BCM connector C1 to ground.

Does the J 39200 read battery voltage?

--

Go to Step 15

Go to Step 14

4

  1. Turn the ignition switch to the ON position.
  2. Verify that the power door locks and the power mirrors operate.

Do the power door locks and the power mirrors operate?

--

Go to Step 9

Go to Step 14

5

Connect a test lamp between each side of the RAP fuse and ground.

Does the test lamp light on both sides of the RAP fuse?

--

Go to Step 13

Go to Step 6

6

Does the test lamp light on one side of the fuse?

--

Go to Step 7

Go to Step 8

7

Locate and repair the short to ground in CKT 542 (RED) in the BBEC between the UBEC and the RAP relay (in the BBEC).

Is the repair complete?

--

Go to Step 16

--

8

If the test lamp does not light on either side of the fuse, replace the UBEC.

Is the repair complete?

--

Go to Step 16

--

9

  1. Turn the ignition switch to the OFF position.
  2. Disconnect BCM connector C1 (BRN). Remove the comb from the connector.
  3. Use a J 39200 DMM in order to backprobe between CKT 755 (BLK) cavity A7 and ground.

Does the J 39200 DMM read battery voltage?

--

Go to Step 15

Go to Step 10

10

  1. Disconnect the RAP relay from the Body Bussed Electrical Center (BBEC).
  2. Use a J 39200 DMM in order to measure the resistance between the RAP relay coil terminal 85 and terminal 86.

Is the resistance less than or equal to the specified value?

65 ohms

Go to Step 11

Go to Step 12

11

Locate and repair the open in CKT 755 (BLK) between the BCM and the RAP relay in the BBEC.

Is the repair complete?

--

Go to Step 16

--

12

Replace the RAP relay in the BBEC.

Is the repair complete?

--

Go to Step 16

--

13

Locate and repair the open in CKT 542 (RED) between the UBEC and the RAP relay.

Is the repair complete?

--

Go to Step 16

--

14

Locate and repair the short to ground in CKT 755 (BLK) between the BCM and the RAP relay.

Is the repair complete?

--

Go to Step 16

--

15

  1. Replace the BCM.
  2. Program the correct calibrations into the BCM.
  3. Perform the learn procedure.

Is the repair complete?

--

Go to Step 16

--

16

Clear the DTCs.

Is the repair complete?

--

Go to Diagnostic System Check - Body Control System

--