GM Service Manual Online
For 1990-2009 cars only

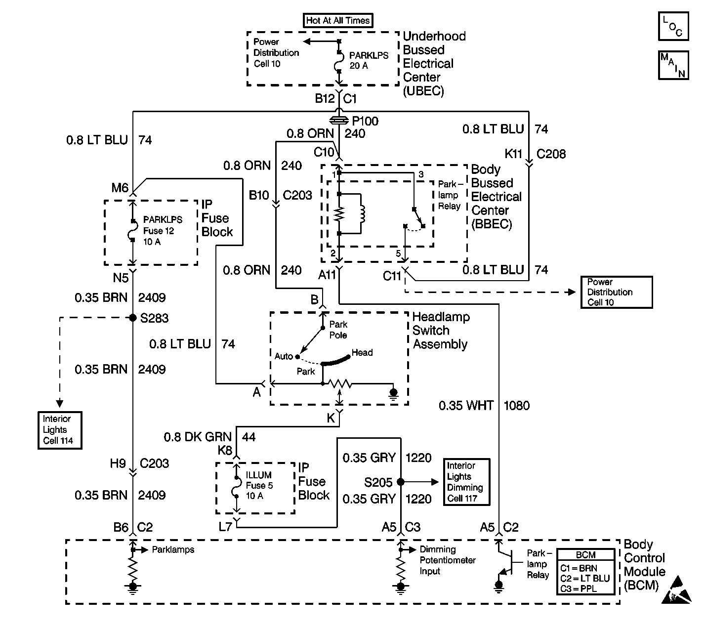
Object Number: 357928  Size: LF
Body Control Module Components
Body Control System Schematics
Power Distribution Schematics
Power Distribution Schematics
Interior Lights Schematics
Interior Lights Dimming Schematics
Handling ESD Sensitive Parts Notice

Circuit Description

The body control module (BCM) monitors the IP dimming switch voltage on CKT 1220 from the dimmer switch. The dimmer switch is a thumb wheel switch that is part of the headlamp and panel dimmer switch. The dimmer switch controls the IP dimming by sending voltage to the BCM on CKT 1220 in order to indicate the position of the thumb wheel when the headlamps are ON. The thumb wheel dimmer switch also provides dimming for the following components:

    • The back lights
    • The instrument panel cluster
    • The radio
    • The overhead console

The BCM will set a related DTC if any of the following conditions exist:

    • The headlamps are commanded off and the thumb wheel dimmer switch is shorted to battery.
    • CKT 1220 is shorted to battery.

Conditions for Setting the DTC

    • The headlamps are commanded off.
    • The thumb wheel is turned to the MAXIMUM DIM position.
    • CKT 1220 is shorted to battery voltage.
    • The system voltage is between 9.0-16.0 volts.
    • The above conditions exist for 0.5 seconds.

Action Taken When the DTC Sets

The instrument panel lights remain ON at all times.

Conditions for Clearing the MIL/DTC

    • A current DTC will clear after the next ignition cycle that does not contain a fault.
    • A history DTC will clear after 100 consecutive ignition cycles without a fault present.
    • History and current DTCs can be cleared using a scan tool.

Diagnostic Aids

    • Always diagnose the first DTC that is listed on the scan tool.
    • Verify that the scan tool displays B2613 as a current code before you perform diagnostics.
    • Inspect for loose or poor connections at all of the related components.
    • Refer to Wiring Systems for intermittent or poor connections.

Test Description

The numbers below refer to the step numbers on the diagnostic table.

  1. This step determines if either of the following conditions exists. Other DTCs will set when you disconnect the BCM connector:

  2. • The BCM is defective.
    • CKT 1220 is shorted to battery voltage.
  3. This step determines if one of the following conditions exists:

  4. • The headlamp and panel dimmer switch is defective.
    • CKT 44 is shorted to battery voltage.

Step

Action

Value(s)

Yes

No

1

Was the BCM Diagnostic System Check performed?

--

Go to Step 2

Go to Diagnostic System Check - Body Control System

2

  1. Turn the ignition switch to the OFF position.
  2. Turn the dimmer switch (thumb wheel) to the MAXIMUM DIM position.
  3. Use a scan tool in order to monitor the current DTCs.
  4. Remove the ILLUM fuse from the block.

Does the scan tool display B2585 as a current code?

--

Go to Step 3

Go to Step 4

3

  1. Continue to monitor the current DTCs.
  2. Disconnect BCM connector C3 (PPL).

Does the scan tool display B2613 as a current code?

--

Go to Step 8

Go to Step 5

4

  1. Install the ILLUM fuse.
  2. Continue to monitor the DTCs.
  3. Disconnect the headlamp and panel dimmer switch.

Does the scan tool display B2613 as a current code?

--

Go to Step 6

Go to Step 7

5

Locate and repair the short to battery in CKT 1220 (GRY) between the BCM, S205 and the ILLUM fuse located in the IP fuse block.

Is the repair complete?

--

Go to Step 9

--

6

Locate and repair the short to battery in CKT 44 (DK GRN) between the headlamp and panel dimmer switch and the IP fuse block.

Is the repair complete?

--

Go to Diagnostic System Check - Body Control System

--

7

Replace the headlamp and panel dimmer switch.

Is the repair complete?

--

Go to Diagnostic System Check - Body Control System

--

8

  1. Replace the BCM.
  2. Program the correct calibrations into the BCM.
  3. Perform the learn procedure.

Is the repair complete?

--

Go to Diagnostic System Check - Body Control System

--

9

Clear the DTCs.

Is the repair complete?

--

Go to Diagnostic System Check - Body Control System

--