The 2-3 shift solenoid (SS) valve controls the fluid flow acting on the 2-3 shift valves. The 2-3 SS valve is a normally-open exhaust valve that is used with the 1-2 SS valve in order to allow four different shifting combinations. The solenoid attaches to the control valve body within the transmission. The 2-3 SS valve receives ignition voltage through circuit 1020. The powertrain control module (PCM) controls the solenoid by providing the ground path on circuit 1223.
When the PCM detects a continuous open or short to ground in the 2-3 SS valve circuit or the 2-3 SS valve, then DTC P0758 sets. DTC P0758 is a type A DTC.
The system voltage is 10-18 volts.
DTC P0758 sets if one of the following conditions occurs for 5 seconds:
The PCM commands the solenoid ON and the voltage feedback remains high (B+).
The PCM commands the solenoid OFF and the voltage feedback remains low (0 volts).
| • | The PCM illuminates the malfunction indicator lamp (MIL). |
| • | The PCM commands third gear only. |
| • | The PCM commands maximum line pressure. |
| • | The PCM inhibits TCC engagement. |
| • | The PCM freezes shift adapts from being updated. |
| • | The PCM records the operating conditions when the Conditions for Setting the DTC are met. The PCM stores this information as Freeze Frame and Failure Records. |
| • | The PCM stores DTC P0758 in PCM history. |
| • | The PCM turns OFF the MIL during the third consecutive trip in which the diagnostic test runs and passes. |
| • | A scan tool can clear the MIL/DTC. |
| • | The PCM clears the DTC from PCM history if the vehicle completes 40 warm-up cycles without an emission-related diagnostic fault occurring. |
| • | The PCM cancels the DTC default actions when the fault no longer exists and/or the ignition switch is OFF long enough in order to power down the PCM. |
| • | Inspect the connectors at the PCM, the 2-3 SS valve and all other circuit connecting points for an intermittent condition. Refer to Testing for Intermittent Conditions and Poor Connections in Wiring Systems. |
| • | Inspect the circuit wiring for an intermittent condition. Refer to Testing for Electrical Intermittents in Wiring Systems. |
| • | Refer to the Shift Solenoid Valve State and Gear Ratio table. |
| • | A faulty ignition switch may set this code. |
The numbers below refer to the step numbers on the diagnostic table.
This step tests the function of the 2-3 SS valve and the automatic transmission (AT) wiring harness assembly.
This step tests for power to the 2-3 SS valve from the ignition through the fuse.
This step tests the ability of the PCM and the wiring to control the ground circuit.
This step measures the resistance of the AT wiring harness assembly and the 2-3 SS valve.
Step | Action | Value(s) | Yes | No | ||||||||
|---|---|---|---|---|---|---|---|---|---|---|---|---|
1 | Did you perform the Powertrain Diagnostic System Check? | -- | Go to Powertrain On Board Diagnostic (OBD) System Check (2.2L) in Engine Controls | |||||||||
2 |
Important: Before clearing the DTC, use the Scan Tool in order to record the Freeze Frame and Failure Records. Using the Clear Info function erases the Freeze Frame and Failure Records from the PCM. Are any of the following DTCs also set?
| -- | ||||||||||
3 | Inspect the CLSTR fuse for an open. Refer to General Electrical Diagnosis in Wiring Systems. Is the fuse open? | -- | ||||||||||
Use the Scan Tool in order to command the 2-3 SS valve ON and OFF three times while listening to the bottom of the transmission pan (a stethoscope may be necessary). Does the solenoid click when commanded? | -- | Go to Diagnostic Aids | ||||||||||
Refer to Automatic Transmission Inline Harness Connector End View . Does the test lamp illuminate? | -- | |||||||||||
Refer to Automatic Transmission Inline Harness Connector End View . Does the test lamp turn ON and OFF with each command? | -- | |||||||||||
7 | Is the test lamp always ON? | -- | ||||||||||
Refer to Automatic Transmission Inline Harness Connector End View . Does the resistance measure within the specified range? | 19-31 ohms | |||||||||||
9 | Measure the resistance from terminal B to ground, and from terminal E to ground. Do both readings measure greater than the specified value? | 250 K ohms | Go to Diagnostic Aids | |||||||||
10 |
Does the resistance measure within the specified range? | 19-31 ohms | ||||||||||
11 |
Do both readings measure greater than the specified value? | 250 K ohms | ||||||||||
12 |
Important: The condition that affects this circuit may exist in other connecting branches of the circuit. Refer to Power Distribution Schematics in Wiring Systems for complete circuit distribution. Test the power feed circuit (CKT 1020) of the 2-3 SS valve for a short to ground between the IP fuse block and the AT inline 20-way connector. Refer to Circuit Testing and Wiring Repairs in Wiring Systems. Did you find and correct the condition? | -- | ||||||||||
13 |
Important: The condition that affects this circuit may exist in other connecting branches of the circuit. Refer to Power Distribution Schematics in Wiring Systems for complete circuit distribution. Test the power feed circuit (CKT 839) of the 2-3 SS valve for a short to ground between the AT inline 20-way connector and the 2-3 SS valve. Refer to Circuit Testing in Wiring Systems. Did you find a short to ground condition? | -- | ||||||||||
14 |
Did you complete the replacement? | -- | -- | |||||||||
15 |
Important: The condition that affects this circuit may exist in other connecting branches of the circuit. Refer to Power Distribution Schematics in Wiring Systems for complete circuit distribution. Test the power feed circuit (CKT 1020) of the 2-3 SS valve for an open. Refer to Circuit Testing and Wiring Repairs in Wiring Systems. Did you find and correct the condition? | -- | -- | |||||||||
16 | Test the control circuit (CKT 1223) of the 2-3 SS valve for a short to ground between the PCM connector C2 and the AT inline 20-way connector. Refer to Circuit Testing and Wiring Repairs in Wiring Systems. Did you find and correct the condition? | -- | ||||||||||
17 | Test the control circuit (CKT 1223) of the 2-3 SS valve for an open or short to power between the PCM connector C2 and the AT inline 20-way connector. Refer to Circuit Testing and Wiring Repairs in Wiring Systems. Did you find and correct the condition? | -- | ||||||||||
18 | Replace the AT wiring harness assembly. Refer to Valve Body . Did you complete the replacement? | -- | -- | |||||||||
19 | Replace the 2-3 SS valve. Refer to Valve Body . Did you complete the replacement? | -- | -- | |||||||||
20 | Replace the PCM. Refer to Powertrain Control Module Replacement/Programming in Engine Controls. Did you complete the replacement? | -- | -- | |||||||||
21 | Perform the following procedure in order to verify the repair:
Has the test run and passed? | -- | System OK |
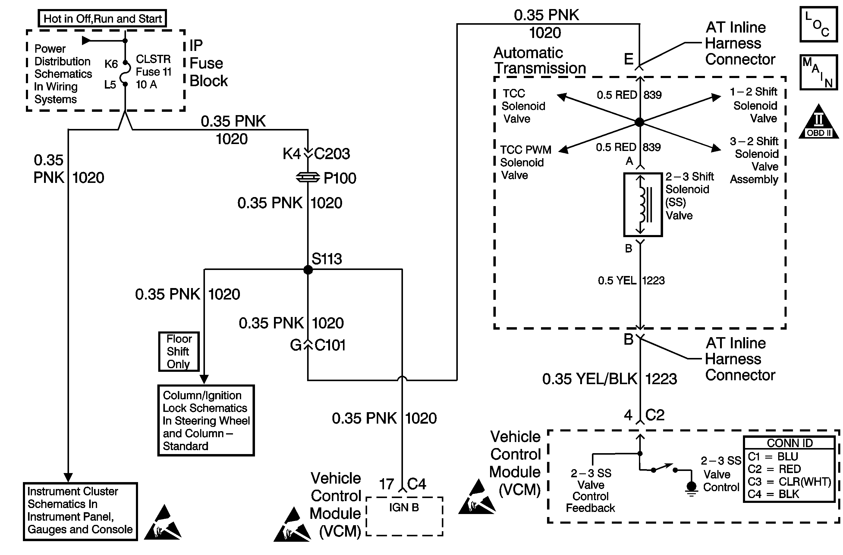
The 2-3 shift solenoid (SS) valve controls the fluid flow acting on the 2-3 shift valves. The solenoid is a normally-open exhaust valve. With the 1-2 SS valve, the 2-3 SS valve allows four different shifting combinations. The solenoid attaches to the control valve body within the transmission. The 2-3 SS valve receives ignition voltage through circuit 1020. The vehicle control module (VCM) controls the solenoid by providing the ground path on circuit 1223.
When the VCM detects a continuous open, short to ground or short to power in the 2-3 SS valve circuit, then DTC P0758 sets. DTC P0758 is a type A DTC.
| • | The system voltage is 10-19 volts. |
| • | The engine speed is greater than 450 RPM for 5 seconds. |
| • | The engine is not in fuel cutoff. |
DTC P0758 sets if one of the following conditions occurs for 5 seconds:
The VCM commands the solenoid ON and the voltage feedback remains high (B+).
The VCM commands the solenoid OFF and the voltage feedback remains low (0 volts).
| • | The VCM illuminates the malfunction indicator lamp (MIL). |
| • | The VCM commands third gear only. |
| • | The VCM commands maximum line pressure. |
| • | The VCM inhibits TCC engagement. |
| • | The VCM freezes shift adapts from being updated. |
| • | The VCM records the operating conditions when the Conditions for Setting the DTC are met. The VCM stores this information as Freeze Frame and Failure Records. |
| • | The VCM stores DTC P0758 in VCM history. |
| • | The VCM turns OFF the MIL during the third consecutive trip in which the diagnostic test runs and passes. |
| • | A scan tool can clear the MIL/DTC. |
| • | The VCM clears the DTC from VCM history if the vehicle completes 40 warm-up cycles without an emission-related diagnostic fault occurring. |
| • | The VCM cancels the DTC default actions when the fault no longer exists and/or the ignition switch is OFF long enough in order to power down the VCM. |
| • | Inspect the connectors at the VCM, the 2-3 SS valve and all other circuit connecting points for an intermittent condition. Refer to Testing for Intermittent Conditions and Poor Connections in Wiring Systems. |
| • | Inspect the circuit wiring for an intermittent condition. Refer to Testing for Electrical Intermittents in Wiring Systems. |
| • | Refer to the Shift Solenoid Valve State and Gear Ratio table. |
| • | A faulty ignition switch may set this code. |
The numbers below refer to the step numbers on the diagnostic table.
This step tests the function of the 2-3 SS valve and the automatic transmission (AT) wiring harness assembly.
This step tests for power to the 2-3 SS valve from the ignition through the fuse.
This step tests the ability of the VCM and of the wiring to control the ground circuit.
This step measures the resistance of the AT wiring harness assembly and of the 2-3 SS valve.
Step | Action | Value(s) | Yes | No | ||||||||
|---|---|---|---|---|---|---|---|---|---|---|---|---|
1 | Did you perform the Powertrain Diagnostic System Check? | -- | Go to Powertrain On Board Diagnostic (OBD) System Check (4.3L) in Engine Controls | |||||||||
2 |
Important: Before clearing the DTC, use the Scan Tool in order to record the Freeze Frame and Failure Records. Using the Clear Info function erases the Freeze Frame and Failure Records from the VCM. Are any of the following DTCs also set?
| -- | ||||||||||
3 | Inspect the CLSTR fuse for an open. Refer to General Electrical Diagnosis in Wiring Systems. Is the fuse open? | -- | ||||||||||
Use the Scan Tool in order to command the 2-3 SS valve ON and OFF three times while listening to the bottom of the transmission pan (a stethoscope may be necessary). Does the solenoid click when commanded? | -- | Go to Diagnostic Aids | ||||||||||
Refer to Automatic Transmission Inline Harness Connector End View . Does the test lamp illuminate? | -- | |||||||||||
Refer to Automatic Transmission Inline Harness Connector End View . Does the test lamp turn ON and OFF with each command? | -- | |||||||||||
7 | Is the test lamp always ON? | -- | ||||||||||
Refer to Automatic Transmission Inline Harness Connector End View . Does the resistance measure within the specified range? | 19-31 ohms | |||||||||||
9 | Measure the resistance from terminal B to ground, and from terminal E to ground. Do both readings measure greater than the specified value? | 250 K ohms | Go to Diagnostic Aids | |||||||||
10 |
Does the resistance measure within the specified range? | 19-31 ohms | ||||||||||
11 |
Do both readings measure greater than the specified value? | 250 K ohms | ||||||||||
12 |
Important: The condition that affects this circuit may exist in other connecting branches of the circuit. Refer to Power Distribution Schematics in Wiring Systems for complete circuit distribution. Test the power feed circuit (CKT 1020) of the 2-3 SS valve for a short to ground between the IP fuse block and the AT inline 20-way connector. Refer to Circuit Testing and Wiring Repairs in Wiring Systems. Did you find and correct the condition? | -- | ||||||||||
13 |
Important: The condition that affects this circuit may exist in other connecting branches of the circuit. Refer to Power Distribution Schematics in Wiring Systems for complete circuit distribution. Test the power feed circuit (CKT 839) of the 2-3 SS valve for a short to ground between the AT inline 20-way connector and the 2-3 SS valve. Refer to Circuit Testing in Wiring Systems. Did you find a short to ground condition? | -- | ||||||||||
14 |
Did you complete the replacement? | -- | -- | |||||||||
15 |
Important: The condition that affects this circuit may exist in other connecting branches of the circuit. Refer to Power Distribution Schematics in Wiring Systems for complete circuit distribution. Test the power feed circuit (CKT 1020) of the 2-3 SS valve for an open. Refer to Circuit Testing and Wiring Repairs in Wiring Systems. Did you find and correct the condition? | -- | -- | |||||||||
16 | Test the control circuit (CKT 1223) of the 2-3 SS valve for a short to ground between the VCM connector C2 and the AT inline 20-way connector. Refer to Circuit Testing and Wiring Repairs in Wiring Systems. Did you find and correct the condition? | -- | ||||||||||
17 | Test the control circuit (CKT 1223) of the 2-3 SS valve for an open or short to power between the VCM connector C2 and the AT inline 20-way connector. Refer to Circuit Testing and Wiring Repairs in Wiring Systems. Did you find and correct the condition? | -- | ||||||||||
18 | Replace the AT wiring harness assembly. Refer to Valve Body . Did you complete the replacement? | -- | -- | |||||||||
19 | Replace the 2-3 SS valve. Refer to Valve Body . Did you complete the replacement? | -- | -- | |||||||||
20 | Replace the VCM. Refer to VCM Replacement/Programming (4.3L) in Engine Controls. Did you complete the replacement? | -- | -- | |||||||||
21 | Perform the following procedure in order to verify the repair:
Has the test run and passed? | -- | System OK |