GM Service Manual Online
For 1990-2009 cars only
Makes
🢒
Oldsmobile
🢒
2003
🢒
Bravada
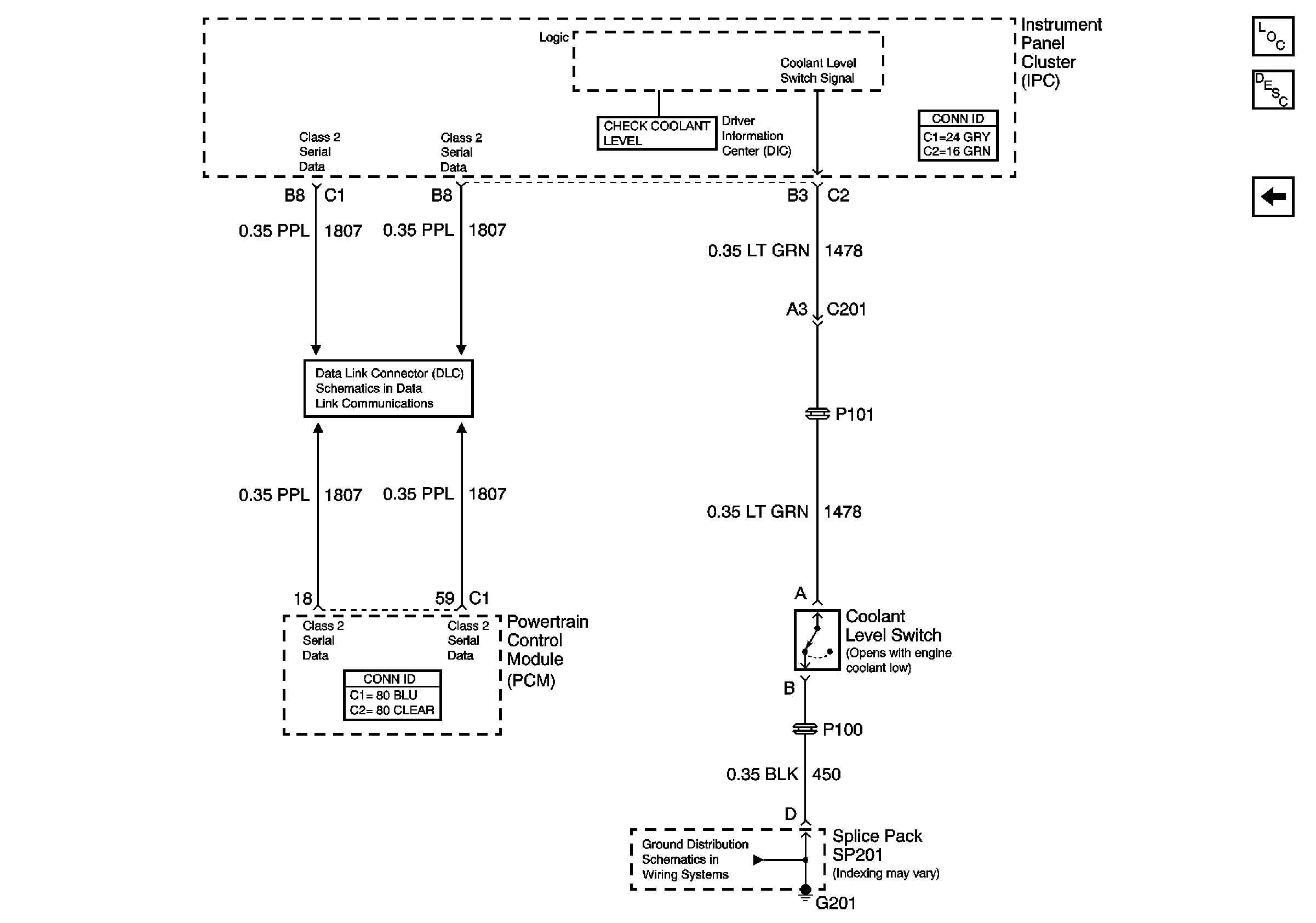
🢒 Coolant Level Switch Signal
Coolant Level Switch Signal
Coolant Level Switch
Master Electrical Component List
Cooling System Description and Operation
Cooling Fans
G201 (1 of 3)
Class 2 Serial Data (1 of 3)