GM Service Manual Online
For 1990-2009 cars only
Makes
🢒
Oldsmobile
🢒
2003
🢒
Bravada
🢒 Front Seats (w/AL2)
Front Seats (w/AL2)
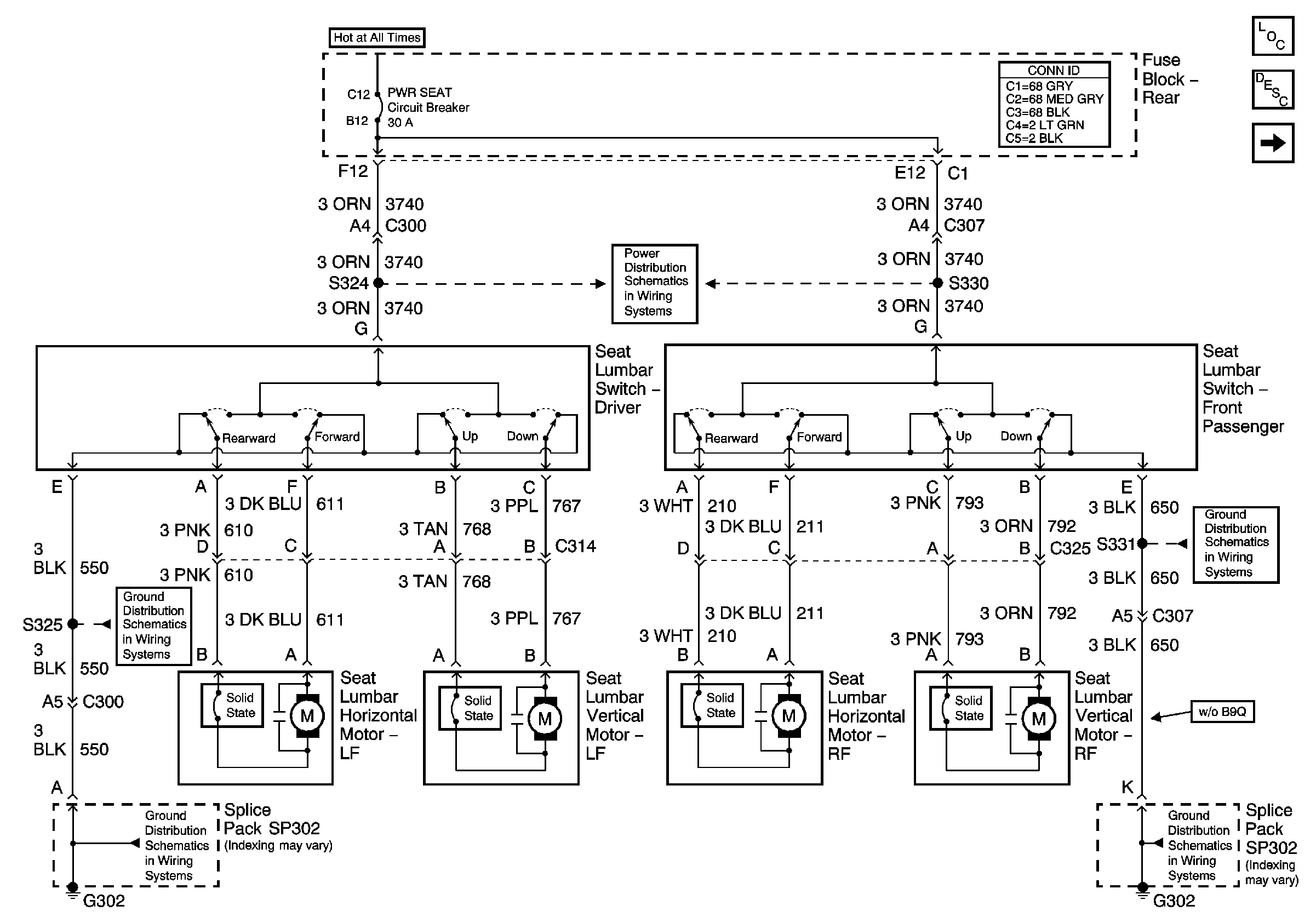
Lumbar Support Front Seats (AL2)
Master Electrical Component List
Lumbar Support Description and Operation w/o Memory-A45
Rear Seats
G302 (1 of 3)
G302 (1 of 3)
Rear Fuse Block- NAV Fuse and PWR SEAT Circuit Breaker
G302 (2 of 3)
G302 (2 of 3)