GM Service Manual Online
For 1990-2009 cars only
Makes
🢒
Oldsmobile
🢒
2003
🢒
Bravada
🢒 Rear Seats
Rear Seats
Rear Seats
Master Electrical Component List
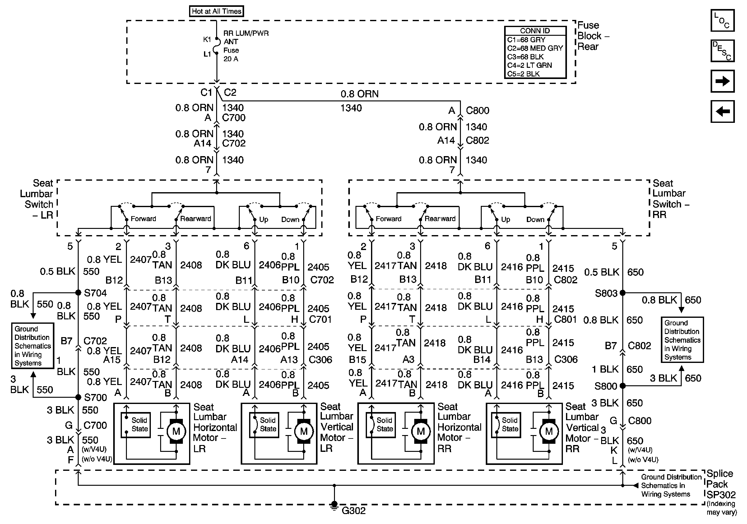
Lumbar Support Description and Operation w/o Memory-A45
Driver Adaptive Seat (w/ AC9)
Front Seats (w/AL2)
G302 (1 of 3)
G302 (1 of 3)
G302 (1 of 3)