GM Service Manual Online
For 1990-2009 cars only

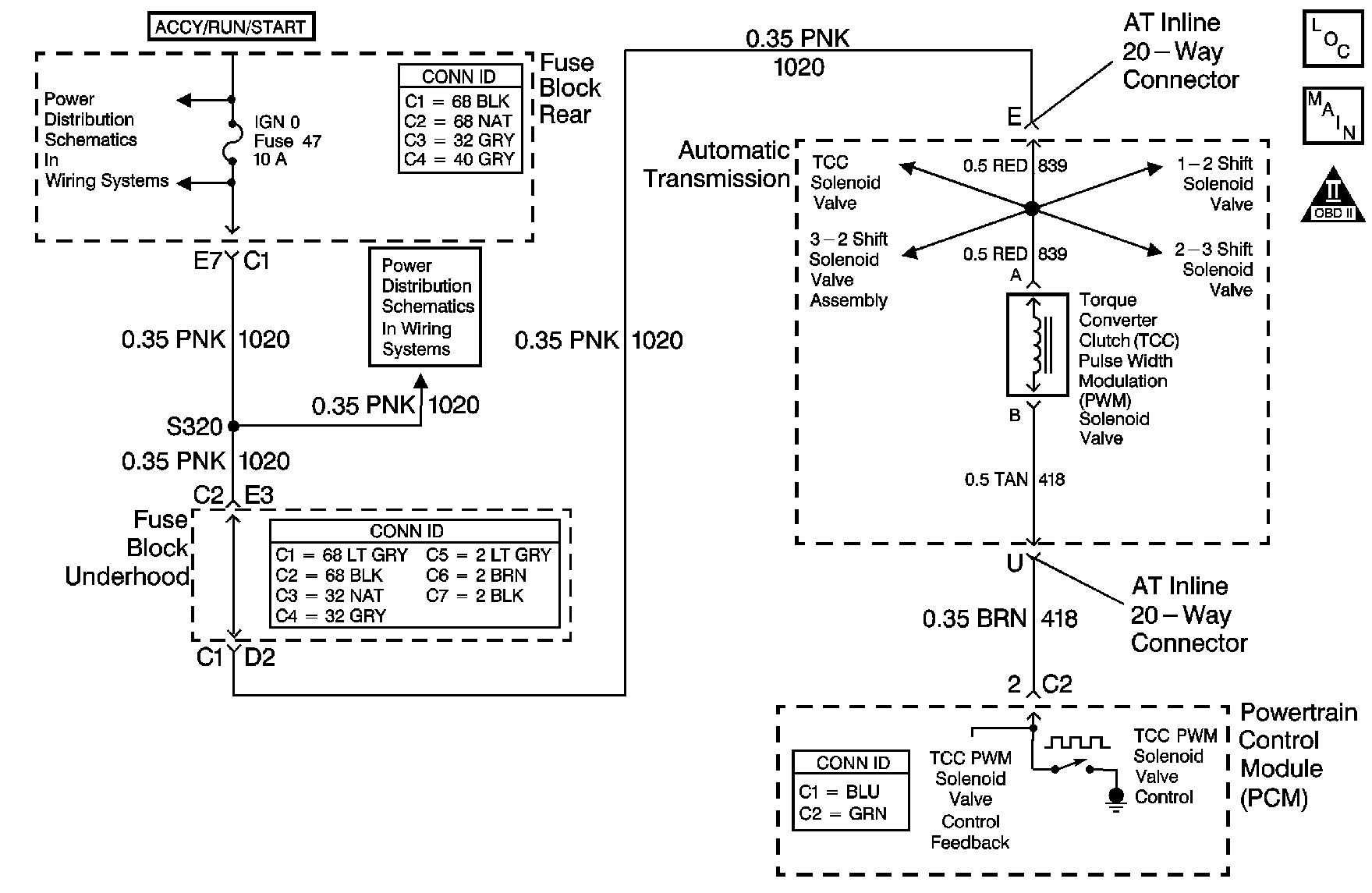
DTC P1860 4.2L


Object Number: 850501  Size: MF
Master Electrical Component List
Automatic Transmission Controls Schematics
OBD II Symbol Description Notice

Circuit Description

The torque converter clutch pulse width modulation (TCC PWM) solenoid valve controls the fluid acting on the converter clutch valve. The converter clutch valve controls the TCC application and release. The solenoid attaches to the control valve body within the transmission. The solenoid receives ignition voltage through the OFF/ON/CRANK voltage circuit. The powertrain control module (PCM) controls the solenoid by providing a ground path on the TCC PWM solenoid valve control circuit. Current flows through the solenoid coil according to the duty cycle, percentage of ON and OFF time. The TCC PWM solenoid valve provides a smooth engagement of the TCC by operating during a duty cycle percent of ON time.

When the PCM detects a continuous open, short to ground or short to power in the TCC PWM solenoid valve circuit, then DTC P1860 sets. DTC P1860 is a type B DTC.

Conditions for Running the DTC

    • The system voltage is 10-18 volts.
    • The engine speed is greater than 450 RPM for 5 seconds.
    • The engine is not in fuel cutoff.
    • The PCM commands first gear.
    • The TCC duty cycle is less than 10 percent or greater than 90 percent.

Conditions for Setting the DTC

DTC P1860 sets if one of the following conditions occurs for 5 seconds:

Condition 1

The PCM commands the solenoid ON, 90 percent, and the voltage feedback remains high, B+.

Condition 2

The PCM commands the solenoid OFF, 0 percent, and the voltage feedback remains low, 0 volt.

Action Taken When the DTC Sets

    • The PCM illuminates the malfunction indicator lamp (MIL) during the second consecutive trip in which the Conditions for Setting the DTC are met.
    • The PCM inhibits TCC engagement.
    • The PCM inhibits 4th gear if the transmission is in hot mode.
    • The PCM freezes shift adapts from being updated.
    • The PCM records the operating conditions when the Conditions for Setting the DTC are met. The PCM stores this information as Freeze Frame and Failure Records.
    • The PCM stores DTC P1860 in PCM history during the second consecutive trip in which the Conditions for Setting the DTC are met.

Conditions for Clearing the MIL/DTC

    • The PCM turns OFF the MIL during the third consecutive trip in which the diagnostic test runs and passes.
    • A scan tool can clear the MIL/DTC.
    • The PCM clears the DTC from PCM history if the vehicle completes 40 warm-up cycles without an emission-related diagnostic fault occurring.
    • The PCM cancels the DTC default actions when the fault no longer exists and/or the ignition switch is OFF long enough in order to power down the PCM.

Test Description

The numbers below refer to the step numbers on the diagnostic table.

  1. This step tests for voltage to the solenoid.

  2. This step tests the ability of the PCM and wiring to control the ground circuit.

  3. This step tests the resistance of the TCC PWM solenoid valve and the automatic transmission (AT) wiring harness assembly.

DTC P1860 (4.2L)

Step

Action

Value(s)

Yes

No

1

Did you perform the Powertrain Diagnostic System Check?

--

Go to Step 2

Go to Diagnostic System Check - Engine Controls in Engine Controls - 4.2L

2

  1. Install a scan tool.
  2. Turn ON the ignition, with the engine OFF.
  3. Important: Before clearing the DTC, use the scan tool in order to record the Freeze Frame and Failure Records. Using the Clear Info function erases the Freeze Frame and Failure Records from the PCM.

  4. Record the DTC Freeze Frame and Failure Records.
  5. Clear the DTC.

Are any of the following DTCs also set?

    • P0740
    • P0753
    • P0758
    • P0785

--

Go to Step 3

Go to Step 4

3

Inspect the CLSTR fuse for an open.

Refer to General Electrical Diagnosis in Wiring Systems.

Is the fuse open?

--

Go to Step 11

Go to Step 4

4

  1. Turn OFF the ignition.
  2. Disconnect the AT inline 20-way connector, additional DTCs may set.
  3. Install the J 44152 Jumper Harness (20 pins) on the engine side of the AT inline 20-way connector.
  4. Turn ON the ignition, with the engine OFF.
  5. Using the J 35616 GM Terminal Test Kit, connect a test lamp from terminal E of the J 44152 to ground.
  6. Refer to Automatic Transmission Inline 20-Way Connector End View .

Does the test lamp illuminate?

--

Go to Step 5

Go to Step 14

5

  1. Connect the test lamp between terminal E and terminal U of the J 44152 .
  2. Refer to Automatic Transmission Inline 20-Way Connector End View .

  3. Use the scan tool in order to command the TCC PWM solenoid valve ON and OFF three times.

Does the test lamp turn ON and OFF with each command?

--

Go to Step 7

Go to Step 6

6

Is the test lamp always ON?

--

Go to Step 15

Go to Step 16

7

  1. Install the J 44152 on the transmission side of the AT inline 20-way connector.
  2. Using the DMM and the J 35616 , measure the resistance between terminal E and terminal U of the J 44152 .
  3. Refer to Automatic Transmission Inline 20-Way Connector End View .

Does the resistance measure within the specified range?

10-15 ohms

Go to Step 8

Go to Step 9

8

Measure the resistance from terminal E to ground, and from terminal U to ground.

Do both readings measure greater than the specified value?

250 K ohms

Go to Intermittent Conditions in Engine Controls - 4.2L

Go to Step 10

9

  1. Disconnect the AT wiring harness assembly from the TCC PWM solenoid valve.
  2. Measure the resistance of the TCC PWM solenoid valve.

Does the resistance measure within the specified range?

10-15 ohms

Go to Step 17

Go to Step 18

10

  1. Disconnect the AT wiring harness assembly from the TCC PWM solenoid valve.
  2. Measure the resistance from each of the component terminals to ground.

Do both readings measure greater than the specified value?

250 K ohms

Go to Step 17

Go to Step 18

11

Important: The condition that affects this circuit may exist in other connecting branches of the circuit. Refer to Power Distribution Schematics in Wiring Systems for complete circuit distribution.

Test the OFF/ON/CRANK voltage circuit (CKT 1020) of the TCC PWM solenoid valve for a short to ground between the IP fuse block and the AT inline 20-way connector.

Refer to Testing for Short to Ground and Wiring Repairs in Wiring Systems.

Did you find and correct the condition?

--

Go to Step 20

Go to Step 12

12

Important: The condition that affects this circuit may exist in other connecting branches of the circuit. Refer to Power Distribution Schematics in Wiring Systems for complete circuit distribution.

Test the ignition 1 voltage circuit (CKT 839) of the TCC PWM solenoid valve for a short to ground between the AT inline 20-way connector and the TCC PWM solenoid valve.

Refer to Testing for Short to Ground in Wiring Systems.

Did you find a short to ground condition?

--

Go to Step 17

Go to Step 13

13

  1. Test each solenoid for a short to ground.
  2. Replace the faulty solenoid as necessary.

Did you complete the replacement?

--

Go to Step 20

--

14

Important: The condition that affects this circuit may exist in other connecting branches of the circuit. Refer to Power Distribution Schematics in Wiring Systems for complete circuit distribution.

Test the OFF/ON/CRANK voltage circuit (CKT 1020) of the TCC PWM solenoid valve for an open.

Refer to Testing for Continuity and Wiring Repairs in Wiring Systems.

Did you find and correct the condition?

--

Go to Step 20

--

15

Test the control circuit (CKT 418) of the TCC PWM solenoid valve for a short to ground between the PCM connector C2 and the AT inline 20-way connector.

Refer to Testing for Short to Ground and Wiring Repairs in Wiring Systems.

Did you find and correct the condition?

--

Go to Step 20

Go to Step 19

16

Test the control circuit (CKT 418) of the TCC PWM solenoid valve for an open or short to power between the PCM connector C2 and the AT inline 20-way connector.

Refer to Circuit Testing and Wiring Repairs in Wiring Systems.

Did you find and correct the condition?

--

Go to Step 20

Go to Step 19

17

Replace the AT wiring harness assembly.

Refer to Valve Body and Pressure Switch Replacement .

Did you complete the replacement?

--

Go to Step 20

--

18

Replace the TCC PWM solenoid valve.

Refer to Valve Body and Pressure Switch Replacement .

Did you complete the replacement?

--

Go to Step 20

--

19

Replace the PCM.

Refer to Powertrain Control Module Replacement in Engine Controls - 4.2L.

Did you complete the replacement?

--

Go to Step 20

--

20

Perform the following procedure in order to verify the repair:

  1. Select DTC.
  2. Select Clear Info.
  3. Drive the vehicle in D4 with the TCC On. Ensure that the following conditions are met:
  4. • The PCM commands the TCC PWM solenoid valve ON, and the voltage feedback drops to zero.
    • The PCM commands the TCC PWM solenoid valve OFF, and the voltage feedback increases to B+.
    • All conditions are met for 5 seconds.
  5. Select Specific DTC.
  6. Enter DTC P1860.

Has the test run and passed?

--

Go to Step 21

Go to Step 2

21

With the scan tool, observe the stored information, capture info, and DTC Info.

Does the scan tool display any DTCs that you have not diagnosed?

--

Go to Diagnostic Trouble Code (DTC) List in Engine Controls - 4.2L

System OK

DTC P1860 5.3L


Object Number: 892966  Size: MF
Master Electrical Component List
Automatic Transmission Controls Schematics
OBD II Symbol Description Notice

Circuit Description

The torque converter clutch pulse width modulation (TCC PWM) solenoid valve controls the fluid acting on the converter clutch valve. The converter clutch valve controls the TCC application and release. The solenoid attaches to the control valve body within the transmission. The solenoid receives ignition voltage through the OFF/ON/CRANK voltage circuit. The powertrain control module (PCM) controls the solenoid by providing a ground path on the TCC PWM solenoid valve control circuit. Current flows through the solenoid coil according to the duty cycle, percentage of ON and OFF time. The TCC PWM solenoid valve provides a smooth engagement of the TCC by operating during a duty cycle percent of ON time.

When the PCM detects a continuous open, short to ground or short to power in the TCC PWM solenoid valve circuit, then DTC P1860 sets. DTC P1860 is a type B DTC.

Conditions for Running the DTC

    • The system voltage is 10-18 volts.
    • The engine speed is greater than 450 RPM for 5 seconds.
    • The engine is not in fuel cutoff.
    • The PCM commands first gear.
    • The TCC duty cycle is less than 10 percent or greater than 90 percent.

Conditions for Setting the DTC

DTC P1860 sets if one of the following conditions occurs for 5 seconds:

Condition 1

The PCM commands the solenoid ON, 90 percent, and the voltage feedback remains high, B+.

Condition 2

The PCM commands the solenoid OFF, 0 percent, and the voltage feedback remains low, 0 volt.

Action Taken When the DTC Sets

    • The PCM illuminates the malfunction indicator lamp (MIL) during the second consecutive trip in which the Conditions for Setting the DTC are met.
    • The PCM inhibits TCC engagement.
    • The PCM inhibits 4th gear if the transmission is in hot mode.
    • The PCM freezes shift adapts from being updated.
    • The PCM records the operating conditions when the Conditions for Setting the DTC are met. The PCM stores this information as Freeze Frame and Failure Records.
    • The PCM stores DTC P1860 in PCM history during the second consecutive trip in which the Conditions for Setting the DTC are met.

Conditions for Clearing the MIL/DTC

    • The PCM turns OFF the MIL during the third consecutive trip in which the diagnostic test runs and passes.
    • A scan tool can clear the MIL/DTC.
    • The PCM clears the DTC from PCM history if the vehicle completes 40 warm-up cycles without an emission-related diagnostic fault occurring.
    • The PCM cancels the DTC default actions when the fault no longer exists and/or the ignition switch is OFF long enough in order to power down the PCM.

Test Description

The numbers below refer to the step numbers on the diagnostic table.

  1. This step tests for voltage to the solenoid.

  2. This step tests the ability of the PCM and wiring to control the ground circuit.

  3. This step tests the resistance of the TCC PWM solenoid valve and the automatic transmission wiring harness assembly.

DTC P1860 (5.3L)

Step

Action

Value(s)

Yes

No

1

Did you perform the Powertrain Diagnostic System Check?

--

Go to Step 2

Go to Diagnostic System Check - Engine Controls in Engine Controls - 4.8L, 5.3L and 6.0L

2

  1. Install a scan tool.
  2. Turn ON the ignition, with the engine OFF.
  3. Important: Before clearing the DTC, use the scan tool in order to record the Freeze Frame and Failure Records. Using the Clear Info function erases the Freeze Frame and Failure Records from the PCM.

  4. Record the DTC Freeze Frame and Failure Records.
  5. Clear the DTC.

Are any of the following DTCs also set?

    • P0740
    • P0753
    • P0758
    • P0785

--

Go to Step 3

Go to Step 4

3

Inspect the IGN 0 fuse for an open.

Refer to General Electrical Diagnosis in Wiring Systems.

Is the fuse open?

--

Go to Step 11

Go to Step 4

4

  1. Turn OFF the ignition.
  2. Disconnect the AT inline 20-way connector, additional DTCs may set.
  3. Install the J 44152 Jumper Harness (20 pins) on the engine side of the AT inline 20-way connector.
  4. Turn ON the ignition, with the engine OFF.
  5. Using the J 35616 GM Terminal Test Kit, connect a test lamp from terminal E of the J 44152 to ground.
  6. Refer to Automatic Transmission Inline 20-Way Connector End View .

Does the test lamp illuminate?

--

Go to Step 5

Go to Step 14

5

  1. Connect the test lamp between terminal E and terminal U of the J 44152 .
  2. Refer to Automatic Transmission Inline 20-Way Connector End View .

  3. Use the scan tool in order to command the TCC PWM solenoid valve ON and OFF three times.

Does the test lamp turn ON and OFF with each command?

--

Go to Step 7

Go to Step 6

6

Is the test lamp always ON?

--

Go to Step 15

Go to Step 16

7

  1. Install the J 44152 on the transmission side of the AT inline 20-way connector.
  2. Using the DMM and the J 35616 , measure the resistance between terminal E and terminal U of the J 44152 .
  3. Refer to Automatic Transmission Inline 20-Way Connector End View .

Does the resistance measure within the specified range?

10-15 ohms

Go to Step 8

Go to Step 9

8

Measure the resistance from terminal E to ground, and from terminal U to ground.

Do both readings measure greater than the specified value?

250 K ohms

Go to Intermittent Conditions in Engine Controls - 4.8L, 5.3L and 6.0L

Go to Step 10

9

  1. Disconnect the AT wiring harness assembly from the TCC PWM solenoid valve.
  2. Measure the resistance of the TCC PWM solenoid valve.

Does the resistance measure within the specified range?

10-15 ohms

Go to Step 17

Go to Step 18

10

  1. Disconnect the AT wiring harness assembly from the TCC PWM solenoid valve.
  2. Measure the resistance from each of the component terminals to ground.

Do both readings measure greater than the specified value?

250 K ohms

Go to Step 17

Go to Step 18

11

Important: The condition that affects this circuit may exist in other connecting branches of the circuit. Refer to Power Distribution Schematics in Wiring Systems for complete circuit distribution.

Test the OFF/ON/CRANK voltage circuit (CKT 1020) of the TCC PWM solenoid valve for a short to ground between the fuse block and the AT inline 20-way connector.

Refer to Testing for Short to Ground and Wiring Repairs in Wiring Systems.

Did you find and correct the condition?

--

Go to Step 20

Go to Step 12

12

Important: The condition that affects this circuit may exist in other connecting branches of the circuit. Refer to Power Distribution Schematics in Wiring Systems for complete circuit distribution.

Test the Ignition 1 voltage circuit (CKT 839) of the TCC PWM solenoid valve for a short to ground between the AT inline 20-way connector and the TCC PWM solenoid valve.

Refer to Testing for Short to Ground in Wiring Systems.

Did you find a short to ground condition?

--

Go to Step 17

Go to Step 13

13

  1. Test each solenoid for a short to ground.
  2. Replace the faulty solenoid as necessary.

Did you complete the replacement?

--

Go to Step 20

--

14

Important: The condition that affects this circuit may exist in other connecting branches of the circuit. Refer to Power Distribution Schematics in Wiring Systems for complete circuit distribution.

Test the OFF/ON/CRANK voltage circuit (CKT 1020) of the TCC PWM solenoid valve for an open.

Refer to Testing for Continuity and Wiring Repairs in Wiring Systems.

Did you find and correct the condition?

--

Go to Step 20

--

15

Test the control circuit (CKT 418) of the TCC PWM solenoid valve for a short to ground between the PCM connector C2 and the AT inline 20-way connector.

Refer to Testing for Short to Ground and Wiring Repairs in Wiring Systems.

Did you find and correct the condition?

--

Go to Step 20

Go to Step 19

16

Test the control circuit (CKT 418) of the TCC PWM solenoid valve for an open or short to power between the PCM connector C2 and the AT inline 20-way connector.

Refer to Circuit Testing and Wiring Repairs in Wiring Systems.

Did you find and correct the condition?

--

Go to Step 20

Go to Step 19

17

Replace the AT wiring harness assembly.

Refer to Valve Body and Pressure Switch Replacement .

Did you complete the replacement?

--

Go to Step 20

--

18

Replace the TCC PWM solenoid valve.

Refer to Valve Body and Pressure Switch Replacement .

Did you complete the replacement?

--

Go to Step 20

--

19

Replace the PCM.

Refer to Powertrain Control Module Replacement in Engine Controls - 4.8L, 5.3L and 6.0L.

Did you complete the replacement?

--

Go to Step 20

--

20

Perform the following procedure in order to verify the repair:

  1. Select DTC.
  2. Select Clear Info.
  3. Drive the vehicle in D4 with the TCC On. Ensure that the following conditions are met:
  4. • The PCM commands the TCC PWM solenoid valve ON, and the voltage feedback drops to zero.
    • The PCM commands the TCC PWM solenoid valve OFF, and the voltage feedback increases to B+.
    • All conditions are met for 5 seconds.
  5. Select Specific DTC.
  6. Enter DTC P1860.

Has the test run and passed?

--

Go to Step 21

Go to Step 2

21

With the scan tool, observe the stored information, capture info, and DTC Info.

Does the scan tool display any DTCs that you have not diagnosed?

--

Go to Diagnostic Trouble Code (DTC) List in Engine Controls - 4.8L, 5.3L and 6.0L

System OK