GM Service Manual Online
For 1990-2009 cars only

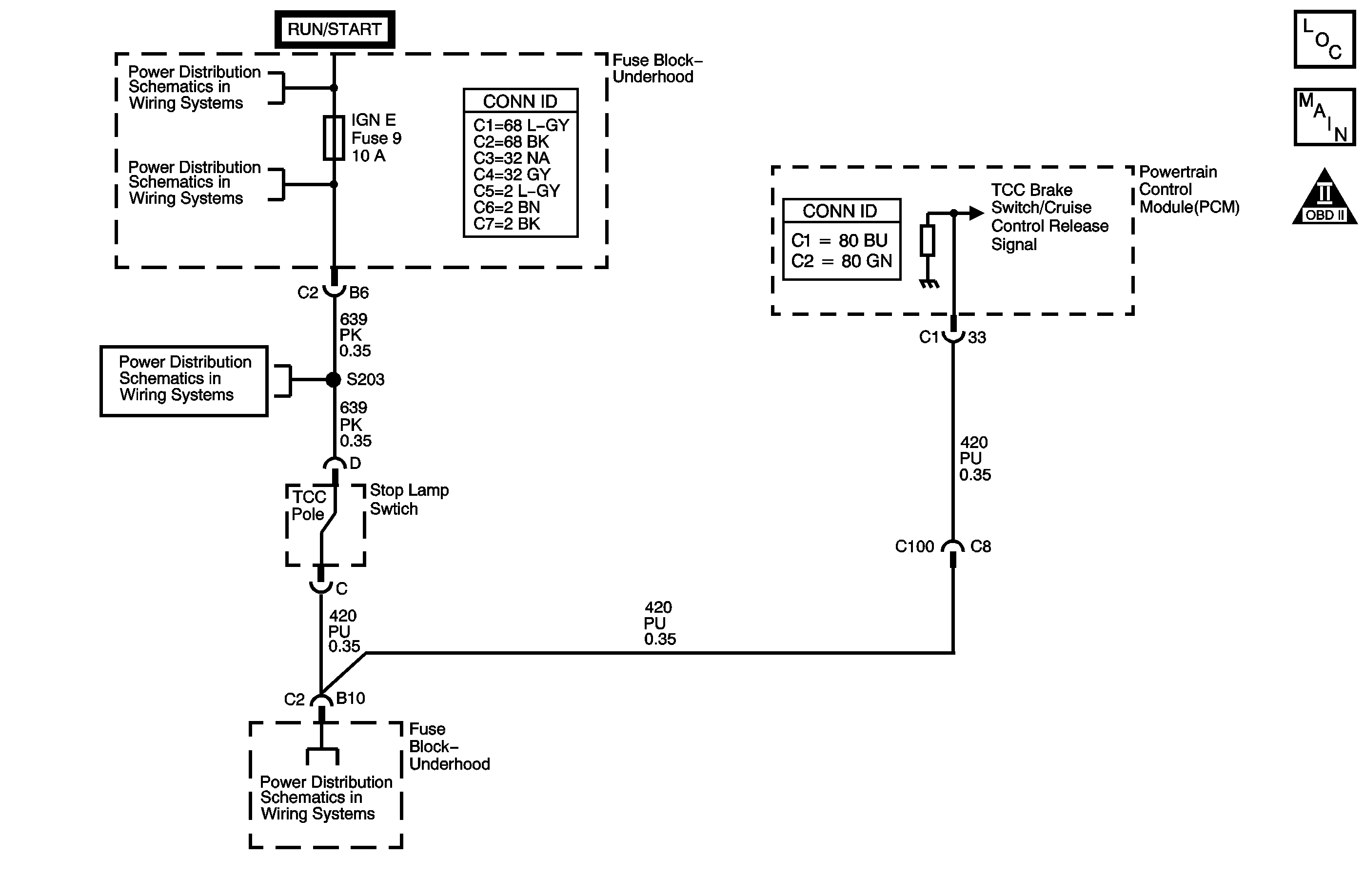
DTC P0724 4.2L


Object Number: 1306642  Size: LF
Master Electrical Component List
Automatic Transmission Controls Schematics
OBD II Symbol Description Notice

Circuit Description

The brake switch indicates brake pedal status to the powertrain control module (PCM). The brake switch is a normally-closed switch that supplies battery voltage on the TCC brake switch signal circuit to the PCM. Applying the brake pedal opens the switch, interrupting voltage to the PCM. When the brake pedal is released, the PCM receives a constant voltage signal. If the PCM receives a zero voltage signal at the brake switch input, and the torque converter clutch (TCC) is engaged, the PCM de-energizes the TCC solenoid valve. The PCM disregards the brake switch input for TCC scheduling if there is a brake switch circuit fault.

When the PCM detects a closed brake switch circuit, 12 volts, high input, during decelerations, then DTC P0724 sets. DTC P0724 is a type C DTC.

Conditions for Running the DTC

    • No VSS assembly DTCs P0502 or P0503.
    • The ignition is ON.

Conditions for Setting the DTC

The PCM detects a closed brake switch circuit, 12 volts, without changing for 2 seconds and the following events occur eight times:

    • The vehicle speed is greater than 32 km/h (20 mph) for 6 seconds;
    • then the vehicle speed is between 8-32 km/h (5-20 mph) for 4 seconds;
    • then the vehicle speed is less than 8 km/h (5 mph).

Action Taken When the DTC Sets

    • The PCM does not illuminate the malfunction indicator lamp (MIL).
    • The PCM records the operating conditions when the Conditions for Setting the DTC are met. The PCM stores this information as Failure Records.
    • The PCM stores DTC P0724 in PCM history.

Conditions for Clearing the DTC

    • A scan tool can clear the DTC.
    • The PCM clears the DTC from PCM history if the vehicle completes 40 warm-up cycles without a non-emission related diagnostic fault occurring.
    • The PCM cancels the DTC default actions when the fault no longer exists and the DTC passes.

Diagnostic Aids

Inspect for ABS DTCs. A faulty ABS condition may contribute to setting DTC P0724.

Test Description

The numbers below refer to the step numbers on the diagnostic table.

  1. This step isolates the brake switch as a source for setting the DTC.

DTC P0724 (4.2L)

Step

Action

Value(s)

Yes

No

1

Did you perform the Diagnostic System Check - Engine Controls?

--

Go to Step 2

Go to Diagnostic System Check - Engine Controls in Engine Controls-4.2L

2

  1. Install a scan tool.
  2. Turn ON the ignition, with the engine OFF.
  3. Important: Before clearing the DTC, use the scan tool in order to record the Failure Records. Using the Clear Info function erases the Failure Records from the PCM.

  4. Record the DTC Failure Records.
  5. Clear the DTC.
  6. Select TCC Brake Switch on the scan tool.
  7. Caution: Refer to SIR Caution in the Preface section.

  8. Disconnect the brake switch connector from the brake switch.

Did the TCC Brake Switch status on the scan tool change from Closed to Open?

--

Go to Step 3

Go to Step 4

3

Replace the brake switch.

Refer to Stop Lamp Switch Replacement in Lighting Systems.

Did you complete the replacement?

--

Go to Step 6

--

4

Important: The condition that affects this circuit may exist in other connecting branches of the circuit. Refer to Power Distribution Schematics in Wiring Systems for complete circuit distribution.

Test the signal circuit of the brake switch for a short to power.

Refer to Testing for a Short to Voltage and Wiring Repairs in Wiring Systems.

Did you find and correct the condition?

--

Go to Step 6

Go to Step 5

5

Replace the PCM.

Refer to Powertrain Control Module Replacement in Engine Controls - 4.2L.

Did you complete the replacement?

--

Go to Step 6

--

6

Perform the following procedure in order to verify the repair:

  1. Select DTC.
  2. Select Clear Info.
  3. Turn ON the ignition, with the engine OFF.
  4. Apply and release the brake pedal.
  5. Verify that the scan tool TCC Brake Switch status indicates Open, 0 volts, for 2 seconds.
  6. Select Specific DTC.
  7. Enter DTC P0724.

Has the test run and passed?

--

Go to Step 7

Go to Step 2

7

With the scan tool, observe the stored information, capture info, and DTC Info.

Does the scan tool display any DTCs that you have not diagnosed?

--

Go to Diagnostic Trouble Code (DTC) List in Engine Controls - 4.2L

System OK

DTC P0724 5.3L


Object Number: 1289177  Size: MF
Master Electrical Component List
Automatic Transmission Controls Schematics
OBD II Symbol Description Notice

Circuit Description

The brake switch indicates brake pedal status to the powertrain control module (PCM). The brake switch is a normally-closed switch that supplies battery voltage on the TCC brake switch signal circuit to the PCM. Applying the brake pedal opens the switch, interrupting voltage to the PCM. When the brake pedal is released, the PCM receives a constant voltage signal. If the PCM receives a zero voltage signal at the brake switch input, and the torque converter clutch (TCC) is engaged, the PCM de-energizes the TCC solenoid valve. The PCM disregards the brake switch input for TCC scheduling if there is a brake switch circuit fault.

When the PCM detects a closed brake switch circuit, 12 volts, high input, during decelerations, then DTC P0724 sets. DTC P0724 is a type C DTC.

Conditions for Running the DTC

    • No VSS assembly DTCs P0502 or P0503.
    • The ignition is ON.
    • DTC P0724 has not passed.

Conditions for Setting the DTC

The PCM detects a closed brake switch circuit, 12 volts, without changing for 2 seconds and the following events occur eight times:

    • The vehicle speed is greater than 32 km/h (20 mph) for 6 seconds;
    • then the vehicle speed is between 8-32 km/h (5-20 mph) for 4 seconds;
    • then the vehicle speed is less than 8 km/h (5 mph).

Action Taken When the DTC Sets

    • The PCM does not illuminate the malfunction indicator lamp (MIL).
    • The PCM records the operating conditions when the Conditions for Setting the DTC are met. The PCM stores this information as Failure Records.
    • The PCM stores DTC P0724 in PCM history.

Conditions for Clearing the DTC

    • A scan tool can clear the DTC.
    • The PCM clears the DTC from PCM history if the vehicle completes 40 warm-up cycles without a non-emission-related diagnostic fault occurring.
    • The PCM cancels the DTC default actions when the fault no longer exists and/or the ignition switch is OFF long enough in order to power down the PCM.

Diagnostic Aids

    • Inspect the brake switch for proper mounting and operation.
    • Inspect for ABS DTCs. A faulty ABS condition may contribute to setting DTC P0724.

Test Description

The number below refers to the step number on the diagnostic table.

  1. This step isolates the brake switch as a source for setting the DTC.

DTC P0724 (5.3L)

Step

Action

Value(s)

Yes

No

1

Did you perform the Diagnostic System Check - Engine Controls?

--

Go to Step 2

Go to Diagnostic System Check - Engine Controls in Engine Controls-4.8L, 5.3L and 6.0L

2

  1. Install a scan tool.
  2. Turn ON the ignition, with the engine OFF.
  3. Important: Before clearing the DTC, use the scan tool in order to record the Failure Records. Using the Clear Info function erases the Failure Records from the PCM.

  4. Record the DTC Failure Records.
  5. Clear the DTC.
  6. Select TCC Brake Switch on the scan tool.
  7. Caution: Refer to SIR Caution in the Preface section.

  8. Disconnect the brake switch connector from the brake switch.

Did the TCC Brake Switch status change from Closed to Open?

--

Go to Step 3

Go to Step 4

3

Replace the brake switch.

Refer to Stop Lamp Switch Replacement in Lighting Systems.

Did you complete the replacement?

--

Go to Step 6

--

4

Important: The condition that affects this circuit may exist in other connecting branches of the circuit. Refer to Power Distribution Schematics in Wiring Systems for complete circuit distribution.

Test the signal circuit of the brake switch for a short to power.

Refer to Testing for a Short to Voltage and Wiring Repairs in Wiring Systems.

Did you find and correct the condition?

--

Go to Step 6

Go to Step 5

5

Replace the PCM.

Refer to Powertrain Control Module Replacement in Engine Controls - 4.8L, 5.3L and 6.0L.

Did you complete the replacement?

--

Go to Step 6

--

6

Perform the following procedure in order to verify the repair:

  1. Select DTC.
  2. Select Clear Info.
  3. Turn ON the ignition, with the engine OFF.
  4. Apply and release the brake pedal.
  5. Verify that the scan tool TCC Brake Switch status indicates Open, 0 volts, for 2 seconds.
  6. Select Specific DTC.
  7. Enter DTC P0724.

Has the test run and passed?

--

Go to Step 7

Go to Step 2

7

With the scan tool, observe the stored information, capture info, and DTC Info.

Does the scan tool display any DTCs that you have not diagnosed?

--

Go to Diagnostic Trouble Code (DTC) List in Engine Controls - 4.8L, 5.3L and 6.0L

System OK