GM Service Manual Online
For 1990-2009 cars only

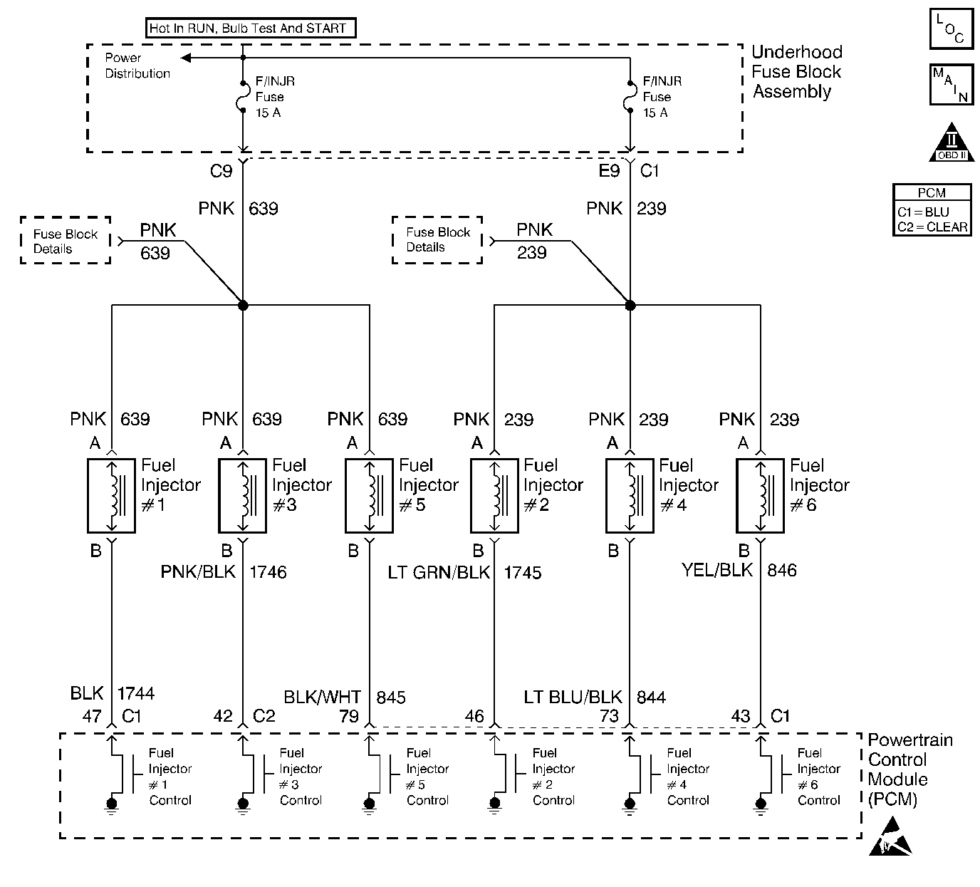
Object Number: 293697  Size: LF
Fuel Injectors 1 thru 6
Engine Controls Components
OBD II Symbol Description Notice
ESD Notice

Circuit Description

Ignition voltage is supplied directly to the fuel injectors. The powertrain control module (PCM) controls each fuel injector by grounding the control circuit via an internal solid state device called a driver. The primary function of the driver is to supply the ground for the component being controlled. Each driver has a fault line which is monitored by the PCM. When the PCM is commanding a component on, the voltage of the control circuit should be low (near 0 volts). When the PCM is commanding the control circuit to a component off, the voltage potential of the circuit should be high (near battery voltage). If the fault detection circuit senses a voltage other than what is expected, this DTC will set.

The PCM will monitor the control circuit for the following:

    • A short to ground
    • A short to voltage
    • An open circuit
    • An open injector coil
    • An internally shorted or excessively low resistance fuel injector

When the PCM detects any of the above malfunctions, this DTC will set and the affected driver will be disabled. The PCM will continue to test the circuit and if the fault goes away, the driver will be reactivated.

Conditions for Running the DTC

    • Engine running
    • Ignition voltage is between 9.0 volts and 17.0 volts.

Conditions for Setting the DTC

The PCM detects an incorrect voltage potential on the ignition control circuit.

Action Taken When the DTC Sets

    • The PCM illuminates the malfunction indicator lamp (MIL) on the second consecutive ignition cycle that the diagnostic runs and fails.
    • The PCM records the operating conditions at the time the diagnostic fails. The first time the diagnostic fails, the PCM stores this information in the Failure Records. If the diagnostic reports a failure on the second consecutive ignition cycle, the PCM records the operating conditions at the time of the failure. The PCM writes the conditions to the Freeze Frame and updates the Failure Records.

Conditions for Clearing the MIL/DTC

    • The PCM turns the MIL Off after three consecutive drive trips that the diagnostic runs and does not fail.
    • A last test failed (current DTC) clears when the diagnostic runs and does not fail.
    • A History DTC clears after forty consecutive warm-up cycles, if this or any other emission related diagnostic does not report any failures.
    • Use a scan tool in order to clear the MIL/DTC.
    • Interrupting the PCM battery voltage may or may not clear DTCs. This practice is not recommended. Refer to Powertrain Control Module (PCM) Description , Clearing Diagnostic Trouble Codes.

Diagnostic Aids

Notice: Use the connector test adapter kit J 35616-A for any test that requires probing the following items:

   • The PCM harness connectors
   • The electrical center fuse/relay cavities
   • The component terminals
   • The component harness connector
Using this kit will prevent damage caused by the improper probing of connector terminals.

If the problem is intermittent, refer to Intermittent Conditions .

Test Description

Number(s) below refer to the step number(s) on the diagnostic table.

  1. The scan tool displays Fault if a circuit problem is detected.

  2. Refer to the system mechanization for the fuses which supply these circuits.

Step

Action

Value(s)

Yes

No

1

Did you perform the Powertrain On-Board Diagnostic (OBD) System Check?

--

Go to Step 2

Go to the Powertrain On Board Diagnostic (OBD) System Check

2

  1. Start and idle engine. If the engine will not start, go to Engine Cranks but Does Not Run
  2. Using the scan tool monitor the Injector Circuit status for this cylinder.

Does the scan tool continuously indicate OK?

--

Refer to Diagnostic Aids.

Go to Step 3

3

Is an entire bank of cylinders inoperative?

--

Go to Step 4

Go to Step 6

4

Are the fuel injector fuses OK?

--

Go to Step 5

Go to Step 11

5

  1. Turn the key to Off.
  2. Disconnect the affected fuel injector(s).
  3. Turn the key to On.
  4. Using DMM J 39200 connected to ground, probe the ignition feed circuit in the fuel injector harness.

Is battery voltage indicated?

--

Go to Step 6

Go to Step 12

6

  1. Connect injector test light J 34730-405 to the injector harness.
  2. Crank the engine while observing the test light. If the engine starts, turn it off after checking the test light.
  3. Repeat the test for all affected injectors.

Does the test light flash on and off as the engine cranks for all injectors tested?

--

Go to Step 18

Go to Step 7

7

  1. Turn the key to Off.
  2. Disconnect the PCM.
  3. Using DMM J 39200 check continuity of the injector control circuit from the PCM connector to the injector harness connector.

Does the DMM display the value shown (or lower)?

5 Ohms

Go to Step 8

Go to Step 13

8

Using DMM J 39200 check for continuity between the injector control circuit and ground.

The DMM should display infinite resistance.

Does the DMM display infinite resistance?

--

Go to Step 9

Go to Step 14

9

  1. Turn the key to On, with the engine off.
  2. Using DMM J 39200 , check for voltage on the injector control circuit.

Is a short to voltage indicated?

--

Go to Step 15

Go to Step 10

10

  1. Turn the key to Off.
  2. Disconnect all fuel injectors.
  3. Using DMM J 39200 , check for continuity between the injector control circuits.

The DMM should display infinite resistance.

Does the DMM display infinite resistance?

--

Go to Step 20

Go to Step 16

11

Check for a short to ground in the fuel injector ignition feed circuit.

Was a problem found and corrected?

--

Go to Step 22

Go to Step 17

12

Repair open/high resistance ignition feed circuit.

Is the action complete?

--

Go to Step 22

--

13

Repair open/high resistance injector control circuit.

Is the action complete?

--

Go to Step 22

--

14

Repair injector control circuit shorted to ground.

Is the action complete?

--

Go to Step 22

--

15

Repair injector control circuit shorted to power.

Is the action complete?

--

Go to Step 22

--

16

Repair injector control circuits that are shorted together.

Is the action complete?

--

Go to Step 22

--

17

Perform the Fuel Injector Coil Test. Refer to Fuel Injector Solenoid Coil Test - Engine Coolant Temperature Between 10-35 Degrees C (50-95 Degrees F) or Fuel Injector Solenoid Coil Test - Engine Coolant Temperature Outside 10-35 Degrees C (50-95 Degrees F) .

Is the action complete?

--

Go to Step 22

--

18

Check for poor connections/terminal tension at the fuel injector. Refer to Intermittents and Poor Connections Diagnosis .

Was a problem found and corrected?

--

Go to Step 22

Go to Step 19

19

Replace the fuel injector. Refer to Fuel Injector Replacement .

Is the action complete?

--

Go to Step 22

--

20

Check for poor connections/terminal tension at the PCM harness connector. Refer to Intermittents and Poor Connections Diagnosis .

Was a problem found and corrected.

--

Go to Step 22

Go to Step 21

21

Replace the PCM. Refer to Powertrain Control Module Replacement/Programming .

Is the action complete?

--

Go to Step 22

--

22

  1. Clear DTCs with the scan tool.
  2. Turn the key to Off and wait 15 seconds
  3. Operate vehicle within the conditions that are required for this diagnostic to run. Refer to Conditions for Running the DTC.

Does the scan tool indicate that this test ran and passed?

--

Go to Step 23

Go to Step 2

23

Review Captured Info using the scan tool.

Are there any DTCs that have not been diagnosed?

--

Go to the applicable DTC table

System OK