GM Service Manual Online
For 1990-2009 cars only

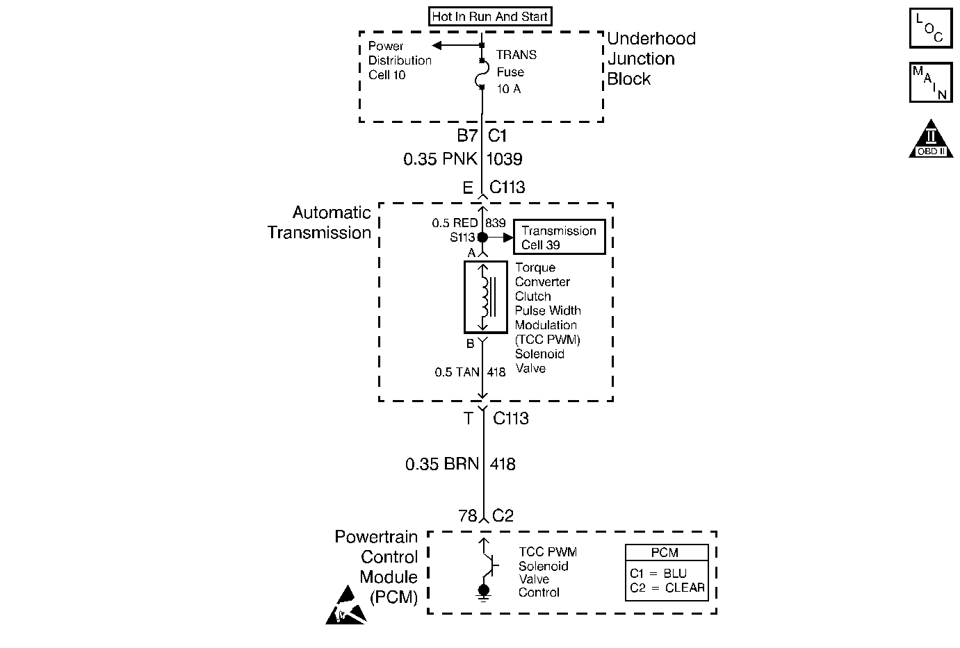
Object Number: 405274  Size: MF
Automatic Transmission Components
Automatic Transmission Controls Schematics
OBD II Symbol Description Notice
Handling ESD Sensitive Parts Notice

Circuit Description

Ignition voltage is provided to the torque converter clutch pulse width modulation (TCC PWM) solenoid valve. The PCM controls the ON and OFF time of the solenoid by providing a ground through the output driver module (ODM) B. The PCM uses a PWM duty cycle in order to control application and release of the TCC. When the solenoid is commanded OFF, the PCM senses high voltage. When the solenoid is commanded ON, the PCM senses low voltage.

DTC P1860 sets anytime the received voltage is outside of the calibration limits. DTC P1860 is a type B DTC .

Conditions for Running the DTC

    • The system voltage is 9-18 volts.
    • The engine speed is greater than 500 RPM for 5 seconds and not in fuel shut off.

Conditions for Setting the DTC

DTC P1860 sets when one of the following conditions exists for at least 4.3 seconds:

    • The PCM commands the solenoid to greater than 90% duty cycle and the voltage remains high (B+) or:
    • The PCM commands the solenoid to less than 10% duty cycle and the voltage remains low (0 volts).

Action Taken When the DTC Sets

    • The PCM illuminates the malfunction indicator lamp (MIL) during the second consecutive trip in which the conditions for setting the DTC are met.
    • The PCM inhibits TCC.
    • The PCM inhibits 4th gear if the transmission is in Hot Mode.
    • The PCM freezes shift adapts.
    • The PCM stores DTC P1860 in PCM history.

Conditions for Clearing the MIL/DTC

    • The PCM turns OFF the MIL during the third consecutive trip in which the diagnostic test runs and passes.
    • A scan tool clears the DTC from the PCM history.
    • The PCM clears the DTC from the PCM history if the vehicle completes 40 consecutive warm-up cycles without an emission related diagnostic fault occurring.
    • The PCM cancels the DTC default actions when the fault no longer exists and the ignition switch is OFF long enough in order to power down the PCM.

Diagnostic Aids

    • Inspect the wiring at the PCM, the transmission 20-way connector, the TCC PWM solenoid valve connector and all other circuit connecting points for the following conditions:
       - A backed out terminal
       - A damaged terminal
       - Reduced terminal tension
       - A chafed wire
       - A broken wire inside the insulation
       - Moisture intrusion
       - Corrosion
    • When diagnosing for an intermittent short or open, massage the wiring harness while watching the test equipment for a change.
    • Ensure that the transmission fluid is at the proper level.

Test Description

The numbers below refer to the step numbers on the diagnostic table.

  1. This step isolates the engine harness from the transmission harness. Use a test lamp in order to verify the circuitry.

  2. This step verifies that circuit 418 is not open or shorted to power.

  3. This step verifies that the TCC PWM solenoid is not shorted across its windings or increased its resistance.

  4. Because of the harsh conditions inside the transmission, repairing the automatic transmission (A/T) wiring harness is not acceptable. You must replace the A/T wiring harness assembly.

DTC P1860 TCC PWM Solenoid Circuit -- Electrical

Step

Action

Value(s)

Yes

No

1

Was the Powertrain On-Board Diagnostic (OBD) System Check performed?

--

Go to Step 2

Go to Powertrain On Board Diagnostic (OBD) System Check (3.5L) or Powertrain On Board Diagnostic (OBD) System Check (3.8L) in Engine Controls

2

  1. Install the Scan Tool .
  2. With the engine OFF, turn the ignition switch to the RUN position.
  3. Important: Before clearing the DTCs, use the Scan Tool in order to record the Freeze Frame and Failure Records for reference. Using the Clear Info function will erase the stored Freeze Frame and Failure Records from the PCM.

  4. Record the Freeze Frame and Failure Records, then clear the DTCs.

Are DTCs P0753 or P0758 set?

--

Go to Step 3

Go to Step 6

3

  1. Remove the TRANS fuse.
  2. Inspect the fuse for an open.

Refer to General Electrical Diagnosis in Wiring Systems.

Was a condition found?

--

Go to Step 4

Go to Step 5

4

    Important: The condition that affects this circuit may exist in other connecting branches of the circuit. Refer to Power Distribution Schematics in Wiring Systems for complete circuit distribution.

  1. Inspect engine wiring harness circuit 1039 for a short to ground, short to circuit 418 or other grounds in the harness.
  2. Repair the engine wiring harness if necessary.
  3. Refer to Wiring Repairs in Wiring Systems.

  4. Inspect transmission wiring harness circuit 839 for a short to ground, short to circuit 418 or other grounds in the harness.
  5. Replace the transmission wiring harness if necessary.
  6. Refer to Solenoids and Wiring Harness Replacement .

Is the repair complete?

--

Go to Step 19

--

5

  1. Inspect the engine wiring harness circuit 1039 for an open.
  2. Repair the engine wiring harness if necessary.
  3. Refer to Wiring Repairs in Wiring Systems.

  4. Inspect the transmission wiring harness circuit 839 for an open.
  5. Replace the transmission wiring harness if necessary.
  6. Refer to Solenoids and Wiring Harness Replacement .

Is the repair complete?

--

Go to Step 19

--

6

  1. Turn the ignition switch OFF.
  2. Disconnect the transmission 20-way connector.
  3. Connect the J 39775 jumper harness on the engine harness connector.
  4. Connect a test lamp from terminal E to terminal T of the J 39775 jumper harness.
  5. Refer to Automatic Transmission Inline Harness Connector End View .

  6. With the engine OFF, turn the ignition ON.
  7. Additional DTCs will set.

Is the test lamp ON?

--

Go to Step 7

Go to Step 8

7

Inspect circuit 418 (BRN) of the engine harness for a short to ground.

Refer to General Electrical Diagnosis in Wiring Systems.

Was a condition found?

--

Go to Step 18

Go to Step 16

8

Using the Scan Tool , cycle the TCC PWM solenoid valve ON and OFF three times.

Does the test lamp cycle ON and OFF as commanded?

--

Go to Step 10

Go to Step 9

9

Inspect circuit 418 (BRN) of the engine harness for an open or a short to power.

Refer to General Electrical Diagnosis in Wiring Systems.

Was a condition found?

--

Go to Step 18

Go to Step 16

10

  1. Turn the ignition switch OFF.
  2. Disconnect the J 39775 jumper harness from the engine harness.
  3. Connect the J 39775 jumper harness to the transmission 20-way connector.
  4. Connect a J 39200 digital multimeter (DMM), set to measure ohms, from terminal E to terminal T of the J 39775 jumper harness.
  5. Refer to Automatic Transmission Inline Harness Connector End View .

Is the measured resistance within the specified range?

10-12 ohms at 20°C (68°F)

13-15 ohms at 88°C (190°F)

Go to Step 13

Go to Step 11

11

Is the resistance greater than the specified value?

100 ohms

Go to Step 12

Go to Step 14

12

  1. Inspect A/T wiring harness assembly circuit 839 (RED) for an open or poor connection.
  2. Inspect A/T wiring harness assembly circuit 418 (TAN) for an open or poor connection.

Refer to General Electrical Diagnosis in Wiring Systems.

Did you find a condition?

--

Go to Step 17

Go to Step 15

13

Connect the J 39200 DMM from terminal T of the J 39775 jumper harness to ground.

Is the measured resistance less than the specified value?

100 ohms

Go to Step 14

Go to Diagnostic Aids

14

Inspect A/T wiring harness assembly circuit 418 (TAN) for a short to ground or short to circuit 839 (RED).

Refer to General Electrical Diagnosis in Wiring Systems.

Did you find a condition?

--

Go to Step 17

Go to Step 15

15

Replace the TCC PWM solenoid valve.

Refer to Torque Converter Clutch Pulse Width Modulation Solenoid Replacement .

Is the replacement complete?

--

Go to Step 19

--

16

Replace the PCM.

Refer to Powertrain Control Module Replacement/Programming (3.5L) or Powertrain Control Module Replacement/Programming (3.8L) in Engine Controls.

Is the replacement complete?

--

Go to Step 19

--

17

Replace the Automatic Transmission Wiring Harness Assembly.

Refer to Solenoids and Wiring Harness Replacement .

Is the replacement complete?

--

Go to Step 19

--

18

Repair circuit 418 (TAN) of the engine harness.

Is the repair complete?

--

Go to Step 19

--

19

Perform the following procedure in order to verify the repair:

  1. Select DTC.
  2. Select Clear Info.
  3. Road test the vehicle in D4 until the TCC is applied.
  4. Monitor TCC duty cycle on the Scan Tool . Ensure that the TCC duty cycle is 10-90% for 5 seconds.
  5. Select Specific DTC.
  6. Enter DTC P1860.

Did operating the vehicle cause this DTC to set?

--

Go to Step 1

System OK