 
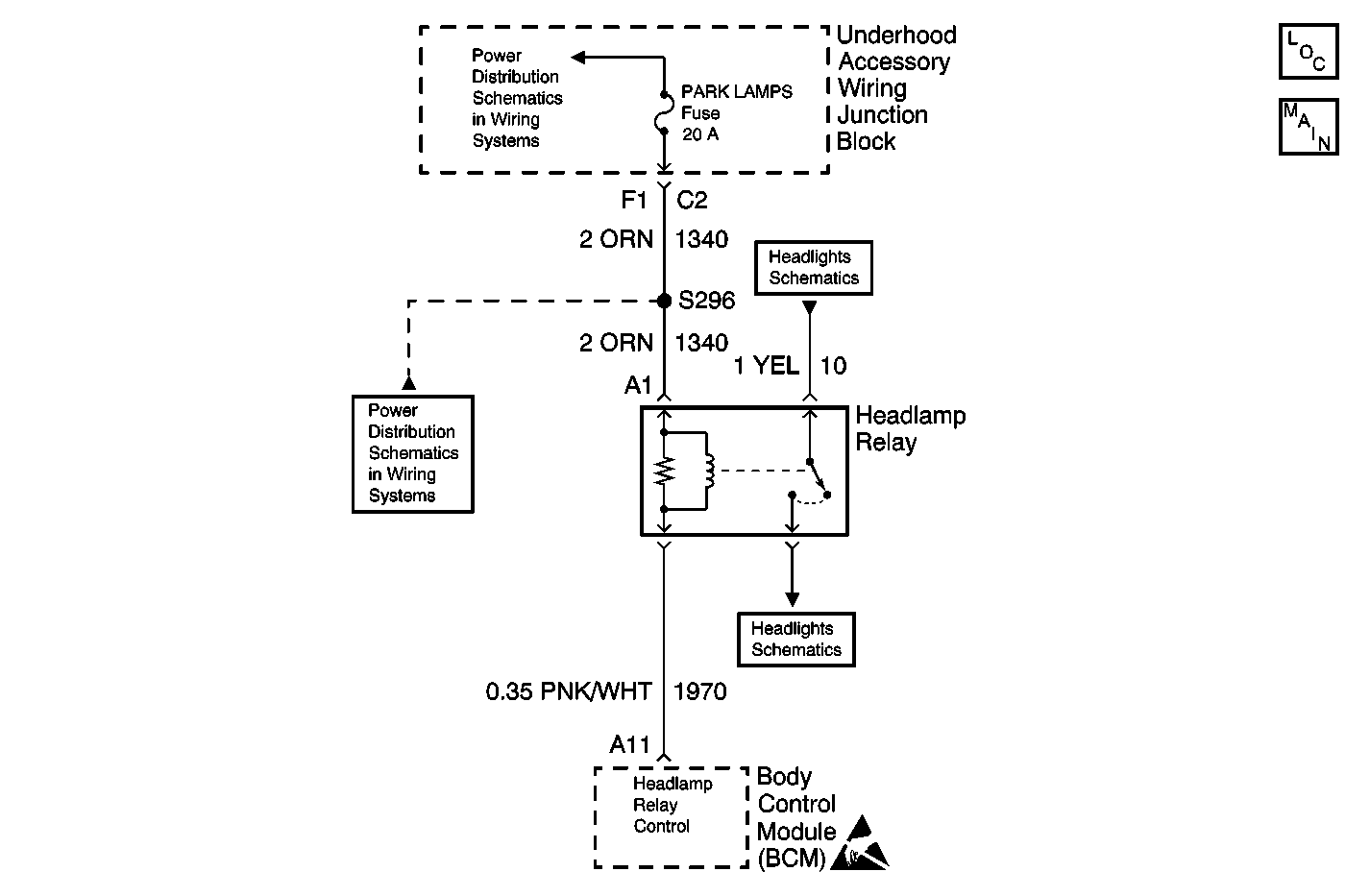
The Body Control Module (BCM) controls the headlamp relay. The BCM grounds the headlamp control circuit which in turns energizes the headlamp relay.
The BCM must not be commanding the headlamp relay to energize.
| • | The BCM detects a short to ground or open in the headlamp relay coil control circuit when the BCM is not trying to energize the headlamp relay. | 
| • | The condition above must be present for more than 0.3 seconds. | 
| • | The BCM stores DTC B2577 in memory. | 
| • | The SERVICE VEHICLE SOON telltale illuminates. | 
| • | A current DTC B2577 will clear if the BCM no longer dectect a short to ground or open in the headlamp relay coil control circuit. | 
| • | A history DTC B2577 will clear after 100 consecutive ignition cycles if the condition for the malfunction is no longer present. | 
| • | If the DTC B2577 is a history DTC, the fault may be intermittent. Refer to Testing for Intermittent Conditions and Poor Connections in Wiring Systems. | 
| • | The following conditions may cause an intermittent malfunction to occur: | 
| - | An intermittent short to ground or open in the headlamp relay control circuit | 
| - | The headlamp relay coil is intermittently shorted to ground or open internally | 
| - | The BCM is intermittently shorted to ground or open internally | 
The number(s) below refer to the step number(s) on the diagnostic table.
Listen for an audible click when the headlamp relay operates. Command both the ON and OFF states. Repeat the commands as necessary.
Tests for voltage at the coil side of the headlamp relay. The park fuse supplies power to the coil side of the headlamp relay.
Verifies that the Body Control Module is providing ground to the headlamp relay.
Tests if ground is constantly being applied to the headlamp relay.
| Step | Action | Yes | No | 
|---|---|---|---|
| 1 | Did you perform the Lighting System Diagnostic System Check? | Go to Step 2 | |
| 
 Does the headlamp relay turn ON and OFF with each command? | Go to Diagnostic Aids | Go to Step 3 | |
| 
 Does the test lamp illuminate? | Go to Step 4 | Go to Step 10 | |
| 
 Does the test lamp turn ON and OFF with each command? | Go to Step 8 | Go to Step 5 | |
| Does the test lamp remain illuminated with each command? | Go to Step 7 | Go to Step 6 | |
| 6 | Test the control circuit of the headlamp relay for a short to voltage or an open. Refer to Circuit Testing and Wiring Repairs in Wiring Systems. Did you find and correct the condition? | Go to Step 13 | Go to Step 9 | 
| 7 | Test the control circuit of the headlamp relay for a short to ground. Refer to Circuit Testing and Wiring Repairs in Wiring Systems. Did you find and correct the condition? | Go to Step 13 | Go to Step 9 | 
| 8 | Inspect for poor connections at the headlamp relay. Refer to Testing for Intermittent Conditions and Poor Connections and Connector Repairs in Wiring Systems. Did you find and correct the condition? | Go to Step 13 | Go to Step 11 | 
| 9 | Inspect for poor connections at the harness connector of the Body Control Module. Refer to Testing for Intermittent Conditions and Poor Connections and Connector Repairs in Wiring Systems. Did you find and correct the condition? | Go to Step 13 | Go to Step 12 | 
| 10 | Repair a poor contection or an open in the headlamp relay coil feed. Refer to Circuit Testing and Wiring Repairs in Wiring Systems. Did you complete the repair? | Go to Step 13 | -- | 
| 11 | Replace the headlamp relay. Did you complete the replacement? | Go to Step 13 | -- | 
| 12 | Important: Perform the set up procedure for the Body Control Module . Replace the Body Control Module. Refer to Body Control Module Replacement in Body Control Systems. Did you complete the replacement? | Go to Step 13 | -- | 
| 13 | 
 Does the DTC reset? | Go to Step 2 | System OK |