GM Service Manual Online
For 1990-2009 cars only
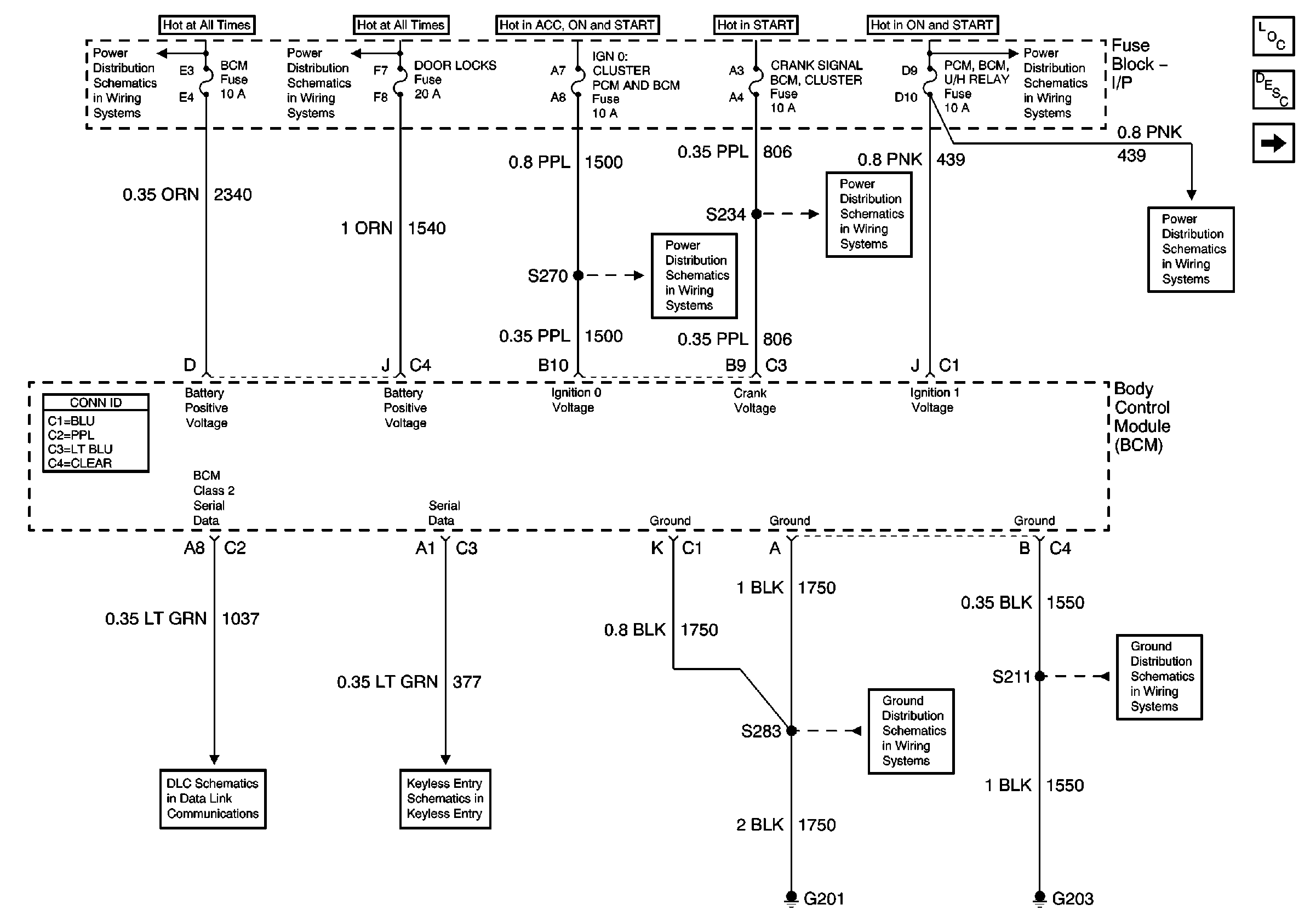
Figure 1:

Power, Grounds and DLC


Object Number: 682531  Size: FS
Master Electrical Component List original
Body Control System Description and Operation
References (1 of 2)
BTSI, Turn Signals/CORN LPS, Air Bag, Cluster, PCM/BCM/Crank/IGN Fuses
BTSI, Turn Signals/CORN LPS, Air Bag, Cluster, PCM/BCM/Crank/IGN Fuses
IGN 2, IGN 0/Cluster/PCM/BCM, Crank/Signal/BCM/Cluster Fuses
IGN 2, IGN 0/Cluster/PCM/BCM, Crank/Signal/BCM/Cluster Fuses
HIGH BLOWER, HAZARD, STOP LAMPS, DOOR LOCKS, POWER MIRRORS Fuses
INADV POWER BUS/RAP, BCM, RADIO/HVAC/RFA/CLUSTER/DATA LINK, CIGAR LTR/AUXPOWER/POWER DROP Fuses and RAP Relay
Ground G201
Ground G203
Figure 2:

References (1 of 2)


Object Number: 682563  Size: FS
Master Electrical Component List original
Body Control System Description and Operation
References (2 of 2)
Power, Grounds and DLC
Figure 3:

References (2 of 2)


Object Number: 688879  Size: FS
Master Electrical Component List original
Body Control System Description and Operation
References (1 of 2)