GM Service Manual Online
For 1990-2009 cars only
Makes
🢒
Oldsmobile
🢒
2001
🢒
Intrigue
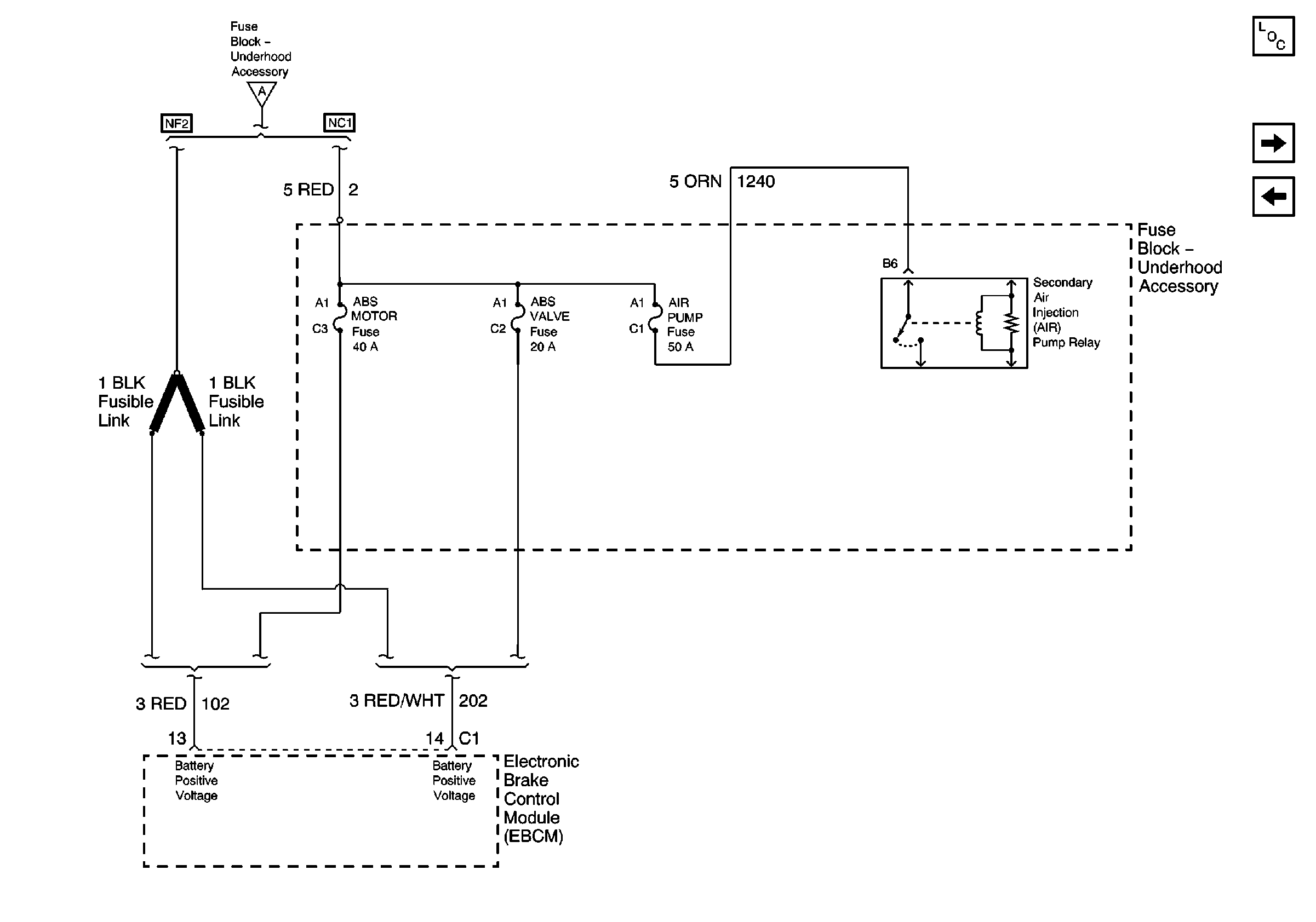
🢒 Fusible Link, AIR Pump Relay, ABS Motor, ABS Valve and AIR Pump Fuses
Fusible Link, AIR Pump Relay, ABS Motor, ABS Valve and AIR Pump Fuses
Fusible Link, AIR Pump Relay, ABS Motor, ABS Valve and AIR Pump Fuses
Master Electrical Component List original
INADV POWER BUS/RAP, BCM, RADIO/HVAC/RFA/CLUSTER/DATA LINK, CIGAR LTR/AUXPOWER/POWER DROP Fuses and RAP Relay
Battery, MaxiFuses, Fusible Link, CRANK, FOG, A/C CLU, R/CMPT, R/PMP, HORN, and IGN Main Relays