GM Service Manual Online
For 1990-2009 cars only
Figure 1:

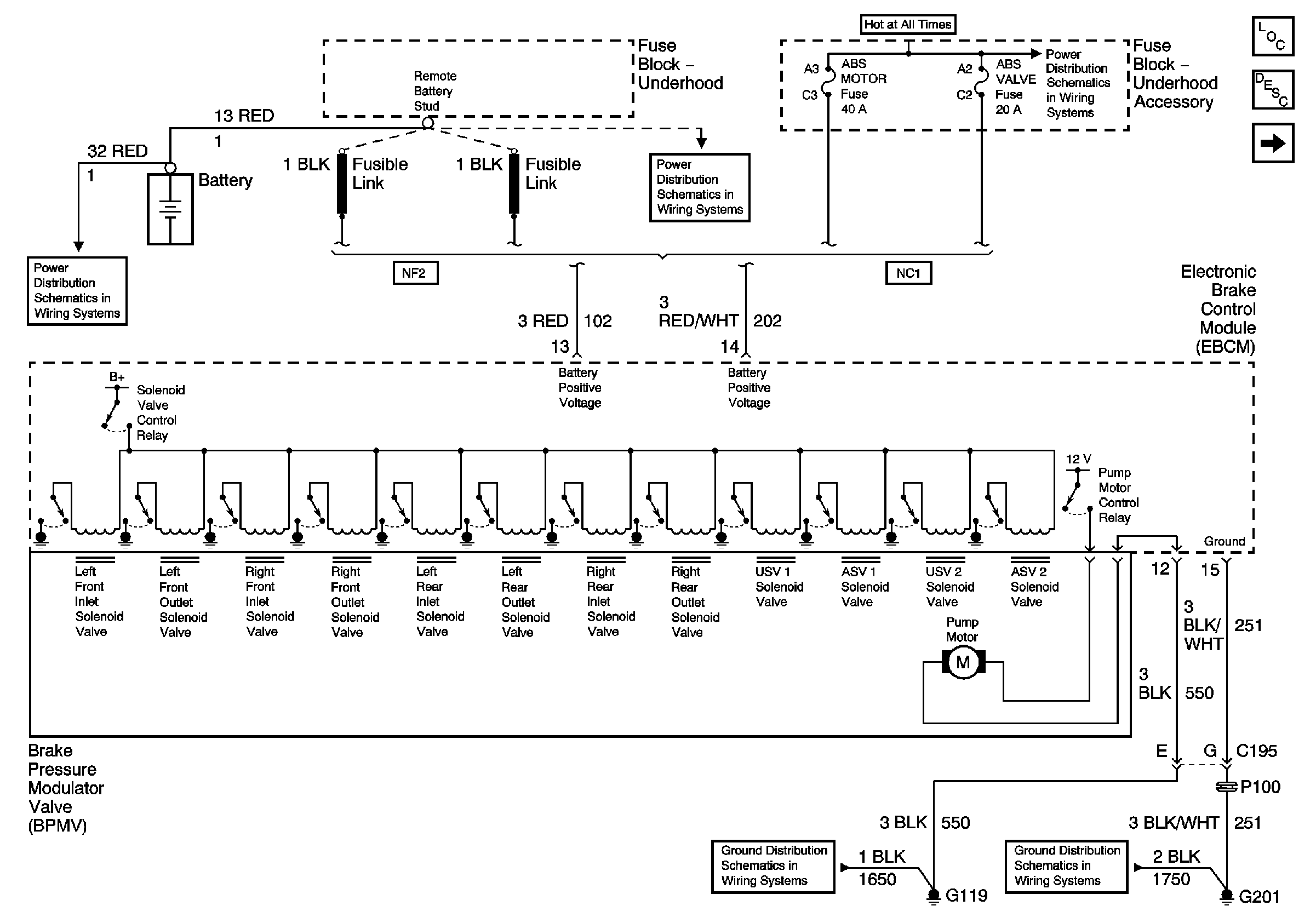
Power, Grounds, and BPMV


Object Number: 792117  Size: FS
Master Electrical Component List
ABS Description and Operation
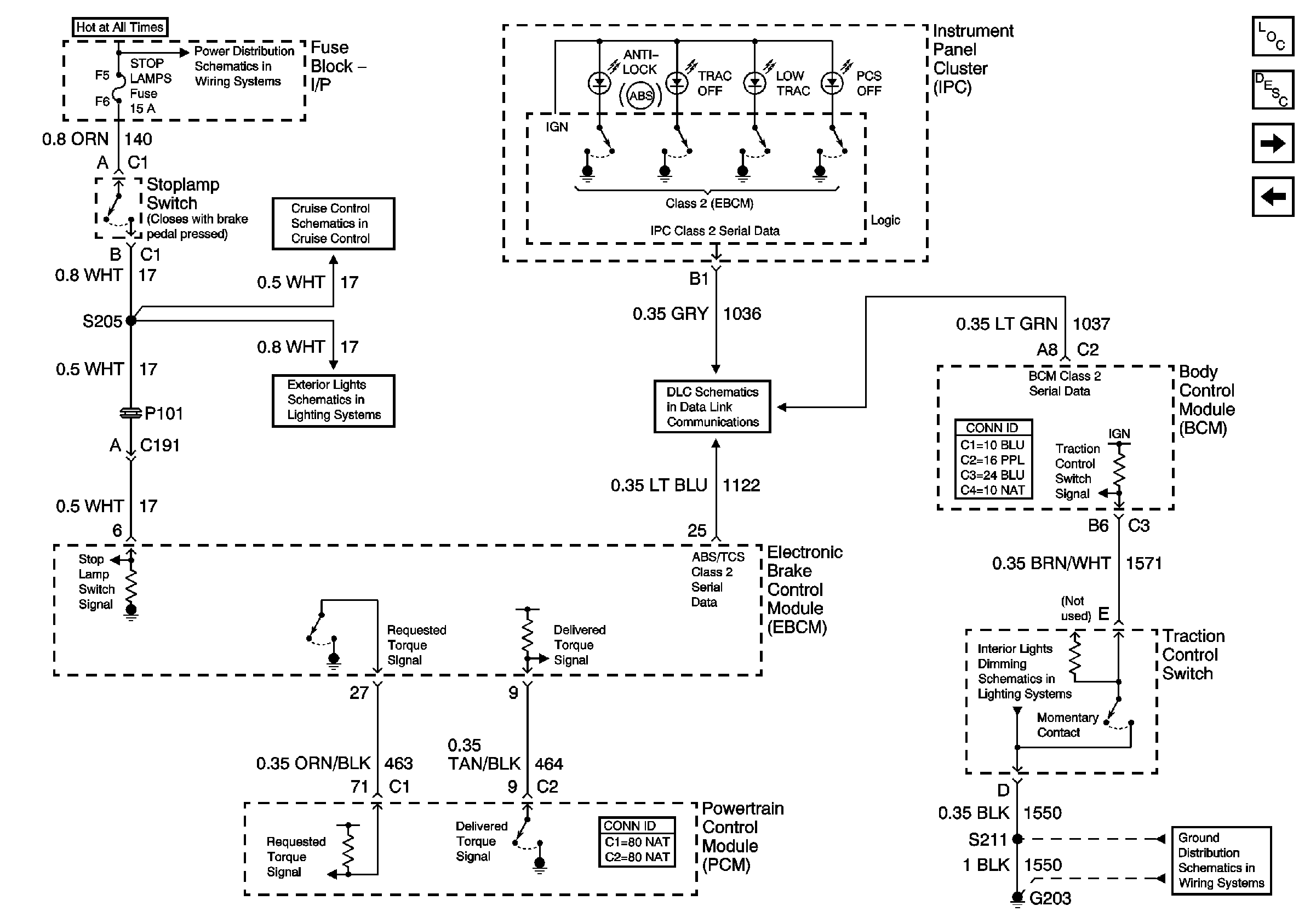
ABS Indicator, Torque Signals, and Traction Control Switch
Fuse Block-Underhood Bussing (1 of 2)
Fuse Block-Underhood Bussing (1 of 2)
Fuse Block-Underhood Accessory
G113, G117, G119)
G201
Figure 2:

ABS Indicator, Torque Signals, and Traction Control Switch


Object Number: 792160  Size: FS
Master Electrical Component List
ABS Description and Operation
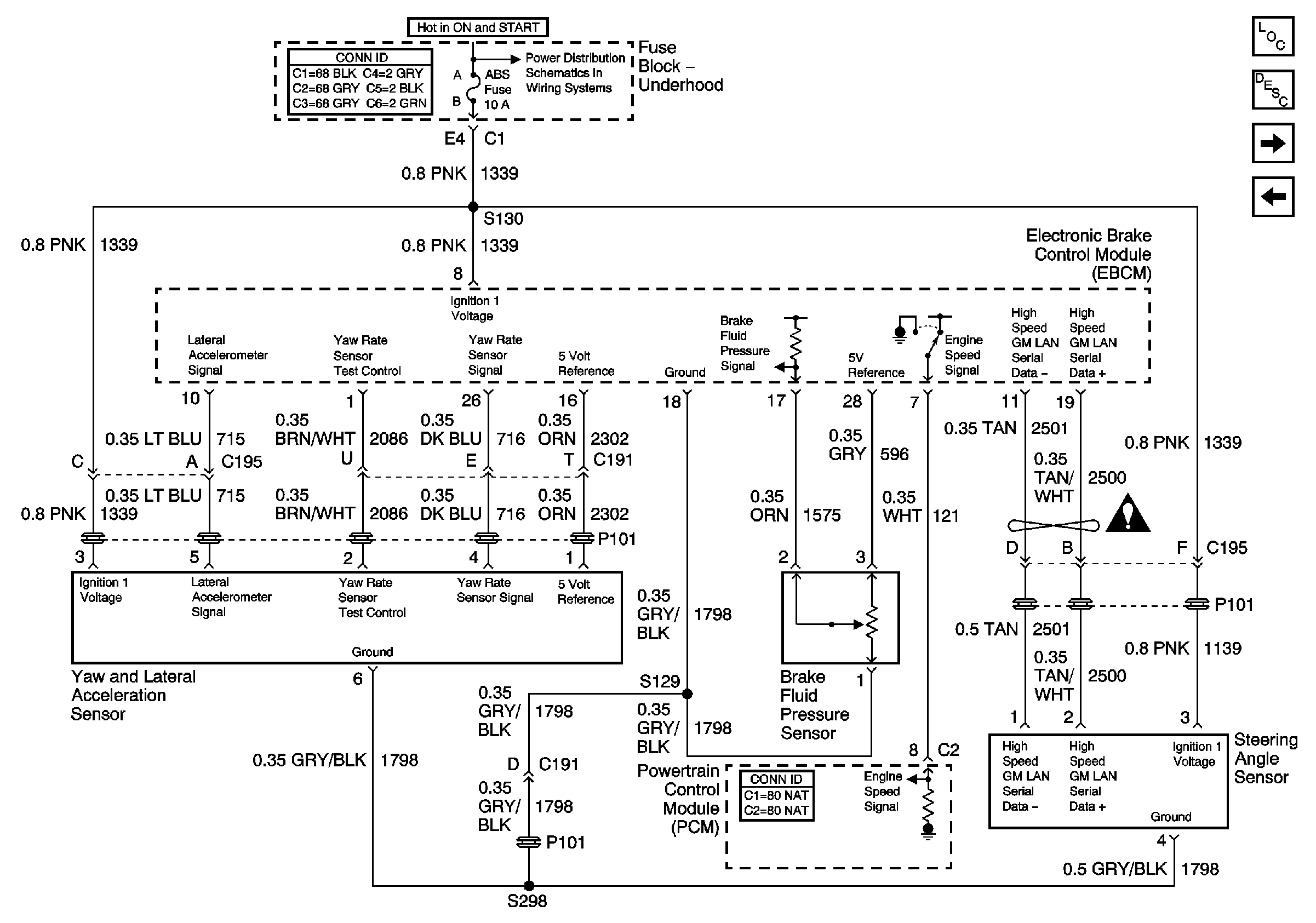
YAW and Lateral, Brake Pressure, and Steering Angle Sensors
Power, Grounds, and BPMV
HIGH BLOWER, HAZARD, STOP LAMPS, DOOR LOCKS, and POWER MIRRORS Fuses
Power, and Control Signals
Stop Lamps
DLC, and Splice Pack
G203
Figure 3:

Yaw and Lateral, Brake Pressure, and Steering Angle Sensors


Object Number: 675347  Size: FS
Master Electrical Component List
ABS Description and Operation
Wheel Speed Sensors
ABS Indicator, Torque Signals, and Traction Control Switch
Fuse Block-Underhood Bussing (2 of 2)
Antilock Brake System Schematic Icons
Figure 4:

Wheel Speed Sensors


Object Number: 675348  Size: FS
Master Electrical Component List
ABS Description and Operation
YAW and Lateral, Brake Pressure, and Steering Angle Sensors
Antilock Brake System Schematic Icons
Antilock Brake System Schematic Icons
Antilock Brake System Schematic Icons
Antilock Brake System Schematic Icons
Antilock Brake System Schematic Icons
Antilock Brake System Schematic Icons