GM Service Manual Online
For 1990-2009 cars only

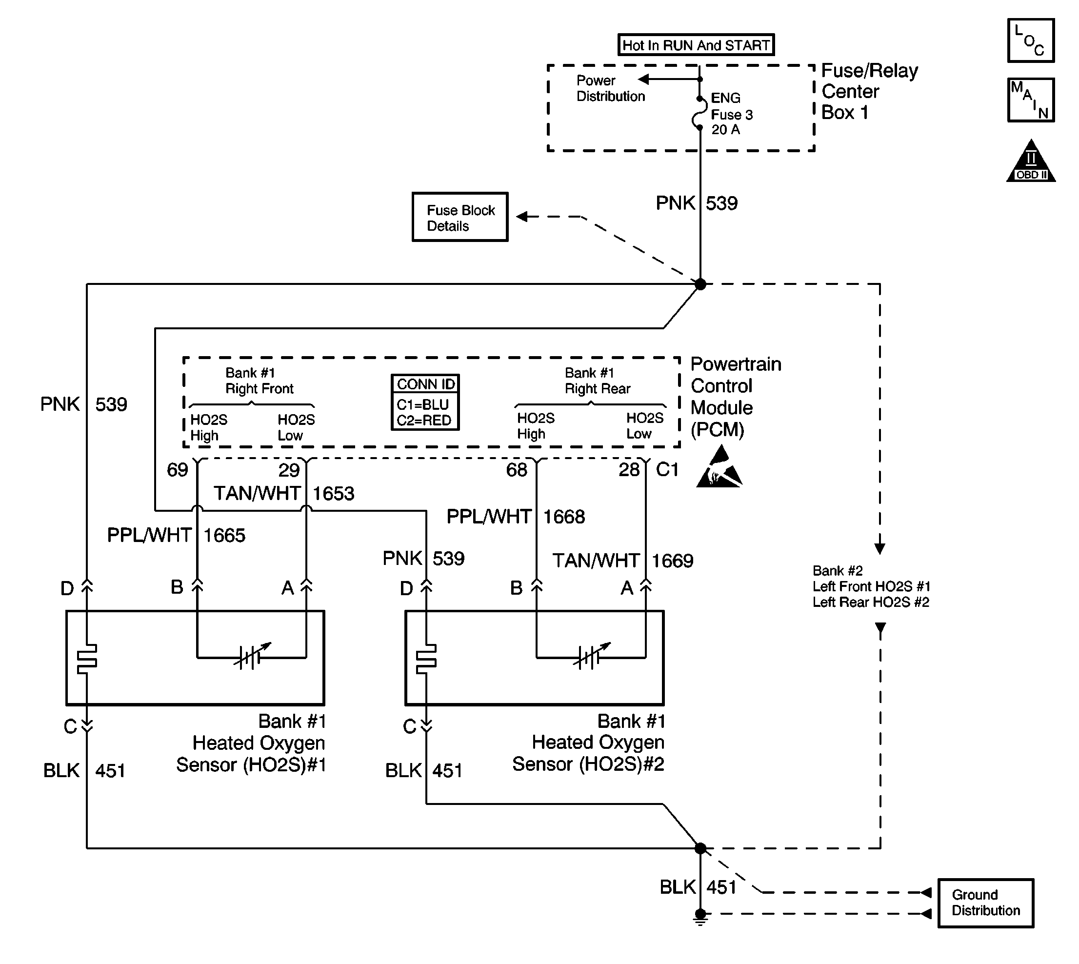
Object Number: 626197  Size: LF
Engine Controls Components
Heated Oxygen Sensors
OBD II Symbol Description Notice
Powertrain Control Module Connector End Views
Handling ESD Sensitive Parts Notice

Circuit Description

The powertrain control module (PCM) supplies a voltage of about 450 mV between the heated oxygen sensor (HO2S) high and low signal circuits. The oxygen sensor varies the voltage over a range from about 1,000 mV when the exhaust is rich, down through about 10 mV when the exhaust is lean.

The PCM monitors and stores the HO2S voltage information. The PCM evaluates the HO2S voltage samples in order to determine the amount of time the HO2S voltage was out of range. The PCM compares the stored HO2S voltage samples taken within each sample period and determines if the majority of the samples are out of the operating range.

The PCM monitors the HO2S voltage and detects if the voltage goes out of the bias range. If the PCM does not detect the voltage went out of the bias range, this diagnostic trouble code (DTC) sets.

Conditions for Running the DTC

    • DTCs P0101, P0102, P0103, P0112, P0113, P0117, P0118, P0121, P0122, P0123, P0125, P0200, P1258, and the ignition control (IC) DTCs are not set.
    • The ignition voltage is more than 9.0 volts.
    • The catalyst diagnostics are not active.
    • The fuel system is operating in Closed Loop.
    • The engine run time is more than 70  seconds.

Conditions for Setting the DTC

    • The HO2S signal voltage is steady between 350 mV and 550 mV.
    • The conditions are present for 60 seconds.

Action Taken When the DTC Sets

    • The PCM illuminates the malfunction indicator lamp (MIL) on the second consecutive ignition cycle that the diagnostic runs and fails.
    • The PCM records the operating conditions at the time the diagnostic fails. The first time the diagnostic fails, the PCM stores this information in the Failure Records. If the diagnostic reports a failure on the second consecutive ignition cycle, the PCM records the operating conditions at the time of the failure. The PCM writes the conditions to the Freeze Frame and updates the Failure Records.

Conditions for Clearing the MIL/DTC

    • The PCM turns OFF the malfunction indicator lamp (MIL) after 3 consecutive ignition cycles that the diagnostic runs and does not fail.
    • A last test failed, or current DTC, clears when the diagnostic runs and does not fail.
    • A history DTC clears after 40 consecutive warm-up cycles, if no failures are reported by this or any other emission related diagnostic.
    • Use a scan tool in order to clear the MIL and the DTC.

Diagnostic Aids

Important: 

   • Remove any debris from the PCM connector surfaces before servicing the PCM. Inspect the PCM connector gaskets when diagnosing or replacing the PCM. Ensure that the gaskets are installed correctly. The gaskets prevent contaminant intrusion into the PCM.
   • For any test that requires probing the PCM or component harness connectors, use the J 35616 connector test adapter kit. Using this kit prevents any damage to the harness connector terminals. Refer to Using Connector Test Adapters in Wiring Systems.

    • An oxygen supply inside the HO2S is necessary for proper operation. The HO2S wires provides the supply of oxygen. Inspect the HO2S wires and connections for breaks or contamination. Refer to Heated Oxygen Sensor Wiring Repairs in Wiring Systems.
    •  For an intermittent condition, refer to Symptoms .

Test Description

The numbers below refer to the step numbers on the diagnostic table.

  1. The engine must be at the normal operating temperature before performing this test.

  2. Using the Freeze Frame and/or Failure Records data may aid in locating an intermittent condition. If you can not duplicate the DTC, the information included in the Freeze Frame and/or Failure Records data can help determine how many miles since the DTC set. The Fail Counter and Pass Counter can also be used to determine how many ignition cycles the diagnostic reported a pass and/or a fail. Operate the vehicle within the same Freeze Frame conditions, such as RPM, load, vehicle speed, temperature, that the PCM recorded. This isolates when the DTC failed.

  3. If the scan tool indicates the HO2S voltage goes below 200 mV, this indicates the HO2S circuits and PCM are OK.

  4. This step verifies whether the signal circuit from the PCM is OK.

  5. This step verifies whether the low signal circuit from the PCM is OK. A voltage indicates the PCM and wiring are OK.

  6. Disconnecting the PCM allows using a DMM in order to test continuity of the circuits. This aids in locating an open or shorted circuit.

Step

Action

Value(s)

Yes

No

1

Did you perform the Powertrain On-Board Diagnostic (OBD) System Check?

--

Go to Step 2

Go to Powertrain On Board Diagnostic (OBD) System Check

2

Important: Inspect the HO2S for being secure before proceeding with this DTC. A sensor that is loose could cause this DTC to set.

  1. Install a scan tool.
  2. Idle the engine at the normal operating temperature.
  3. Operate the engine above 1,200 RPM for two minutes.
  4. Monitor the HO2S voltage display with the scan tool.

Does the scan tool indicate the HO2S voltage varying outside the specified range?

350-550 mV

Go to Step 3

Go to Step 4

3

  1. Review the Freeze Frame and/or Failure Records data for this DTC.
  2. Turn OFF the ignition for 30 seconds.
  3. Start the engine.
  4. Operate the vehicle within the Conditions for Running the DTC as specified in the supporting text or as close to the Freeze Frame and/or Failure Records data that you observe.

Does the DTC reset?

--

Go to Step 4

Go to Diagnostic Aids

4

  1. Turn ON the ignition leaving the engine OFF.
  2. Disconnect the HO2S.
  3. Jumper the PCM side of the HO2S high and low signal circuits to a battery ground.
  4. Monitor the HO2S voltage with the scan tool.

Is the HO2S voltage below the specified value?

200 mV

Go to Step 8

Go to Step 5

5

  1. Remove the jumper wire from the HO2S low circuit.
  2. Measure the voltage from the HO2S low signal circuit to a battery ground using the DMM.

Does the DMM indicate near the specified value?

5 Volts

Go to Step 6

Go to Step 7

6

  1. Turn OFF the ignition.
  2. Disconnect the PCM connector C1 located on the same side as the manufacturer logo. Refer to Powertrain Control Module Replacement/Programming .
  3. Test the continuity of the HO2S high circuit. Refer to Testing for Continuity in Wiring Systems.
  4. Repair the open circuit if no continuity is indicated on the DMM. Refer to Wiring Repairs in Wiring Systems.

Did you find and correct the HO2S high circuit condition?

--

Go to Step 12

Go to Step 10

7

  1. Turn OFF the ignition.
  2. Disconnect the PCM connector C1 located on the same side as the manufacturer logo. Refer to Powertrain Control Module Replacement/Programming .
  3. Test the continuity of the HO2S low circuit. Refer to Testing for Continuity in Wiring Systems.
  4. Repair the open or the poor connection if no continuity is indicated on the DMM. Refer to Wiring Repairs in Wiring Systems.

Did you find and repair the condition?

--

Go to Step 12

Go to Step 10

8

  1. Inspect the HO2S circuits for a poor connection at the HO2S harness connector, or inspect for an open in the HO2S high and low circuits from the PCM to the HO2S.
  2. If you find a poor or open connection, repair as necessary. Refer to Wiring Repairs in Wiring Systems.

Did you find and repair the condition?

--

Go to Step 12

Go to Step 9

9

Replace the HO2S. Refer to Heated Oxygen Sensor Replacement - Bank 1 Sensor 1 or Heated Oxygen Sensor Replacement - Bank 1 Sensor 2 .

Is the action complete?

--

Go to Step 12

--

10

  1. Inspect the HO2S circuits for a poor connection at the PCM. Refer to Intermittents and Poor Connections Diagnosis in Wiring Systems.
  2. If you find a poor connection, repair as necessary. Refer to Repairing Connector Terminals in Wiring Systems.

Did you find and repair the condition?

--

Go to Step 12

Go to Step 11

11

Important: The replacement PCM must be programmed.

Replace the PCM. Refer to Powertrain Control Module Replacement/Programming .

Is the action complete?

--

Go to Step 12

--

12

  1. Select the Diagnostic Trouble Code (DTC) option and the Clear DTC Information option using the scan tool.
  2. Idle the engine at the normal operating temperature.
  3. Select the Diagnostic Trouble Code (DTC) option and the Specific DTC option, then enter the DTC number using the scan tool.
  4. Operate the vehicle within the Conditions for Running the DTC as specified in the supporting text, if applicable.

Does the scan tool indicate that this test ran and passed?

--

Go to Step 13

Go to Step 2

13

Select the Capture Info option and the Review Info option using the scan tool.

Does the scan tool display any DTCs that you have not diagnosed?

--

Go to the applicable DTC table

System OK