GM Service Manual Online
For 1990-2009 cars only
Makes
🢒
Oldsmobile
🢒
2002
🢒
Silhouette Ext.
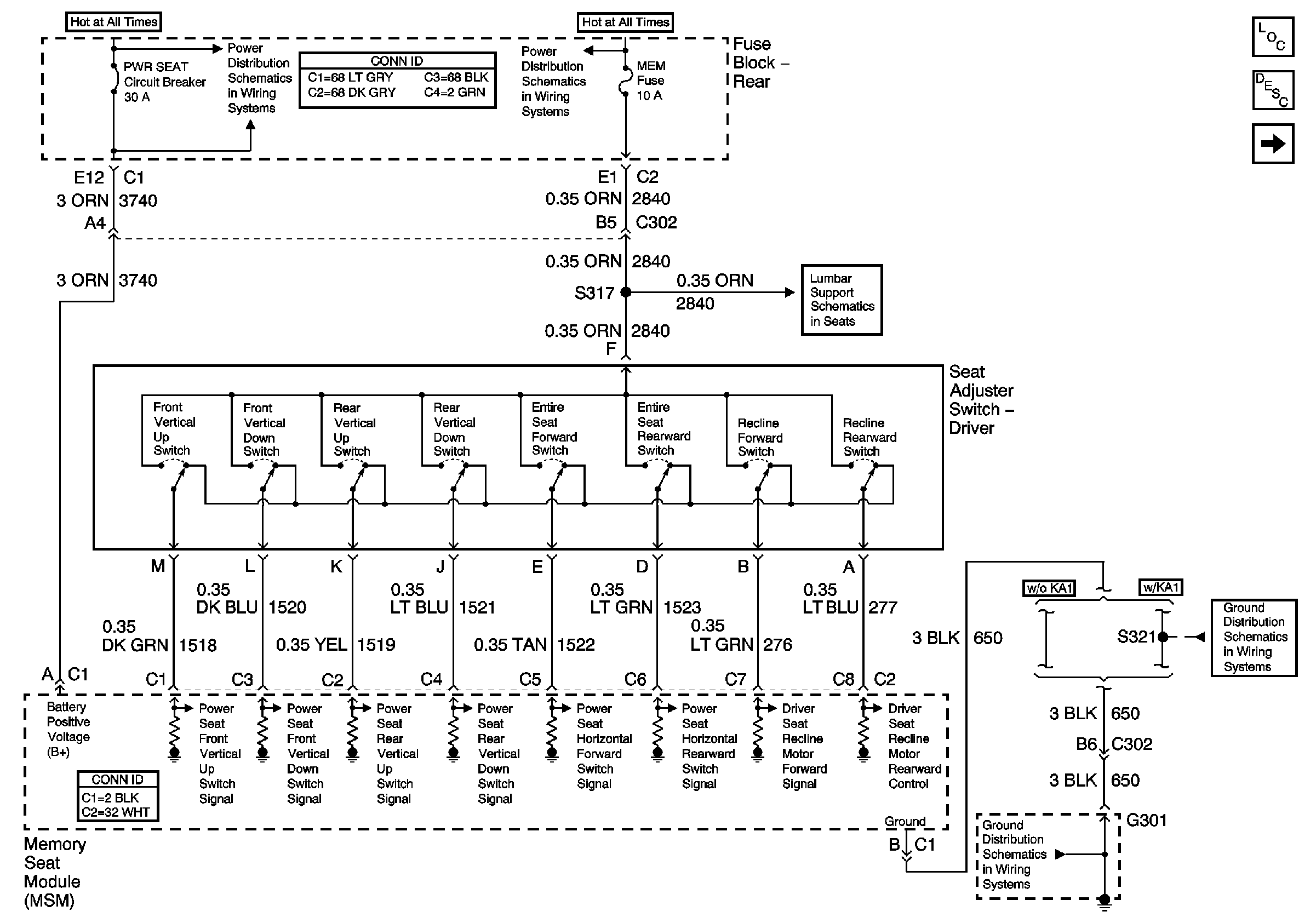
🢒 Power, Ground, Left Seat Switch and the MSM
Power, Ground, Left Seat Switch and the MSM
Power, Ground, Left Seat Switch and the MSM
Master Electrical Component List
PWR WDO and PWR SEAT Fuses (Fuse Block - Rear)
HTDST RF, HTDST LF, DIM, and MEM Fuses ( Fuse Block - Rear)
w/A45
G301 (2 of 2)
G301 (2 of 2)
Memory Function Switch Controls