GM Service Manual Online
For 1990-2009 cars only
Makes
🢒
Oldsmobile
🢒
2002
🢒
Silhouette Ext.
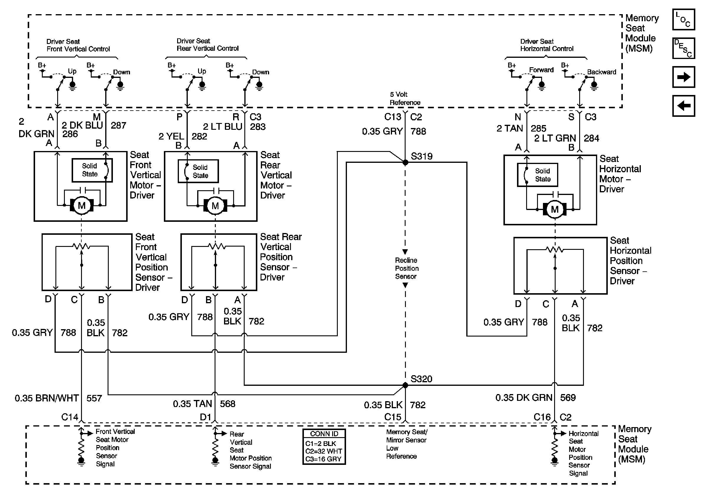
🢒 Vertical and Horizontal Motors and Sensors
Vertical and Horizontal Motors and Sensors
Vertical and Horizontal Motors and Sensors
Master Electrical Component List
Recline Motor and Sensor
Memory Function Switch Controls
Recline Motor and Sensor