GM Service Manual Online
For 1990-2009 cars only
Makes
🢒
Oldsmobile
🢒
2002
🢒
Silhouette Ext.
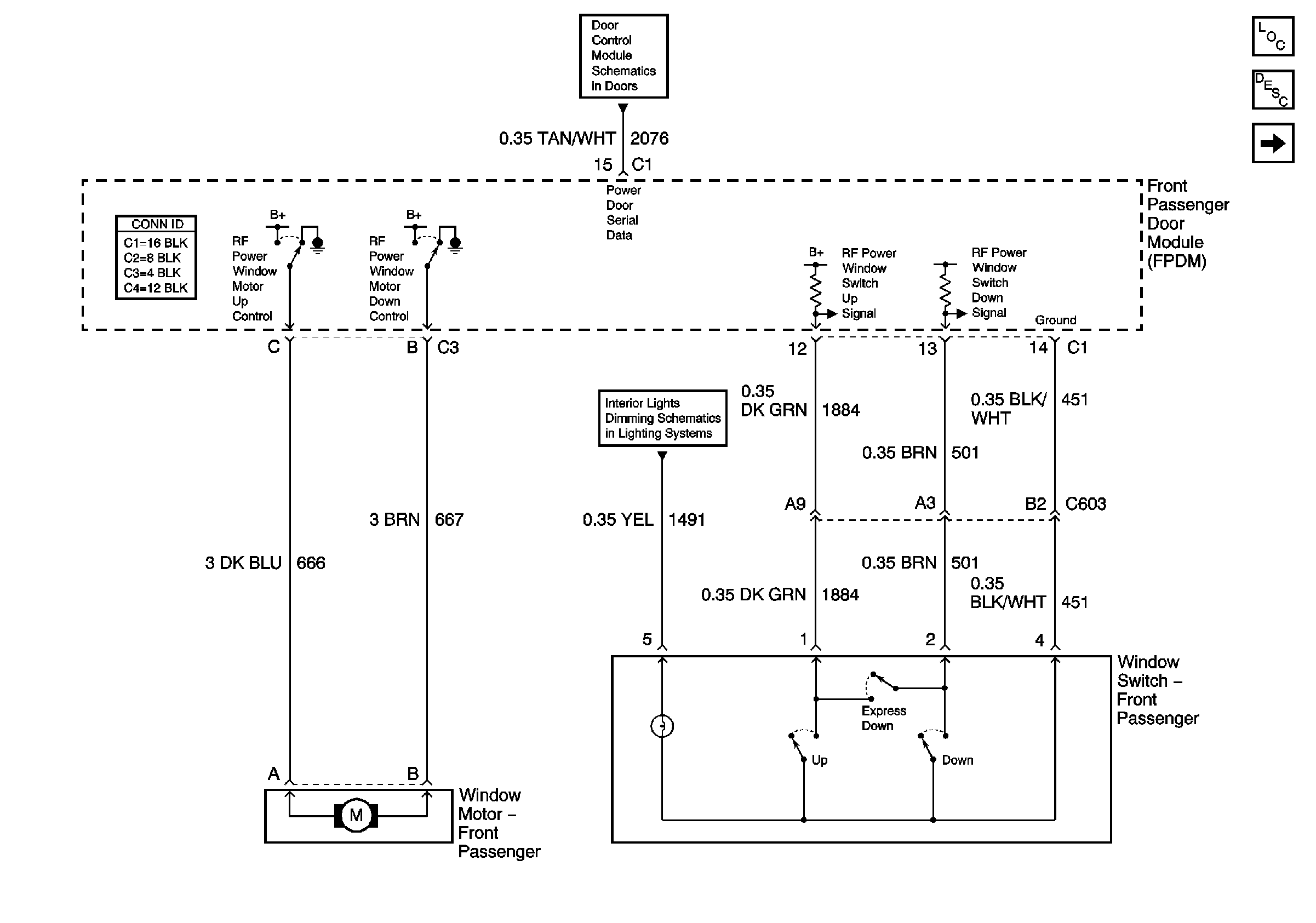
🢒 Right Front Door
Right Front Door
Right Front Door
Master Electrical Component List
Simple Bus Interface (SBI)
Front Door Dimming
Left Front Door