GM Service Manual Online
For 1990-2009 cars only
Figure 1:

Cell 11: UH: A/C CLU, ELEK IGN, and TCC Fuses


Object Number: 323872  Size: FS
Power and Grounding Components
Cell 11: UH: IGN 1
Cell 11: UH: IGN 1
Figure 2:

Cell 11: UH: IGN 1


Object Number: 323876  Size: FS
Power and Grounding Components
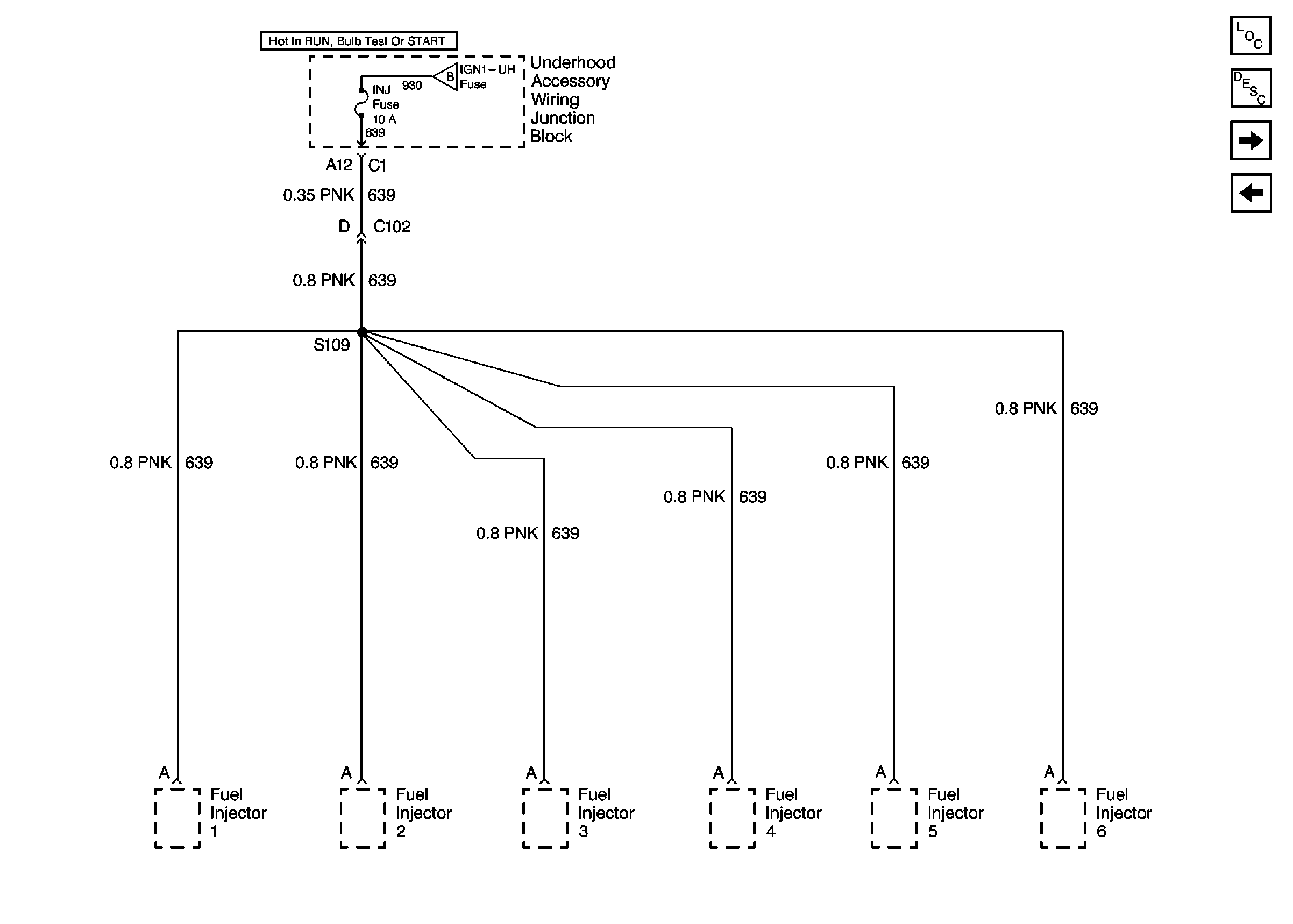
Cell 11: UH: INJ Fuse
Cell 11: UH: A/C CLU, ELEK IGN, and TCC Fuses
Cell 11: UH: INJ Fuse
Cell 11: UH: A/C CLU, ELEK IGN, and TCC Fuses
Figure 3:

Cell 11: UH: INJ Fuse


Object Number: 323879  Size: FS
Power and Grounding Components
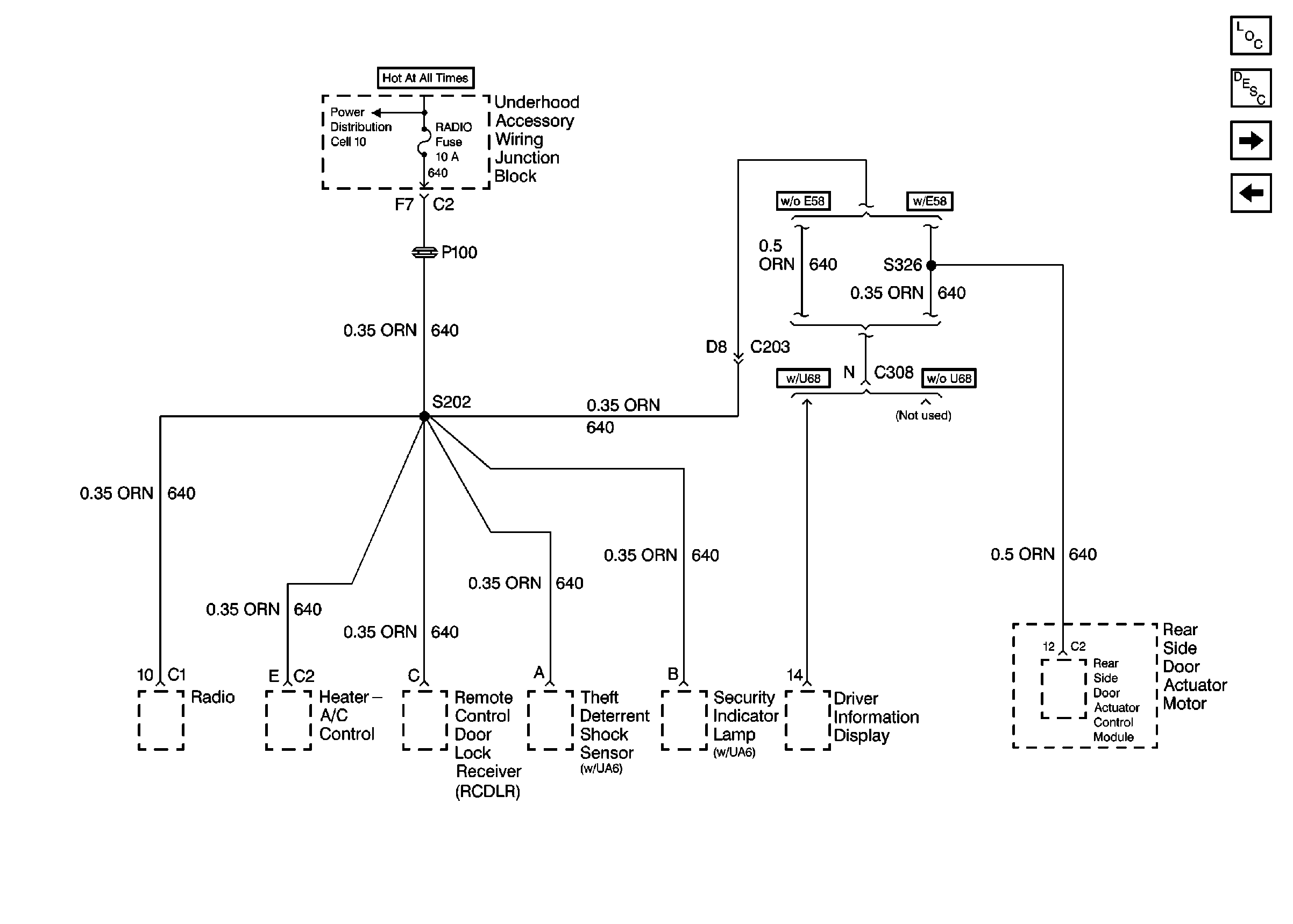
Cell 11: UH: Radio Fuse
Cell 11: UH: IGN 1
Cell 11: UH: IGN 1
Figure 4:

Cell 11: UH: Radio Fuse


Object Number: 323881  Size: FS
Power and Grounding Components
Cell 11: UH: ALT Sense, B/U Lamp, ECM Sense, Fog LP, Fuel Pump, Horn and Park LP Fuses
Cell 11: UH: INJ Fuse
Cell 10: EBCM, EBTCM, Battery
Figure 5:

Cell 11: UH: ALT Sense, B/U Lamp, ECM Sense, Fog LP, Fuel Pump, Horn and Park LP Fuses


Object Number: 323883  Size: FS
Power and Grounding Components
Cell 11: Cruise, SIR and T/SIG Fuses
Cell 11: UH: Radio Fuse
Cell 10: EBCM, EBTCM, Battery
Figure 6:

Cell 11: Cruise, SIR and T/SIG Fuses


Object Number: 323885  Size: FS
Power and Grounding Components
Cell 11: IGN 1 Fuse
Cell 11: UH: ALT Sense, B/U Lamp, ECM Sense, Fog LP, Fuel Pump, Horn and Park LP Fuses
Cell 11: IGN 1 Fuse
Figure 7:

Cell 11: IGN 1 Fuse


Object Number: 323888  Size: FS
Power and Grounding Components
Cell 11: FRT HVAC Low/Med BLWR, HVAC/DRL, PWR QTR VENT, RR HVAC
Cell 11: Cruise, SIR and T/SIG Fuses
Cell 11: Cruise, SIR and T/SIG Fuses
Figure 8:

Cell 11: FRT HVAC Low/Med BLWR, HVAC/DRL, PWR QTR VENT, RR HVAC


Object Number: 323891  Size: FS
Power and Grounding Components
Cell 11: Cigar/DLC, CTSY Lamp, ELC, FRT PWR SCKT, PWR Mirror and RR Defog Fuses
Cell 11: IGN 1 Fuse
Figure 9:

Cell 11: Cigar/DLC, CTSY Lamp, ELC, FRT PWR SCKT, PWR Mirror and RR Defog Fuses


Object Number: 323894  Size: FS
Power and Grounding Components
Cell 11: PCM, ABS/TCS IGN, CAN VENT SOL and DRL Fuses
Cell 11: FRT HVAC Low/Med BLWR, HVAC/DRL, PWR QTR VENT, RR HVAC
Figure 10:

Cell 11: PCM, ABS/TCS IGN, CAN VENT SOL and DRL Fuses


Object Number: 323897  Size: FS
Power and Grounding Components
Cell 11: ABS MOD BATT, Hazard, PWR Lock, RR PWR SCKT and Stop Lamp Fuses
Cell 11: Cigar/DLC, CTSY Lamp, ELC, FRT PWR SCKT, PWR Mirror and RR Defog Fuses
Figure 11:

Cell 11: ABS MOD BATT, Hazard, PWR Lock, RR PWR SCKT and Stop Lamp Fuses


Object Number: 323899  Size: FS
Power and Grounding Components
Cell 11: BCM PRGRM, FRT WPR/WSHR, MALL/Radio/DIC, RR WPR/WSHR and SWCACCY Fuses
Cell 11: PCM, ABS/TCS IGN, CAN VENT SOL and DRL Fuses
Figure 12:

Cell 11: BCM PRGRM, FRT WPR/WSHR, MALL/Radio/DIC, RR WPR/WSHR and SWC ACCY Fuses


Object Number: 462177  Size: FS
Power and Grounding Components
Cell 11: ABS SOL, ELEC PRNDL, and SWC Backlight Fuses
Cell 11: ABS MOD BATT, Hazard, PWR Lock, RR PWR SCKT and Stop Lamp Fuses
Figure 13:

Cell 11: ABS SOL, ELEC PRNDL, and SWC Backlight Fuses


Object Number: 323904  Size: FS
Power and Grounding Components
Cell 11: FRT HVAC HI BLWR, HEADLAMP, PWR SEAT/PSD and PWR WDO CKT Breakers
Cell 11: BCM PRGRM, FRT WPR/WSHR, MALL/Radio/DIC, RR WPR/WSHR and SWCACCY Fuses
Cell 61
Figure 14:

Cell 11: FRT HVAC HI BLWR, HEADLAMP, PWR SEAT/PSD and PWR WDO CKT Breakers


Object Number: 323906  Size: FS
Power and Grounding Components
Cell 11: ABS SOL, ELEC PRNDL, and SWC Backlight Fuses