GM Service Manual Online
For 1990-2009 cars only
Makes
🢒
Pontiac
🢒
2000
🢒
Bonneville
🢒
Transmission/Transaxle
🢒
Automatic Transaxle - 4T65-E
🢒 Shift Lock Control Schematics
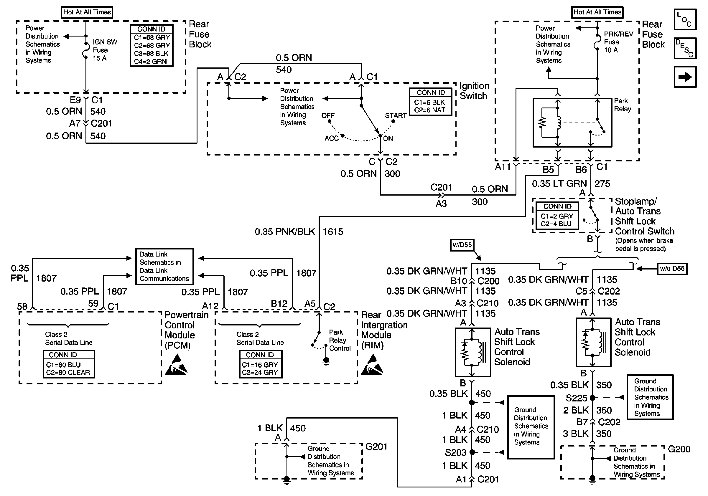
Figure
1:
Auto Trans Shift Lock Control Solenoid: Class 2
Automatic Transmission Components
Automatic Transmission Shift Lock Control Circuit Description
Internal Mode Switch Inputs
IGN SW and NSBU Fuses (Rear Fuse Block)
Ignition Switch
IGN SW and NSBU Fuses (Rear Fuse Block)
Serial Data Class 2
G201 (1 of 3)
G201 (1 of 3)
G200 (1 of 2)
G200 (1 of 2)
Handling ESD Sensitive Parts Notice
Handling ESD Sensitive Parts Notice
Figure
2:
Internal Mode Switch Inputs
Automatic Transmission Components
Automatic Transmission Shift Lock Control Circuit Description
Auto Trans Shift Lock Control Solenoid: Class 2
G104 and G105
Handling ESD Sensitive Parts Notice