GM Service Manual Online
For 1990-2009 cars only
Figure 1:

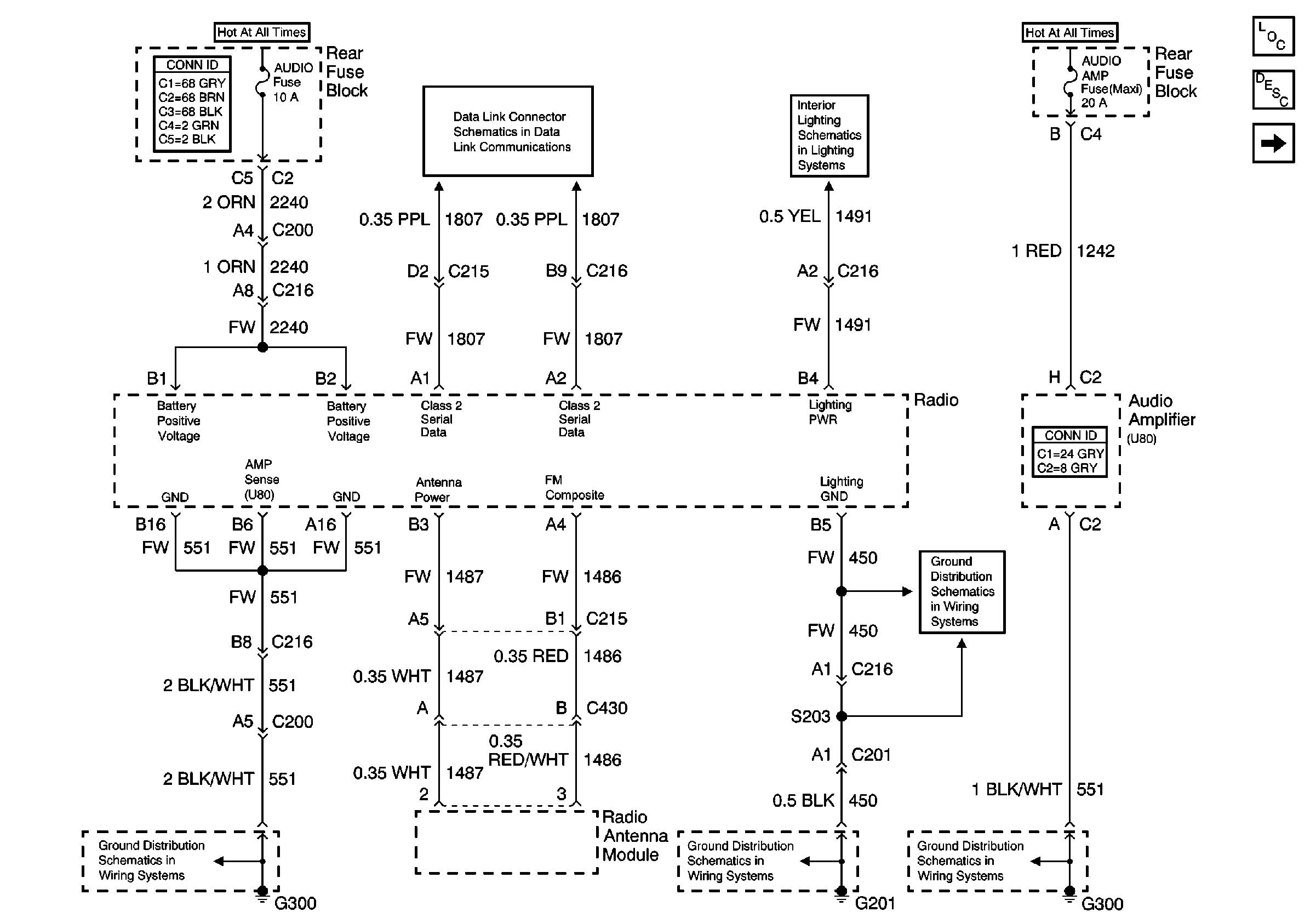
Power and Grounds


Object Number: 400044  Size: FS
Entertainment Components
Radio/Audio System Description
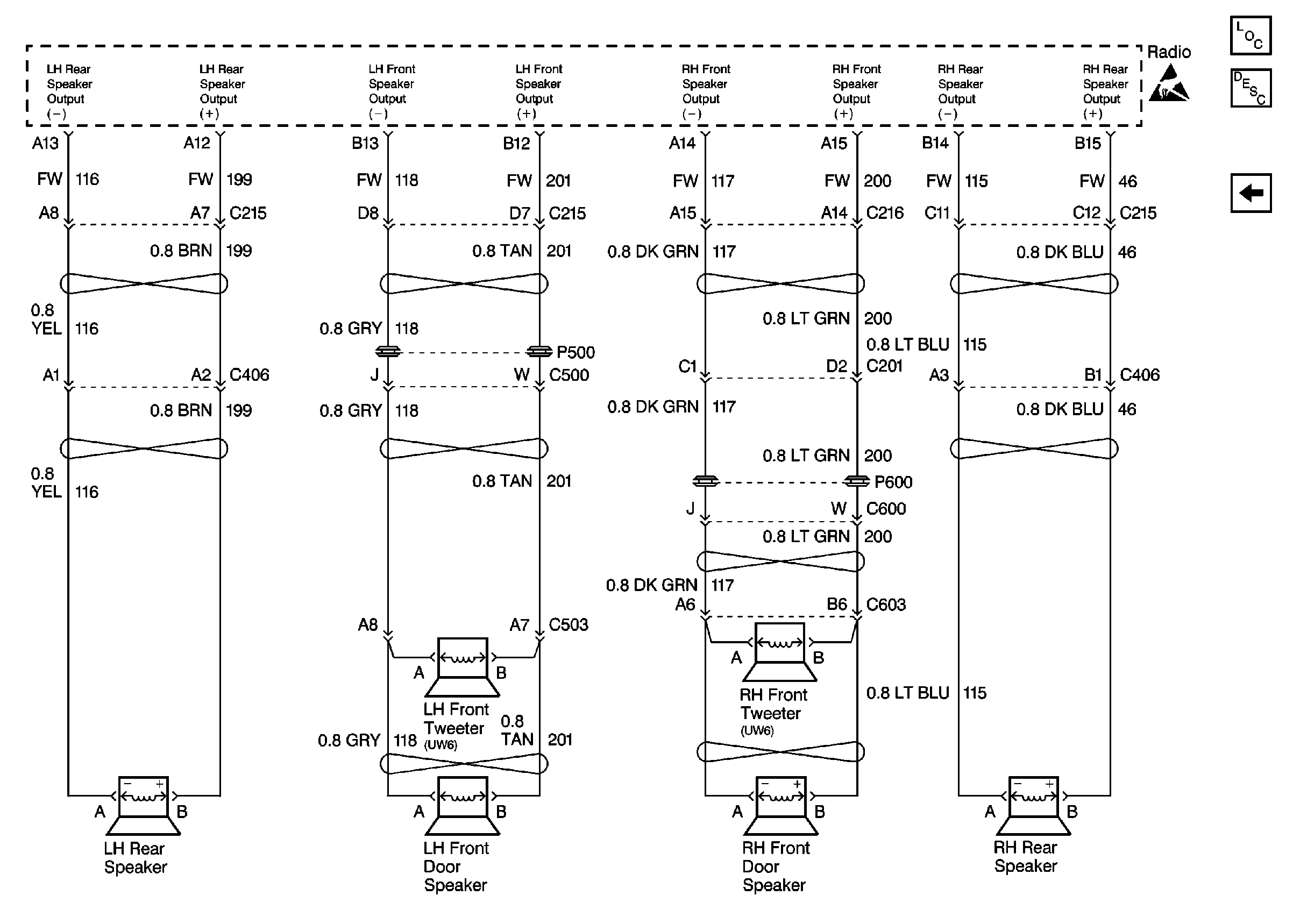
Radio Speaker Output
Instrument Panel and Console Dimming
G300
G200 (1 of 2)
G401 (1 of 2)
Figure 2:

Radio Speaker Output


Object Number: 400048  Size: FS
Entertainment Components
Radio/Audio System Description
Radio Output (U80)
Power and Grounds
Figure 3:

Radio Output (U80)


Object Number: 400045  Size: FS
Entertainment Components
Radio/Audio System Description
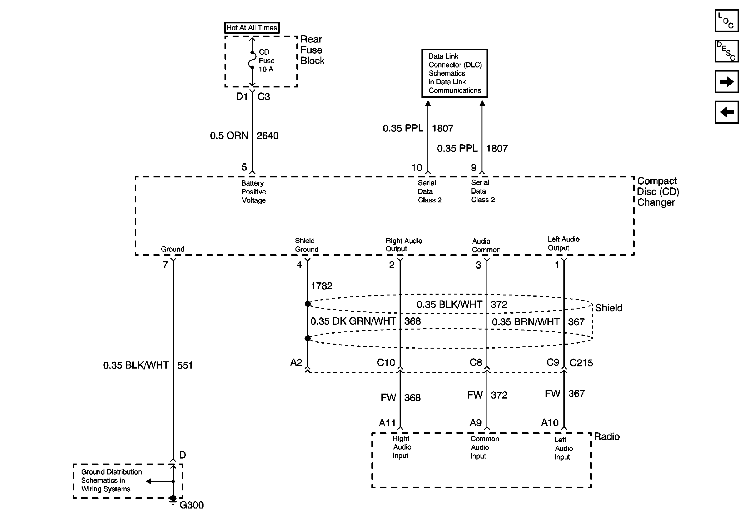
Remote Compact Disc (CD) Player
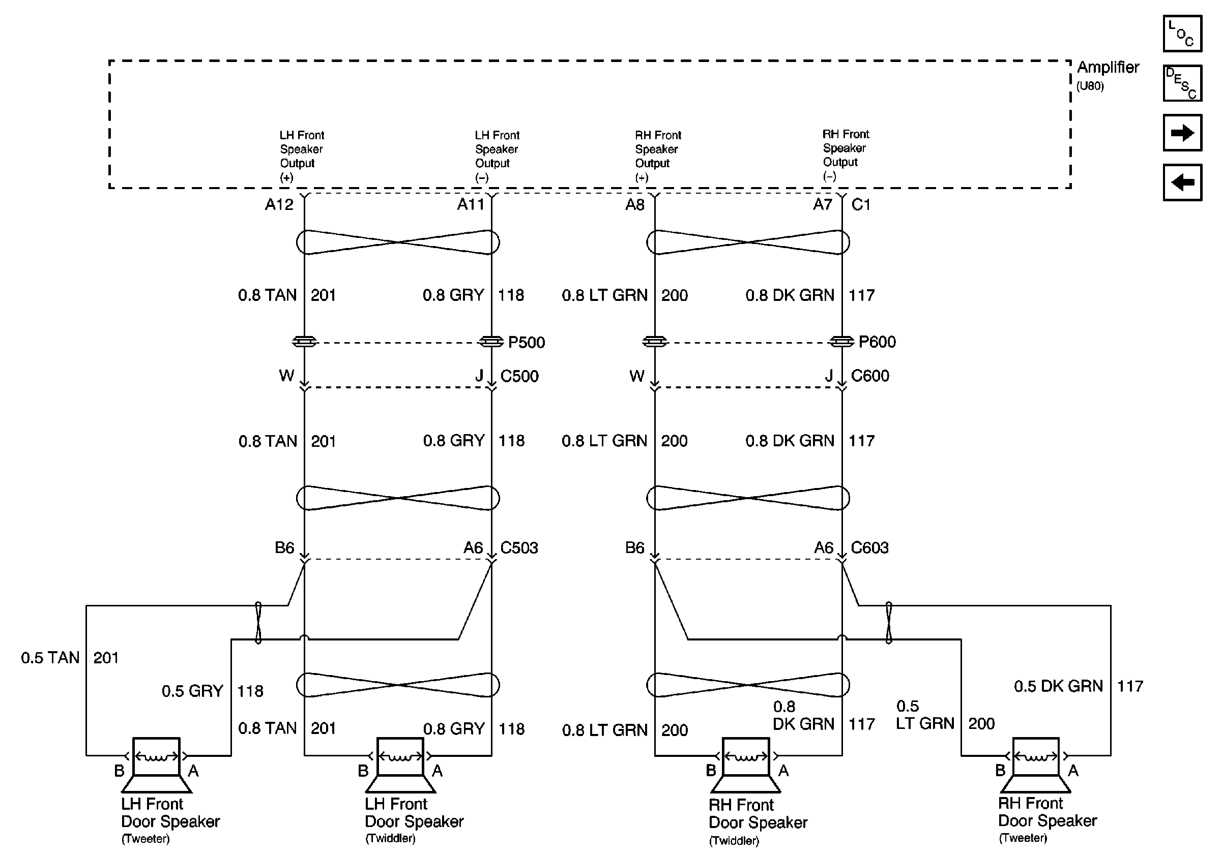
Front Speaker Output (U80)
Figure 4:

Front Speaker Output (U80)


Object Number: 400056  Size: FS
Entertainment Components
Radio/Audio System Description
Rear Speaker Output (U80)
Radio Output (U80)
Figure 5:

Rear Speaker Output (U80)


Object Number: 400054  Size: FS
Entertainment Components
Radio/Audio System Description
Radio Output (U80)
Power and Grounds
Figure 6:

Remote Compact Disc (CD) Player


Object Number: 400038  Size: FS
Entertainment Components
Radio/Audio System Description
Steering Wheel Controls
Rear Speaker Output (U80)
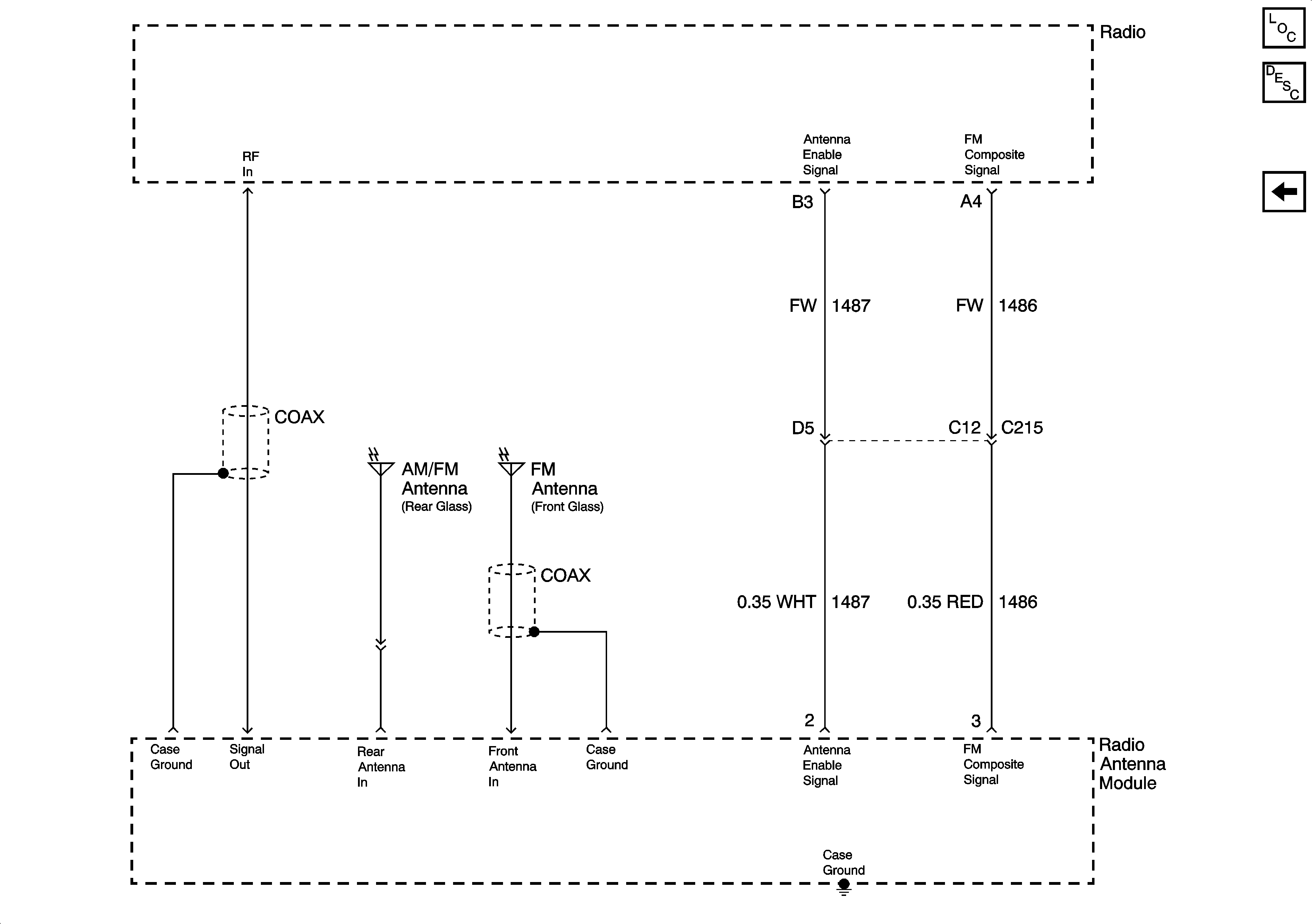
Figure 7:

Antenna Module


Object Number: 400039  Size: FS