GM Service Manual Online
For 1990-2009 cars only
Makes
🢒
Pontiac
🢒
2000
🢒
Bonneville
🢒
Body and Accessories
🢒
Retained Accessory Power
🢒 Retained Accessory Power (RAP) Schematics
Figure
1:
Power, Ground, and Components
Retained Accessory Power (RAP) Components
Retained Accessory Power (RAP) Circuit Description
Door Jamb Switches
Handling ESD Sensitive Parts Notice
Serial Data Class 2
Serial Data Class 2
Figure
2:
Door Jamb Switches
Serial Data Class 2
Simple Bus Interface
Handling ESD Sensitive Parts Notice
Handling ESD Sensitive Parts Notice
Handling ESD Sensitive Parts Notice
Handling ESD Sensitive Parts Notice
Retained Accessory Power (RAP) Components
Retained Accessory Power (RAP) Circuit Description
DIM Inputs
Power, Ground, and Components
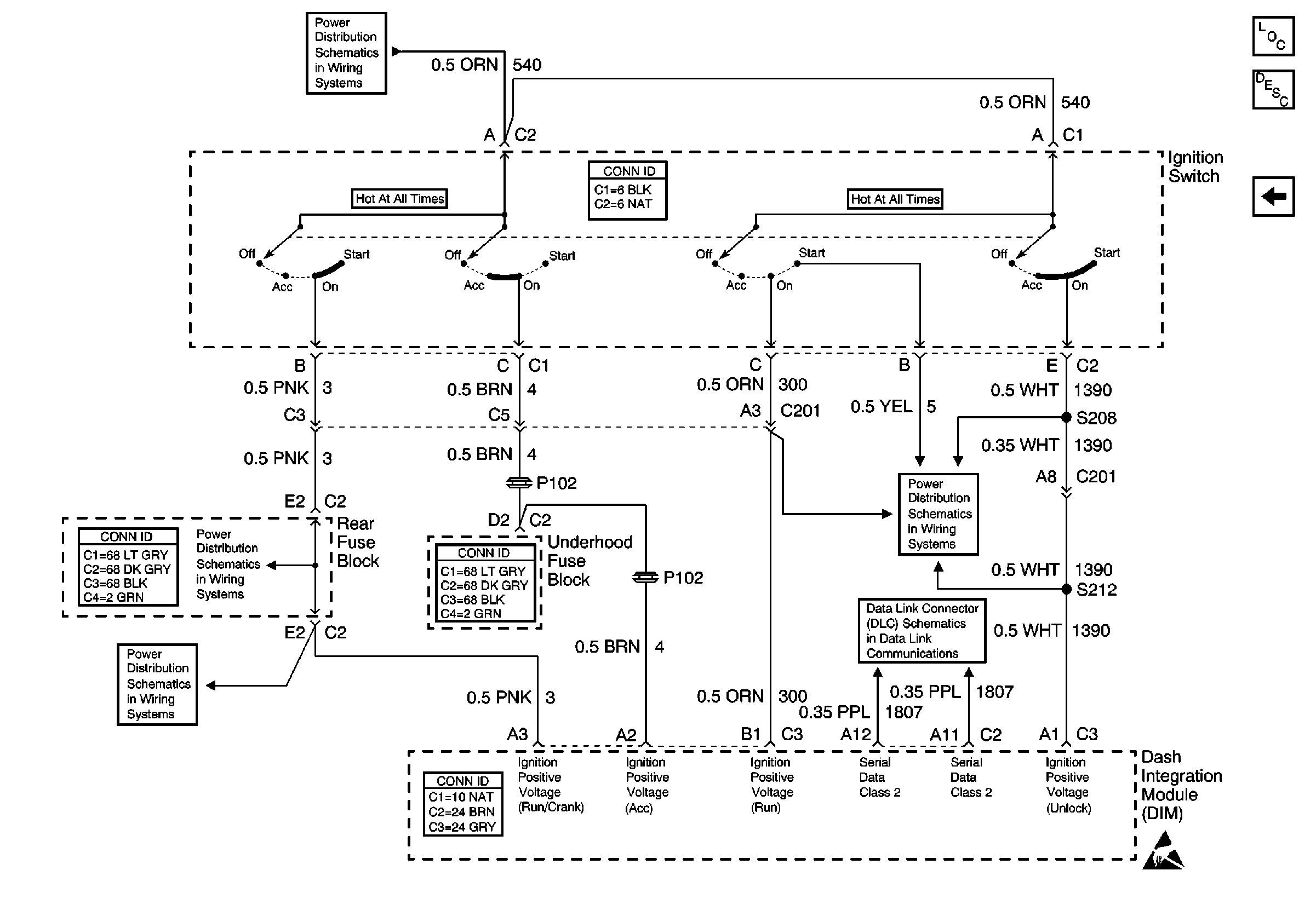
Figure
3:
DIM Inputs
Retained Accessory Power (RAP) Components
Retained Accessory Power (RAP) Circuit Description
Door Jamb Switches
IGN SW and NSBU Fuses (Rear Fuse Block)
Circuits from the Ignition Switch
Ignition Switch
Serial Data Class 2
Handling ESD Sensitive Parts Notice