GM Service Manual Online
For 1990-2009 cars only
Makes
🢒
Pontiac
🢒
2000
🢒
Bonneville
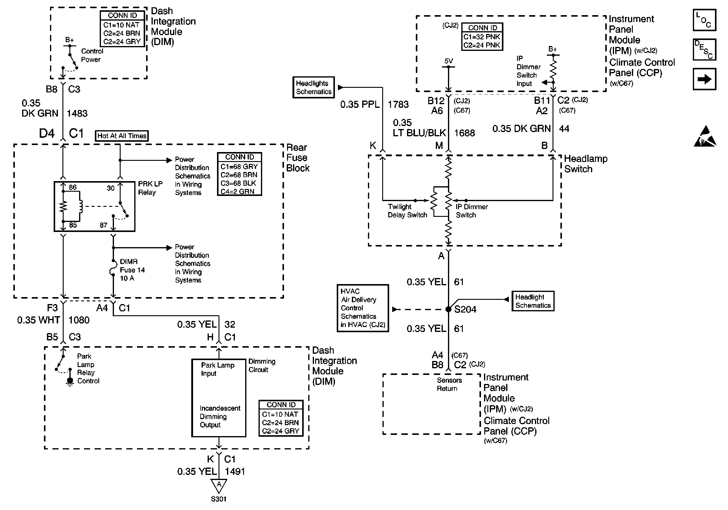
🢒 Dimmer Control
Dimmer Control
Dimmer Control
Headlamp Switch, Ambient Light Sensor (CJ2)
PARK and REVERSE Relay, NSBU and IGN SW Fuses (Rear Fuse Block)
INT LP, BODY, LP PKL, LP PKR and DIMR Fuses INT LP and BODY Relays(Rear Fuse Block)
Instrument Panel and Console Dimming
Temperature Sensors W/CJ2
Lighting Systems Components
Interior Lights Dimming Circuit Description
Instrument Panel and Console Dimming
Handling ESD Sensitive Parts Notice