GM Service Manual Online
For 1990-2009 cars only
Makes
🢒
Pontiac
🢒
2000
🢒
Bonneville
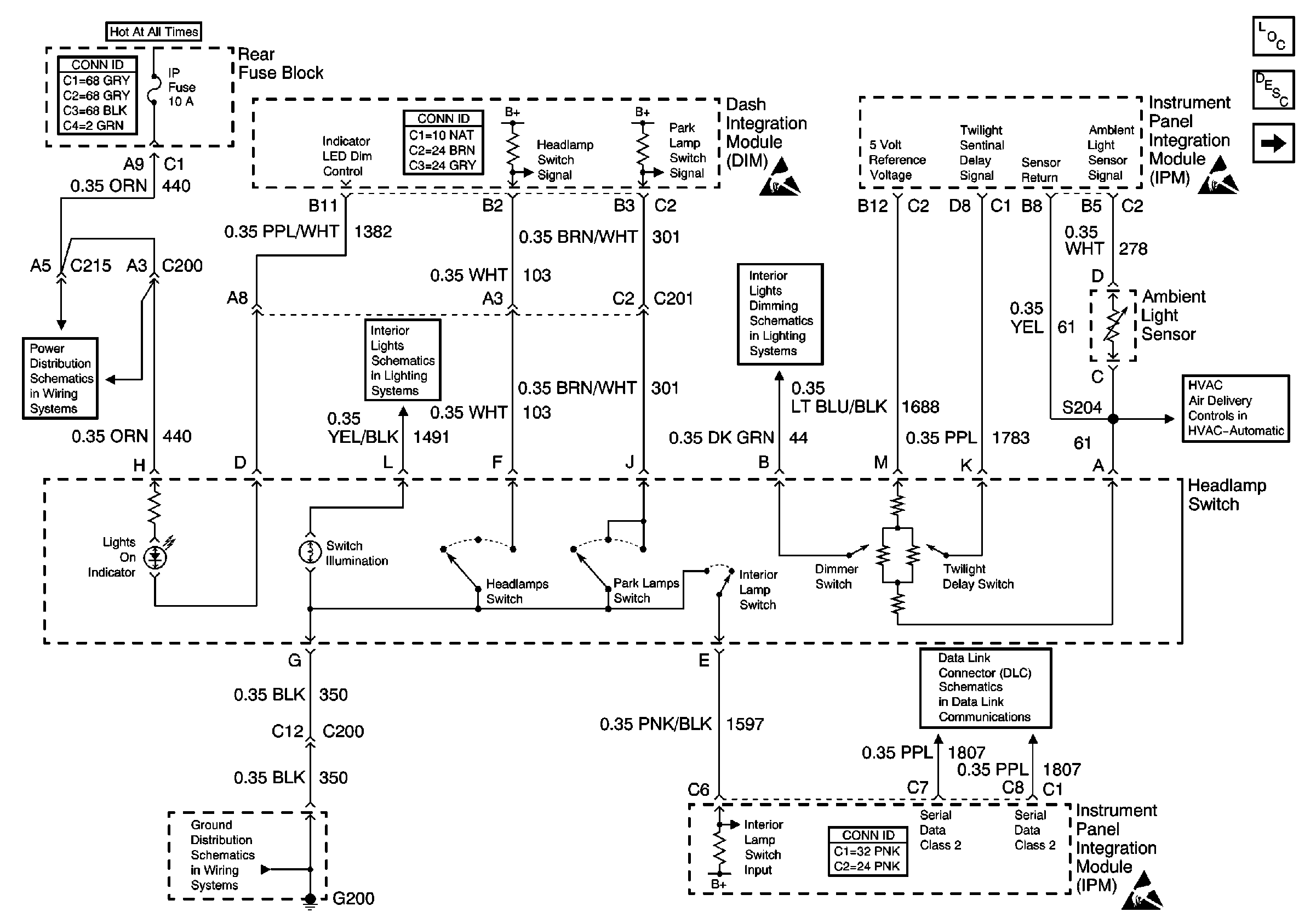
🢒 Headlamp Switch, Ambient Light Sensor (CJ2)
Headlamp Switch, Ambient Light Sensor (CJ2)
Headlamp Switch, Ambient Light Sensor (CJ2)
Lighting Systems Components
Headlights Circuit Description
Headlamp Switch, Ambient Light Sensor (C67)
Handling ESD Sensitive Parts Notice
Handling ESD Sensitive Parts Notice
Instrument Panel and Console Dimming
Dimmer Control
Serial Data Class 2
G200 (1 of 3)
Handling ESD Sensitive Parts Notice
Temperature Sensors W/CJ2
IP, CIGAR, AUX PWR, and C/LTR Fuses and CIGAR Relay