GM Service Manual Online
For 1990-2009 cars only
Makes
🢒
Pontiac
🢒
2000
🢒
Bonneville
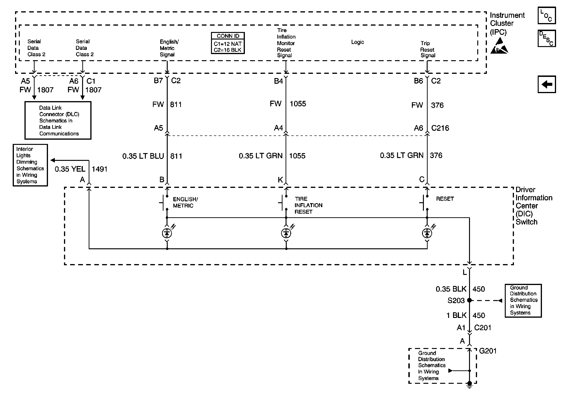
🢒 DIC Switch (U2F)
DIC Switch (U2F)
DIC Switch (U2F)
Instrument Cluster and HUD Components
Driver Information Center (DIC) or Message Center Description
Electronic Compass
DIC Switch (U50)
Handling ESD Sensitive Parts Notice
Serial Data Class 2
Instrument Panel and Console Dimming
G201 (1 of 3)
G201 (1 of 3)