GM Service Manual Online
For 1990-2009 cars only
Makes
🢒
Pontiac
🢒
2000
🢒
Bonneville
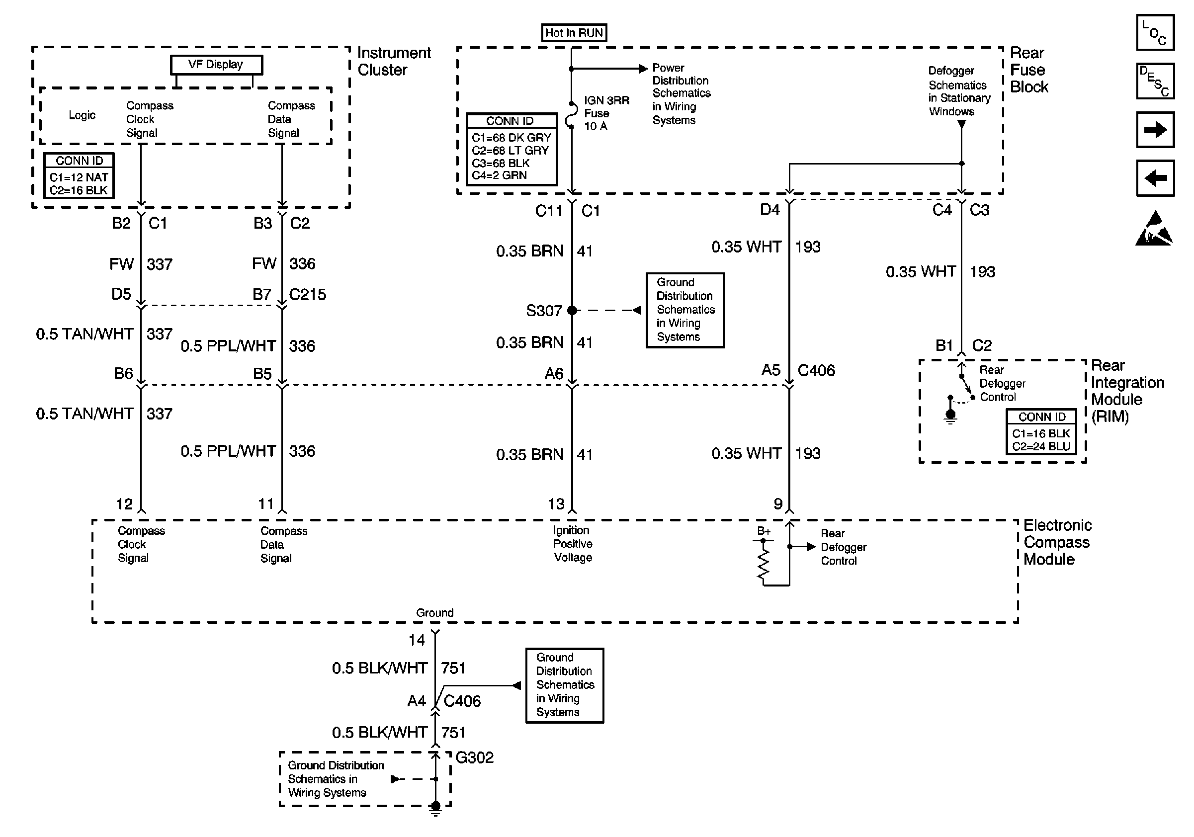
🢒 Electronic Compass
Electronic Compass
Electronic Compass
Instrument Cluster and HUD Components
Electronic Compass Operation
DIC Switch (U2F)
Handling ESD Sensitive Parts Notice
ABS and IGN 3 Fuses (Rear Fuse Block)
ABS and IGN 3 Fuses (Rear Fuse Block)
G302