GM Service Manual Online
For 1990-2009 cars only
Makes
🢒
Pontiac
🢒
2000
🢒
Bonneville
🢒 Instrument Panel Cluster
Instrument Panel Cluster
Instrument Panel Cluster
Body Rear End Components
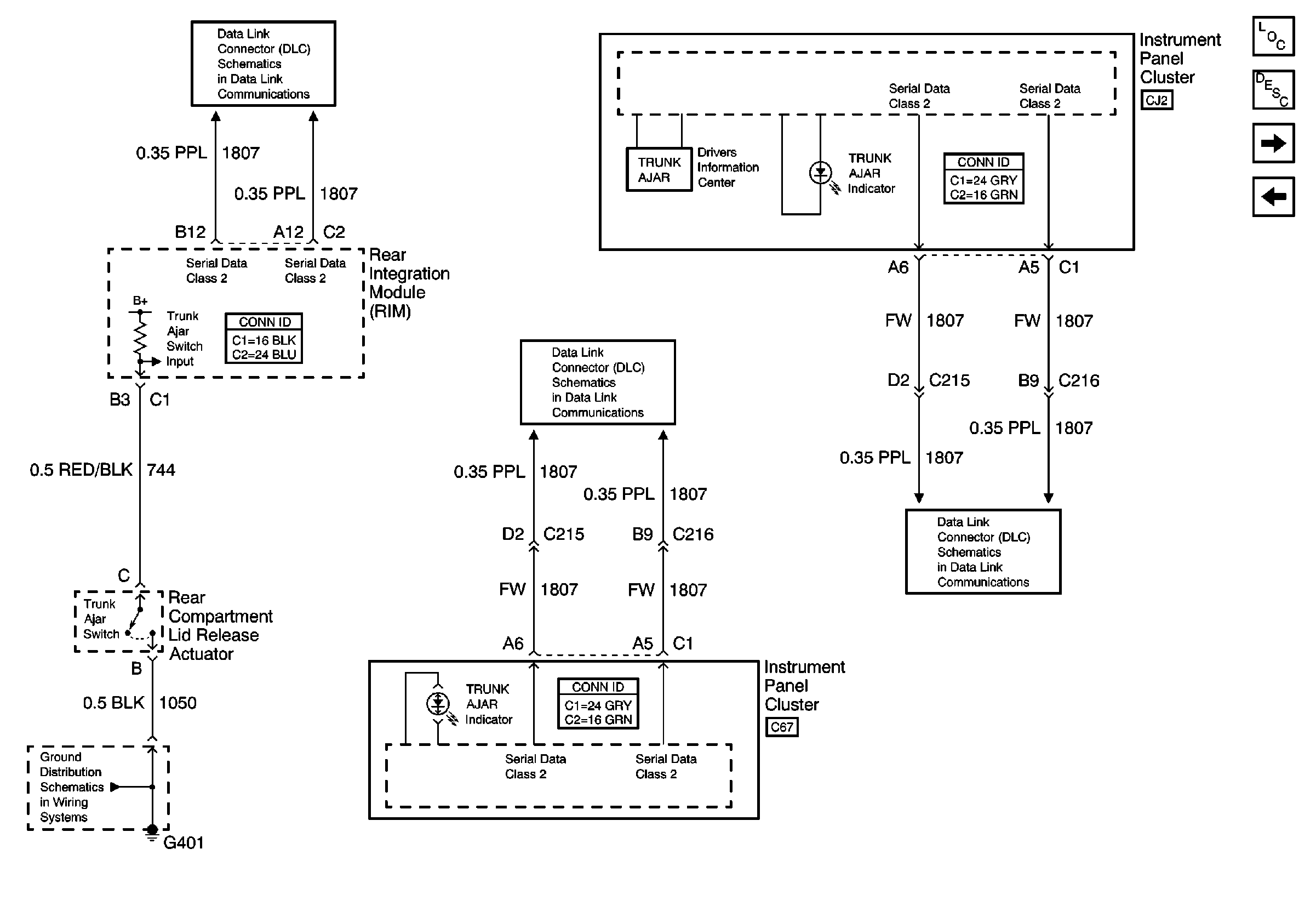
Rear Compartment Lid Release Description
Rear Compartment Lid Release
G401 (1 of 2)