GM Service Manual Online
For 1990-2009 cars only
Makes
🢒
Pontiac
🢒
2000
🢒
Bonneville
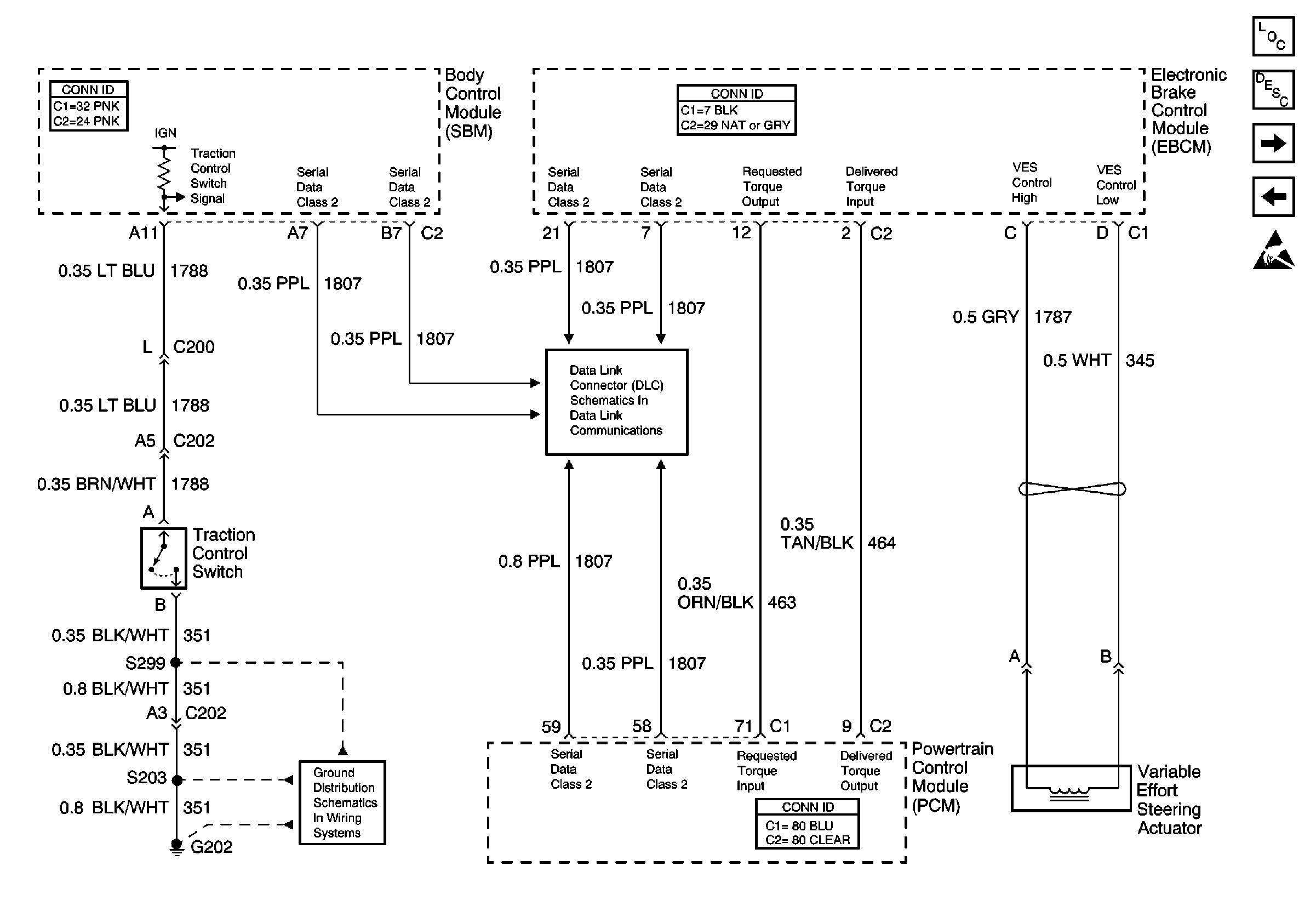
🢒 Traction Control (w/NW9) and Variable Effort Steering (w/NV8)
Traction Control (w/NW9) and Variable Effort Steering (w/NV8)
Traction Control (w/NW9) and Variable Effort Steering (w/NV8)
ABS Components
ABS Description
Indicators and Stoplamp Switch
Vehicle Stability Enhancement System (w/JL4)
Handling ESD Sensitive Parts Notice
Class 2 Serial Data Line
G202, 1 of 4