GM Service Manual Online
For 1990-2009 cars only
Makes
🢒
Pontiac
🢒
2000
🢒
Bonneville
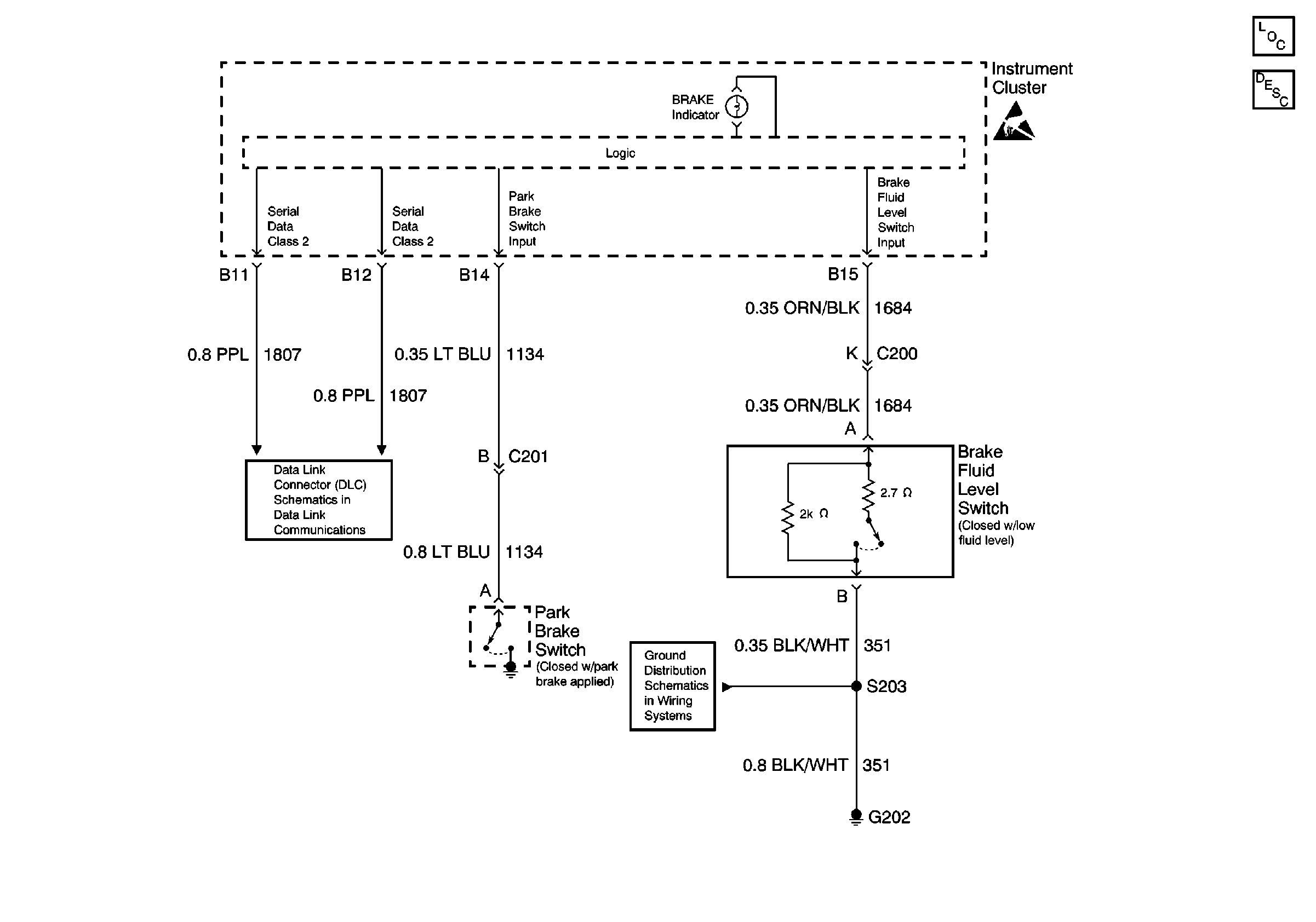
🢒 00 C-Car Cell 41 Brake Warning Schematic
00 C-Car Cell 41 Brake Warning Schematic
Hydraulic Brakes Components
Brake Warning System Circuit Description
Handling ESD Sensitive Parts Notice
G202, 1 of 4
Class 2 Serial Data Line