GM Service Manual Online
For 1990-2009 cars only
Makes
🢒
Pontiac
🢒
2000
🢒
Bonneville
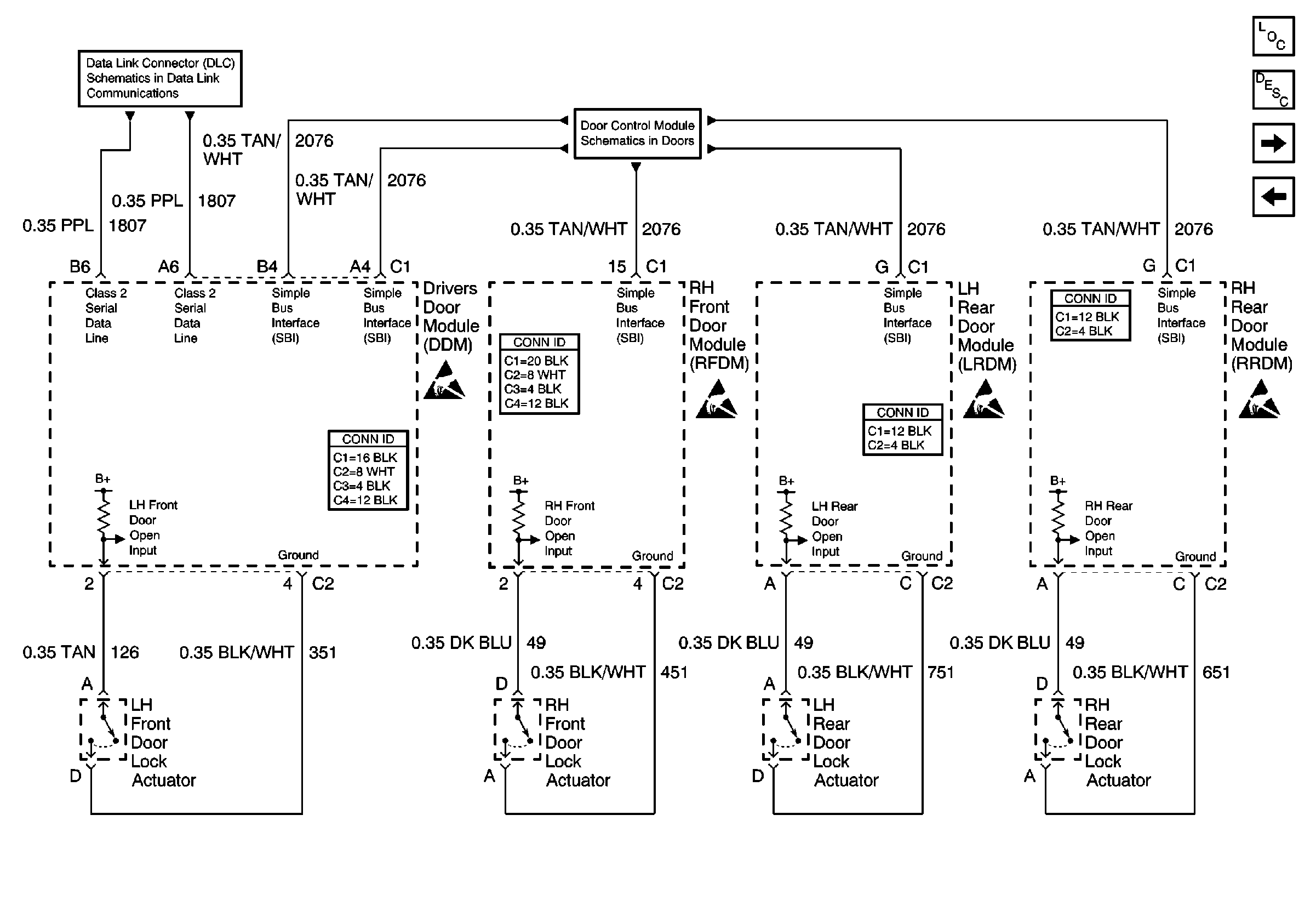
🢒 Door Jamb Switches
Door Jamb Switches
Door Jamb Switches
Lighting Systems Components
Interior Lights Circuit Description
Cell 114: LH Courtesy Lamps
Interior Lamp Relay
Handling ESD Sensitive Parts Notice
Handling ESD Sensitive Parts Notice
Handling ESD Sensitive Parts Notice
Handling ESD Sensitive Parts Notice
Serial Data Class 2
Simple Bus Interface