GM Service Manual Online
For 1990-2009 cars only
Makes
🢒
Pontiac
🢒
2000
🢒
Bonneville
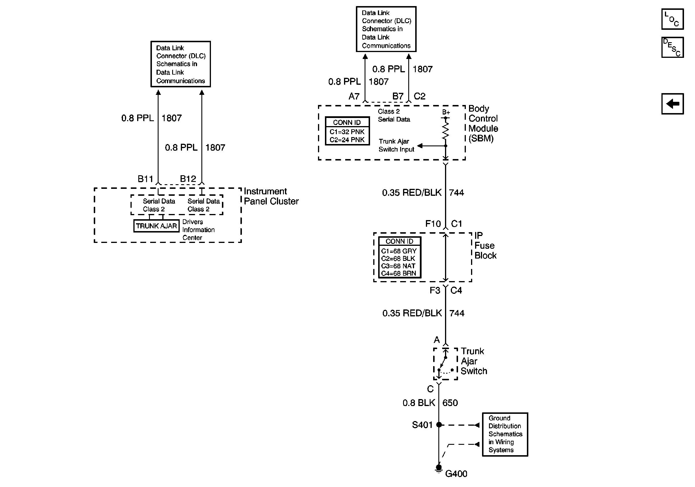
🢒 Trunk Ajar Switch
Trunk Ajar Switch
Trunk Ajar Switch
G400, 1 of 2
Body Rear End Components
Fuel Filler Door Release Circuit Description
Fuel Door Release
Class 2 Serial Data Line
Class 2 Serial Data Line