GM Service Manual Online
For 1990-2009 cars only

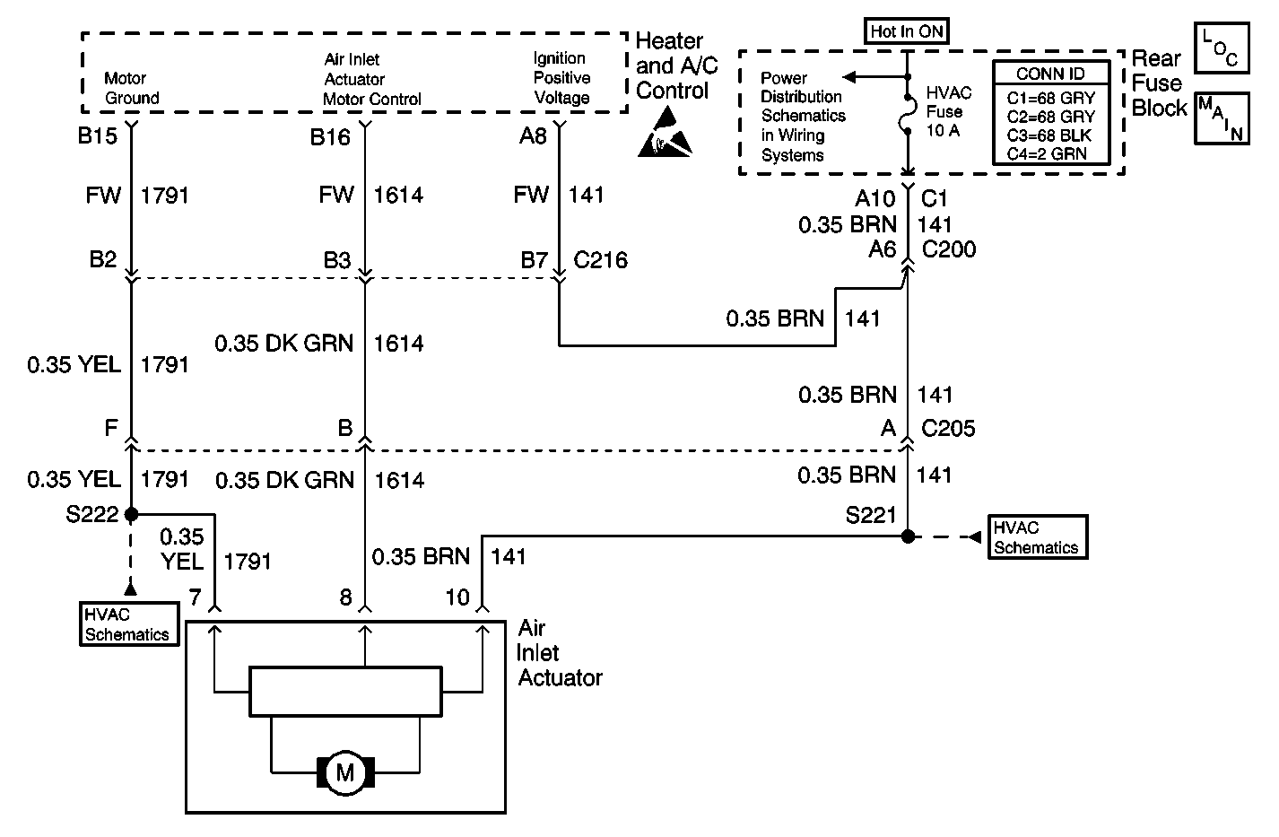
Object Number: 425280  Size: MF
HVAC Components
Air Delivery W/C67
Handling ESD Sensitive Parts Notice
Air Delivery W/C67
Air Delivery W/C67
Battery Voltage to the Rear Fuse Block

Circuit Description

The air inlet actuator is an electronic stepper motor without a feedback circuit. It responds to voltage inputs from the heater and A/C control with precalibrated non-adjustable position settings. The heater and A/C control adjusts the air inlet actuator to position the air inlet door in either the recirculation or the fresh air positions as selected by the vehicle occupants.

Conditions for Running the DTC

    • The ignition is turned ON.
    • DTC B1327 must not be current.

Conditions for Setting the DTC

The air inlet actuator motor control circuit is shorted to ground for more than 2 seconds.

Action Taken When the DTC Sets

Control of the air inlet door position will be disabled.

Conditions for Clearing the DTC

    • The DTC will become history if the heater and A/C control no longer detects a failure.
    • The history DTC will clear after 50 fault free ignition cycles.
    • The DTC can be cleared with a scan tool.

Test Description

The numbers below refer to the step numbers on the diagnostic table.

  1. The air inlet actuator can be driven to one of two positions using the Outside and Recirc. command keys on the scan tool. The scan tool also displays module output as a percentage of maximum control voltage. It does not indicate true actuator or door position.

  2. This step verifies that the actuator is receiving the control voltage.

Step

Action

Yes

No

1

Did you perform the HVAC Diagnostic System Check?

Go to Step 2

Go to Diagnostic System Check

2

  1. Install a scan tool.
  2. Turn ON the ignition, with the engine OFF.
  3. With a scan tool, activate the Air Inlet Door Position command in the HVAC Motors data list.
  4. Observe the air inlet actuator shaft on the HVAC module.

Does the air inlet actuator shaft rotate?

Go to Testing for Intermittent Conditions and Poor Connections

Go to Step 3

3

  1. Turn OFF the ignition.
  2. Disconnect the air inlet actuator.
  3. Turn ON the ignition, with the engine OFF.
  4. Measure the voltage from the motor control circuit of the air inlet actuator to a good ground.
  5. With a scan tool, activate the Air Inlet Door Position command in the HVAC Motors data list.

Does the voltage change?

Go to Step 5

Go to Step 4

4

Test the motor control circuit of the air inlet actuator for a short to ground. Refer to Circuit Testing and Wiring Repairs in Wiring Systems.

Did you find and correct the condition?

Go to Step 9

Go to Step 6

5

Inspect for poor connections at the harness connector of the air inlet actuator. Refer to Testing for Intermittent Conditions and Poor Connections and Connector Repairs in Wiring Systems.

Did you find and correct the condition?

Go to Step 9

Go to Step 7

6

Inspect for poor connections at the harness connector of the heater and A/C control. Refer to Testing for Intermittent Conditions and Poor Connections and Connector Repairs in Wiring Systems.

Did you find and correct the condition?

Go to Step 9

Go to Step 8

7

Replace the air inlet actuator. Refer to Air Inlet Actuator Replacement .

Did you complete the replacement?

Go to Step 9

--

8

Replace the heater and A/C control. Refer to Control Assembly Replacement .

Did you complete the replacement?

Go to Step 9

--

9

  1. Use a scan tool in order to clear the DTCs.
  2. Operate the vehicle within the Conditions for Running the DTC as specified in the supporting text.

Does the DTC reset?

Go to Step 2

System OK