GM Service Manual Online
For 1990-2009 cars only
Table 1: Device Power Moding

Object Number: 574803  Size: MF
Body Control Module Components
DIM Ignition Inputs
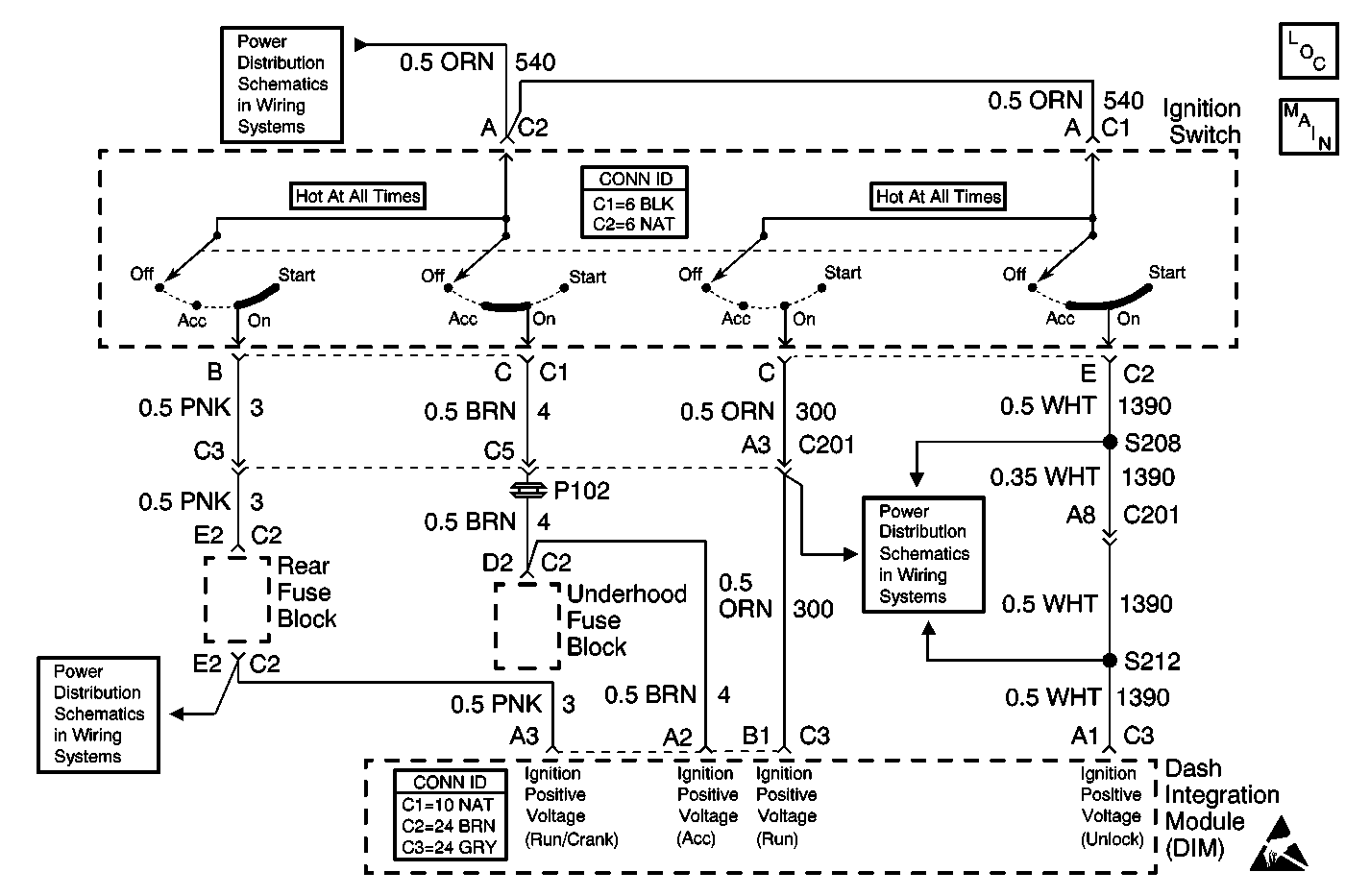
Circuits from the Ignition Switch
Handling ESD Sensitive Parts Notice
Ignition Switch
IGN SW and NSBU Fuses (Rear Fuse Block)

Circuit Description

Normal vehicle Class 2 communications will not commence until the system power mode has been identified. Four discrete wires from the ignition switch contacts are monitored by the dash integration module (DIM) in order to determine the present power mode (ignition switch position). The DIM communicates the system power mode to all Class 2 modules on the Class 2 bus.

Conditions for Running the DTC

The DIM must be powered.

Conditions for Setting the DTC

One of the four monitored ignition switch circuits has malfunctioned.

Action Taken When the DTC Sets

The DIM implements default actions for each ignition switch position when faults are detected.

Conditions for Clearing the MIL/DTC

The power moding malfunction must be corrected.

Device Power Moding

Key Position

Ign. Accessory

Ign. Run

Run/Crank

Ign. Unlock

UNLOCK

Inactive

Inactive

Inactive

Active

RUN

Active

Active

Active

Active

CRANK

Inactive

Inactive

Active

Active

ACCY

Active

Inactive

Inactive

Active

OFF

Inactive

Inactive

Inactive

Inactive

Test Description

The numbers below refer to the step numbers on the diagnostic table.

  1. Tests for a short to battery voltage on the active signal circuit.

  2. Tests the inactive signal circuit for an open or a high resistance.

  3. If any ignition switch parameters that should be inactive in the present ignition switch position are active, two ignition switch signal circuits may be shorted together.

Step

Action

Value(s)

Yes

No

1

Did you perform the Body Control Module Diagnostic System Check?

--

Go to Step 2

Go to Diagnostic System Check - Body Control System

2

  1. Install a scan tool.
  2. Turn OFF the ignition.
  3. With a scan tool, observe the ignition switch parameters in the dash integration module (DIM) data list.

Do all of the ignition switch parameters display Inactive?

--

Go to Step 3

Go to Step 7

3

  1. Turn ON the ignition, with the engine OFF.
  2. With a scan tool, observe the ignition switch parameters.

Do all of the ignition switch parameters display Active?

--

Go to Step 4

Go to Step 8

4

  1. Turn the ignition switch to the CRANK position.
  2. With a scan tool, observe the ignition switch parameters.

Do only the Run/Crank and Unlock parameters display Active?

--

Go to Step 5

Go to Step 9

5

  1. Turn the ignition switch to the UNLOCK position.
  2. With a scan tool, observe the ignition switch parameters.

Does only the Ign. Unlock parameter display Active?

--

Go to Step 6

Go to Step 9

6

  1. Turn the ignition switch to the ACCY position.
  2. With a scan tool, observe the ignition switch parameters.

Does only the Ign. Accessory and Unlock parameter display Active?

--

Go to Testing for Intermittent Conditions and Poor Connections in Wiring Systems

Go to Step 7

7

  1. Turn OFF the ignition.
  2. Disconnect the ignition switch.
  3. With a scan tool, observe the ignition switch parameters.

Do all of the ignition switch parameters display Inactive?

--

Go to Step 13

Go to Step 10

8

  1. Turn OFF the ignition.
  2. Disconnect the dash integration module.
  3. Turn ON the ignition, with the engine OFF.
  4. Connect a test lamp between the inactive signal circuit and a good ground.

Does the test lamp illuminate?

--

Go to Step 14

Go to Step 11

9

Do any other ignition switch parameters also indicate Active when the parameter should be Inactive?

--

Go to Step 12

Go to Step 13

10

Test the active signal circuit of the ignition switch for a short to voltage. Refer to Circuit Testing and Wiring Repairs in Wiring Systems.

Did you find and correct the condition?

--

Go to Step 17

Go to Step 14

11

Test the inactive signal circuit of the ignition switch for a high resistance or an open. Refer to Circuit Testing and Wiring Repairs in Wiring Systems.

Did you find and correct the condition?

--

Go to Step 17

Go to Step 13

12

Test the active signal circuit of the ignition switch for a short to another signal circuit of the ignition switch. Refer to Circuit Testing and Wiring Repairs in Wiring Systems.

Did you find and correct the condition?

--

Go to Step 17

Go to Step 13

13

Inspect for poor connections at the harness connector of the ignition switch. Refer to Testing for Intermittent Conditions and Poor Connections and Connector Repairs in Wiring Systems.

Did you find and correct the condition?

--

Go to Step 17

Go to Step 15

14

Inspect for poor connections at the harness connector of the dash integration module. Refer to Testing for Intermittent Conditions and Poor Connections and Connector Repairs in Wiring Systems.

Did you find and correct the condition?

--

Go to Step 17

Go to Step 16

15

Replace the ignition switch. Refer to Ignition and Start Switch Replacement in Instrument Panel, Gauges and Console.

Did you complete the replacement?

--

Go to Step 17

--

16

Important:: After replacement of the DIM perform the set up procedures for the DIM. Refer to Body Control Module (BCM) Programming/RPO Configuration .

Replace the DIM. Refer to Dash Integration Module Replacement

Did you complete the replacement?

--

Go to Step 17

--

17

  1. Use a scan tool in order to clear the DTC's.
  2. Operate the vehicle within the Conditions for Running the DTC as specified in the supporting text.

Does the DTC reset?

--

Go to Step 2

System OK