GM Service Manual Online
For 1990-2009 cars only
Makes
🢒
Pontiac
🢒
2001
🢒
Bonneville
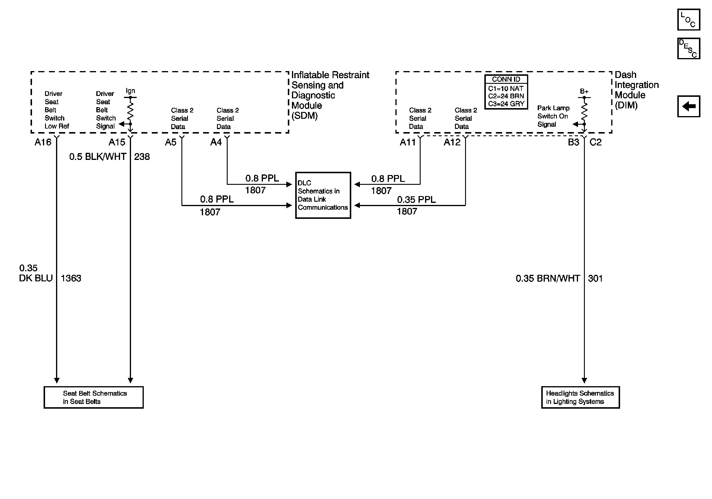
🢒 Seat Belt and Headlamp Switch Audible Warnings
Seat Belt and Headlamp Switch Audible Warnings
Seat Belt and Headlamp Switch Audible Warnings
Master Electrical Component List
Seat Belt Schematic
Class 2 Serial Data
Headlamp, Foglamp, and Ambient Light Sensor Inputs (w/C67)
Radio, Door, and Ignition Switch Audible Warnings