GM Service Manual Online
For 1990-2009 cars only
Makes
🢒
Pontiac
🢒
2001
🢒
Bonneville
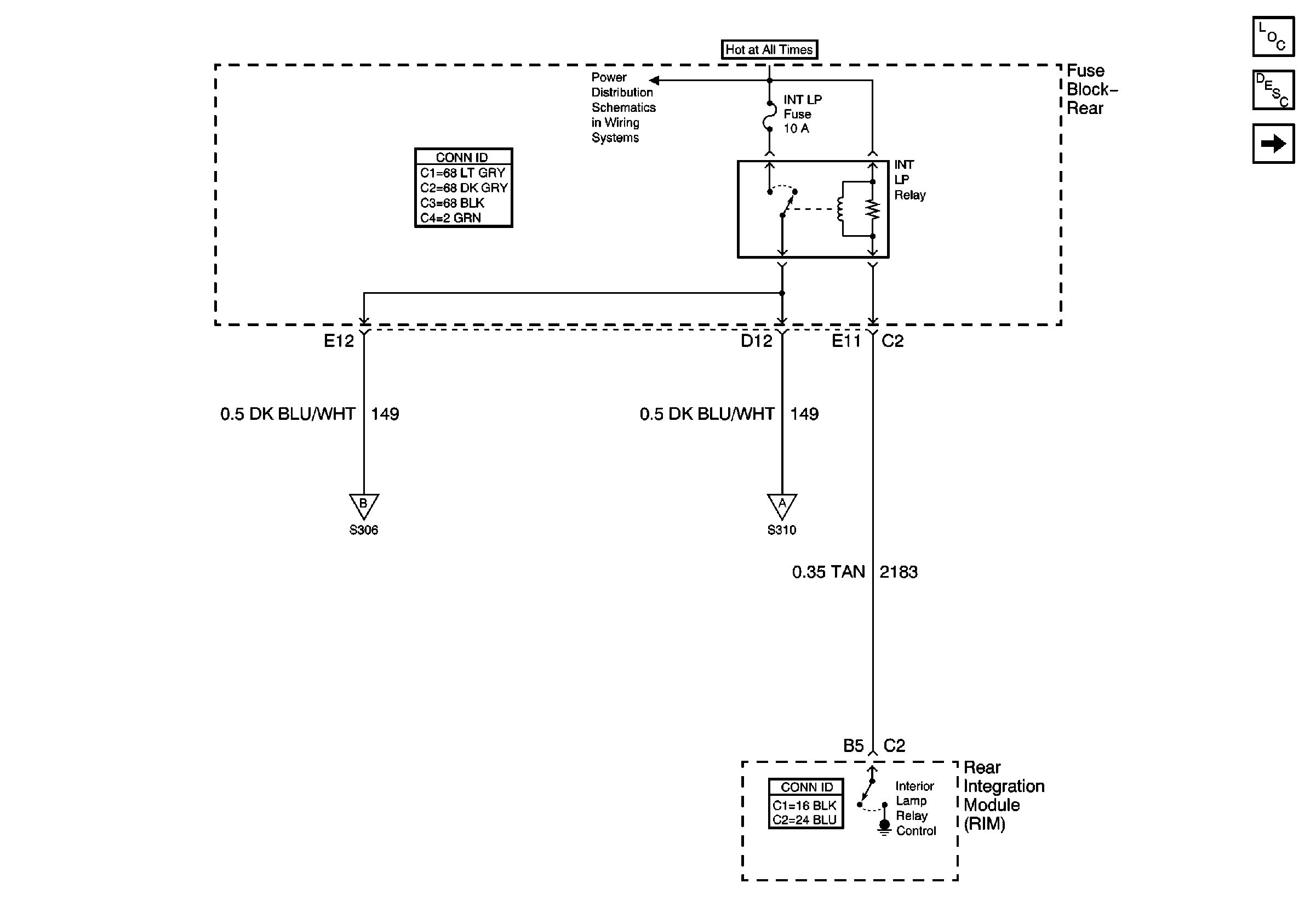
🢒 Interior Lamp Relay Controls
Interior Lamp Relay Controls
Interior Lamp Relay Controls
Master Electrical Component List
Left Courtesy, Rear Compartment, and Ignition Cylinder Lamps
Battery Voltage to the Rear Fuse Block
Right Courtesy and IP Compartment Lamps
Door Lock OPEN Inputs to Modules