GM Service Manual Online
For 1990-2009 cars only
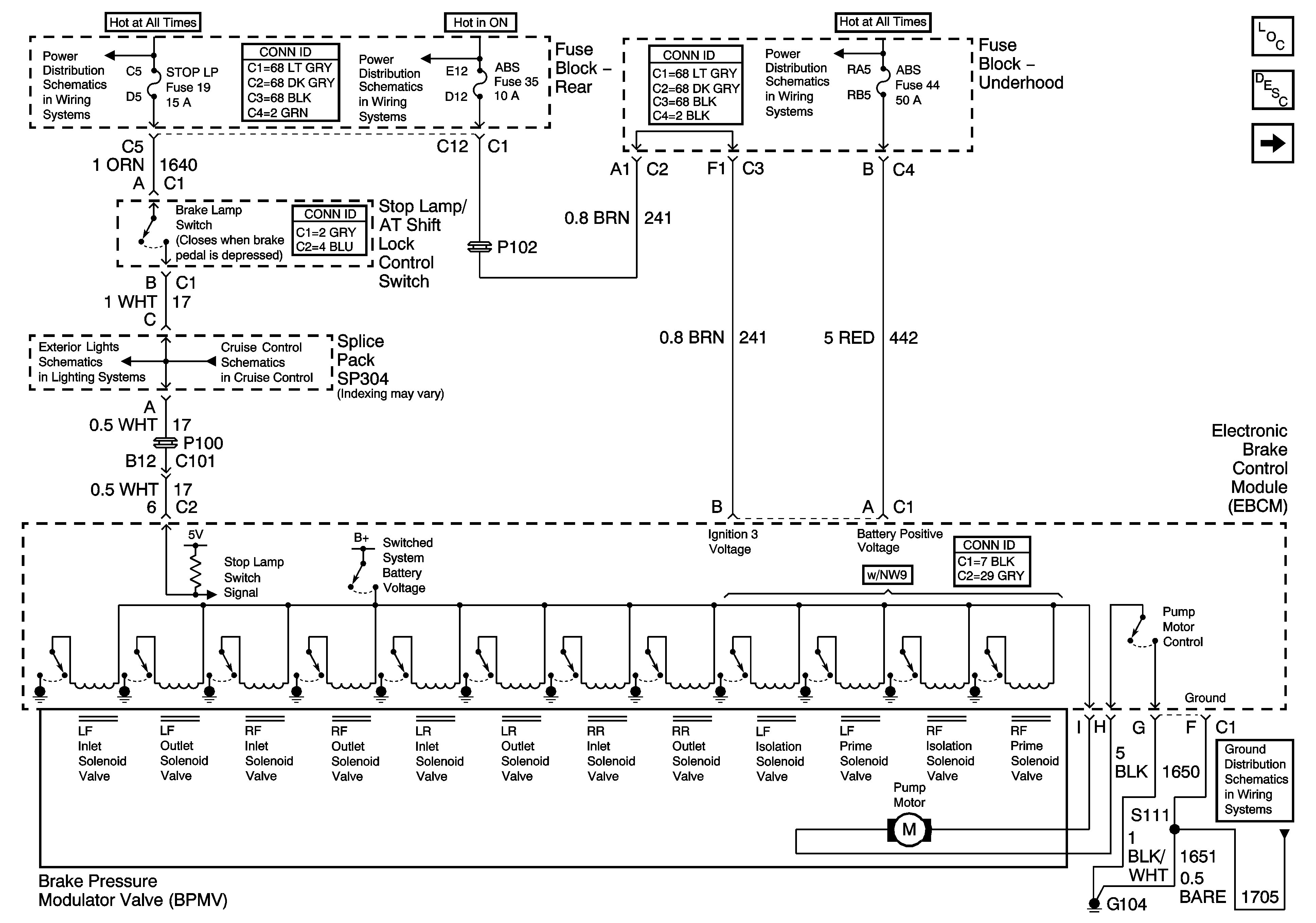
Figure 1:

Power, Ground, and the BPMV Valve


Object Number: 885633  Size: FS
TSIG/HAZ, STOP LP, AUDIO, and CD Fuses (Fuse Block Rear)
IGN3 and ABS Fuses (Fuse Block Rear)
ABS, PCM BATT Fuses and the Cool Fan 1 Relay (Fuse Block Underhood)
Stop Lamps
Cruise Control Module and VSS
Master Electrical Component List
ABS Description and Operation
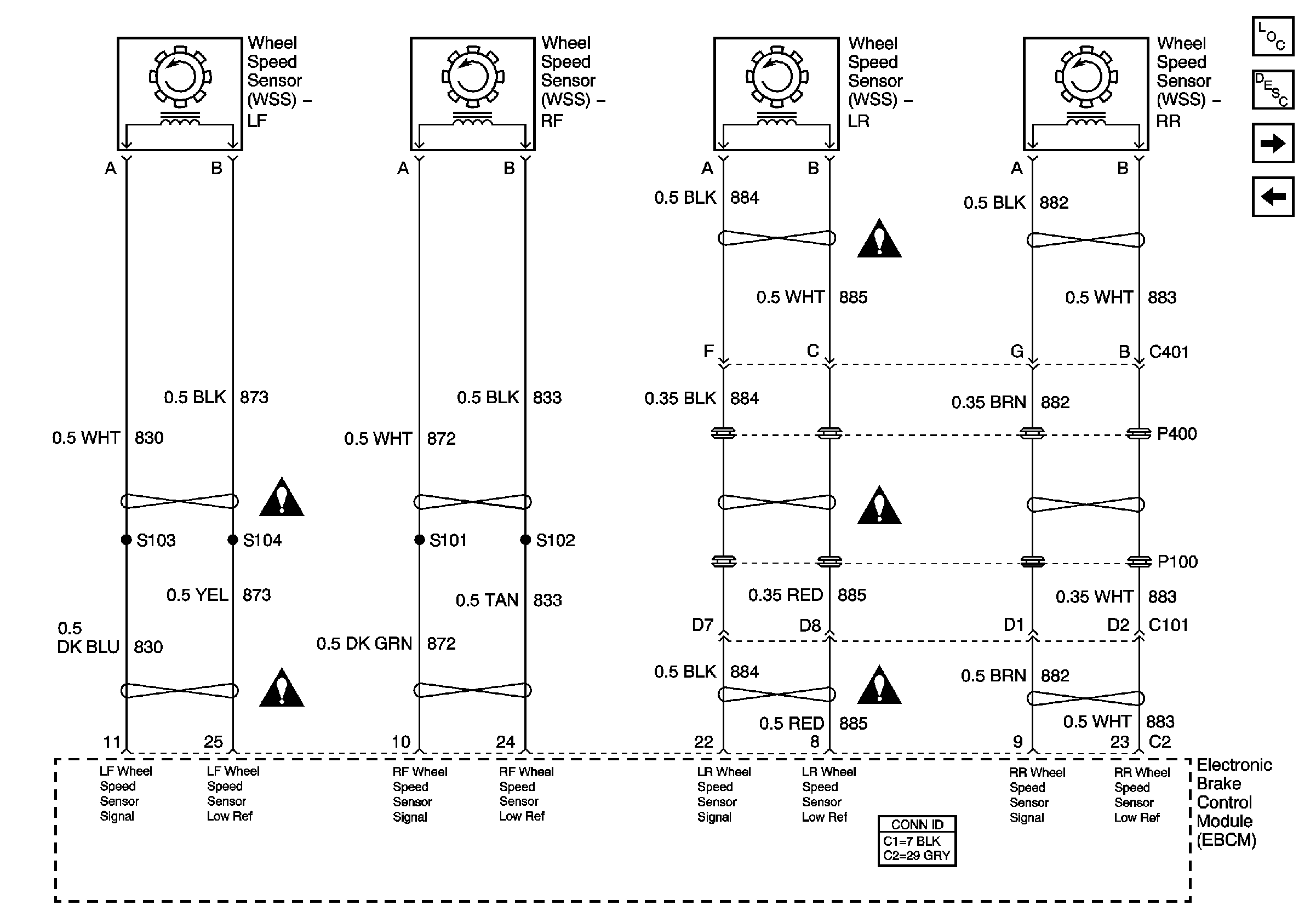
Wheel Speed Sensors
Figure 2:

Wheel Speed Sensors


Object Number: 766052  Size: FS
Antilock Brake System Schematic Icons
ABS Description and Operation
Antilock Brake System Schematic Icons
Antilock Brake System Schematic Icons
Antilock Brake System Schematic Icons
Antilock Brake System Schematic Icons
Master Electrical Component List
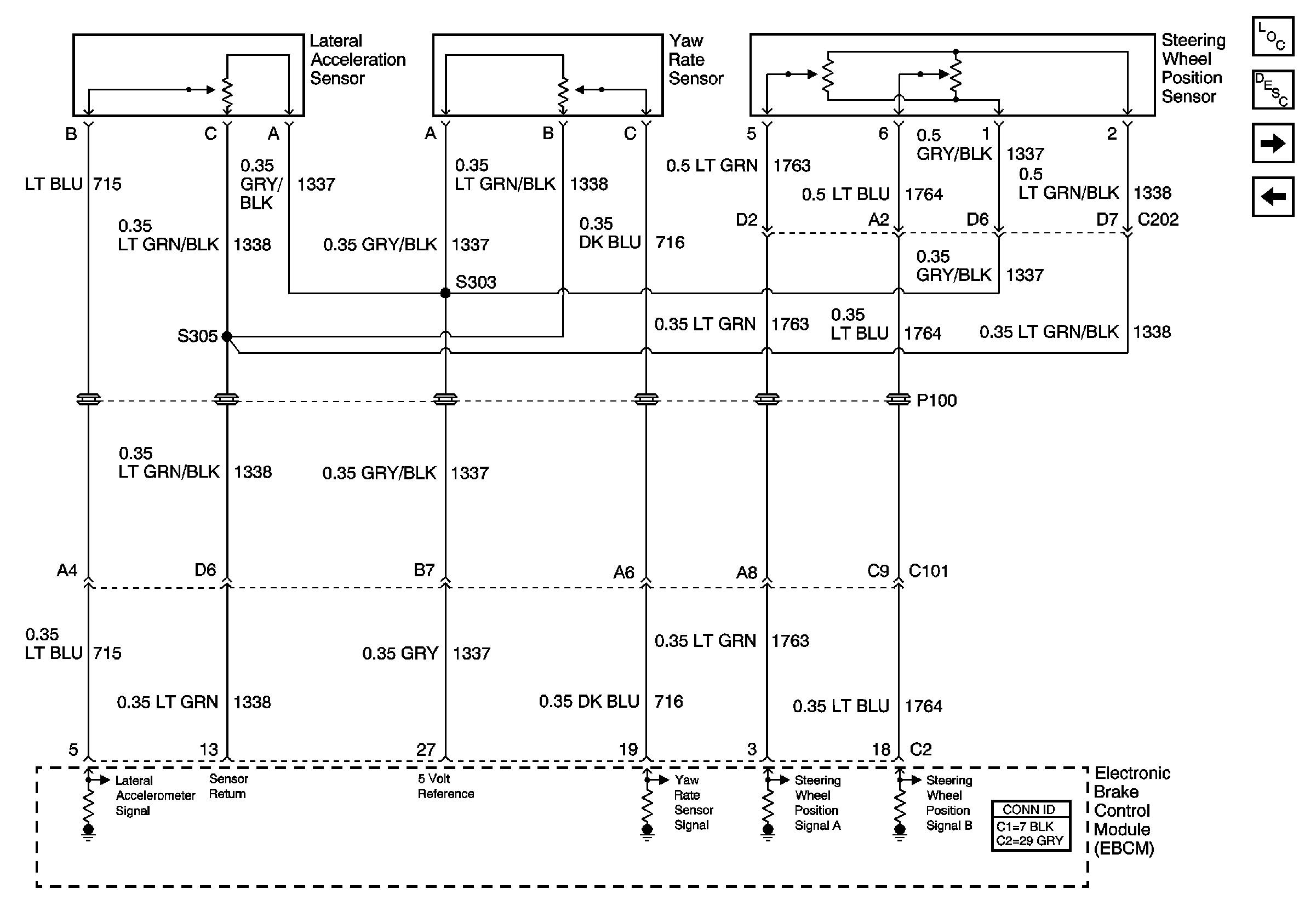
Vehicle Stability Enhancement System (JL4)
Power, Ground, and the BPMV Valve
Figure 3:

Vehicle Stability Enhancement System (JL4)


Object Number: 766054  Size: FS
Master Electrical Component List
ABS Description and Operation
Traction Control (NW9)
Wheel Speed Sensors
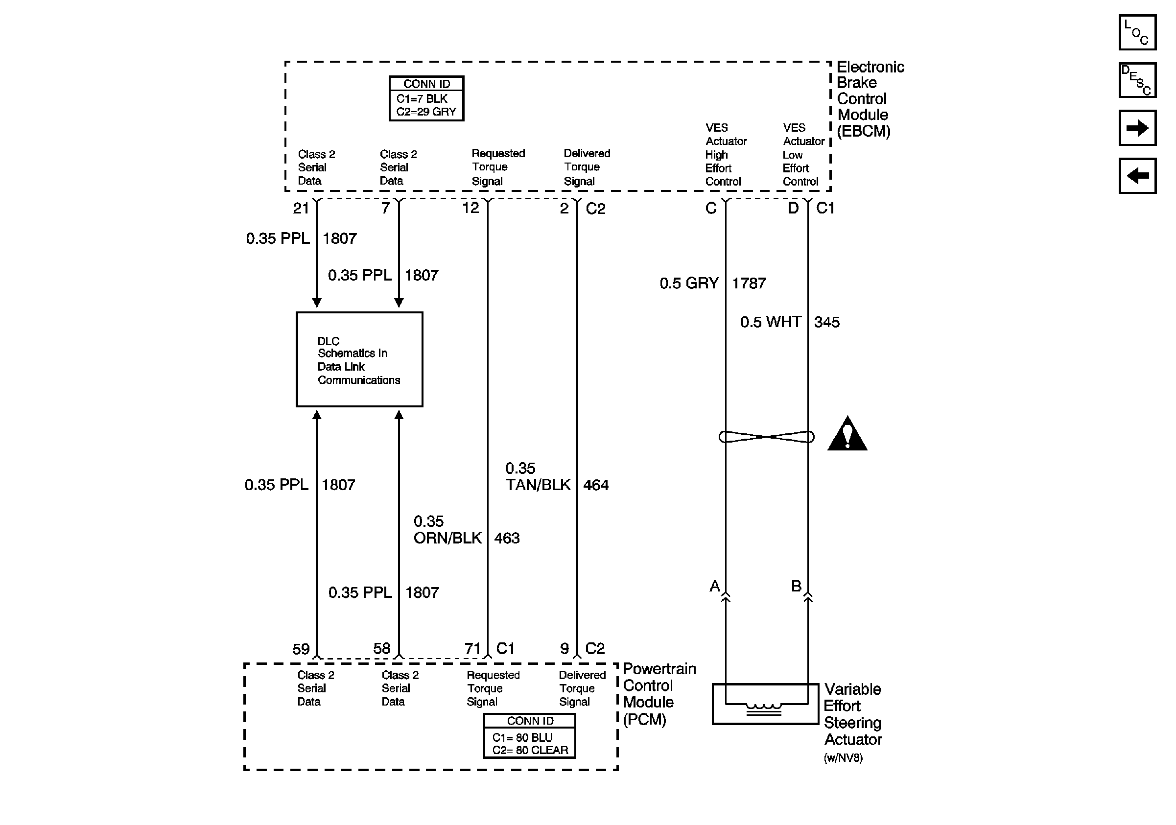
Figure 4:

PCM and VES Signals (NW9)


Object Number: 796899  Size: FS
Antilock Brake System Schematic Icons
ABS Description and Operation
Serial Data Class 2
Master Electrical Component List
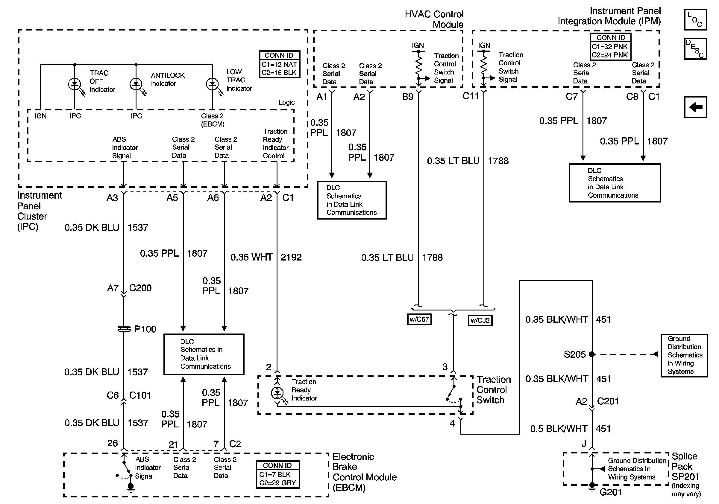
Indicators and the Traction Control Switch
Vehicle Stability Enhancement System (JL4)
Figure 5:

Indicators and the Traction Control Switch


Object Number: 886665  Size: FS
ABS Description and Operation
Serial Data Class 2
Serial Data Class 2
Serial Data Class 2
G201 (2 of 2)
G201 (2 of 2)
Master Electrical Component List
Traction Control (NW9)