GM Service Manual Online
For 1990-2009 cars only
Figure 1:

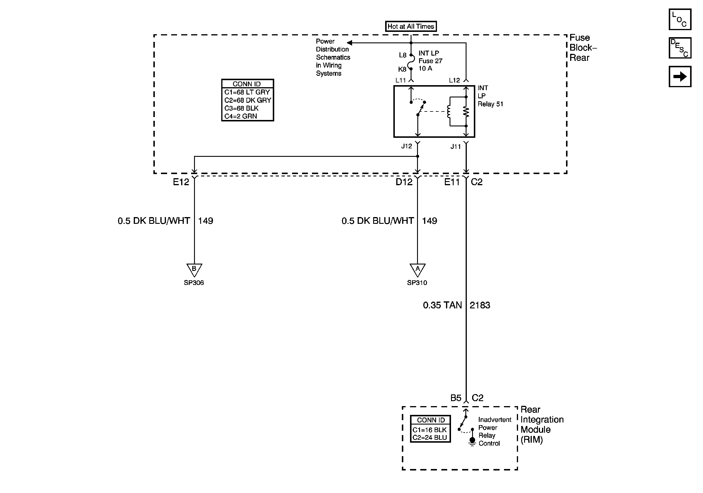
Interior Lamp Relay Controls


Object Number: 885712  Size: FS
Master Electrical Component List
Interior Lighting Systems Description and Operation
Left Courtesy, Rear Compartment, and Ignition Cylinder Lamps
Rear Fuse Block - B+ Bus
Right Courtesy, and I/P Compartment Lamps
Door Lock OPEN Inputs to the Modules
Figure 2:

Door Lock OPEN Inputs to the Modules


Object Number: 765809  Size: FS
Master Electrical Component List
Interior Lighting Systems Description and Operation
Serial Data Class 2
Simple Bus Interface (SBI)
Left Courtesy, Rear Compartment, and Ignition Cylinder Lamps
Interior Lamp Relay Controls
Figure 3:

Left Courtesy, Rear Compartment, and Ignition Cylinder Lamps


Object Number: 885714  Size: FS
Master Electrical Component List
Interior Lighting Systems Description and Operation
Rear Fuse Block - B+ Bus
IP, and CIGAR Fuses
Headliner Lamps
G401 (1 of 2)
Interior Lamp Relay Controls
Right Courtesy, and I/P Compartment Lamps
Right Courtesy, and I/P Compartment Lamps
Headliner Lamps
Right Courtesy, and I/P Compartment Lamps
Door Lock OPEN Inputs to the Modules
Figure 4:

Right Courtesy, and I/P Compartment Lamps


Object Number: 765813  Size: FS
Master Electrical Component List
Interior Lighting Systems Description and Operation
G201 (1 of 2)
G201 (1 of 2)
Left Courtesy, Rear Compartment, and Ignition Cylinder Lamps
Interior Lamp Relay Controls
Left Courtesy, Rear Compartment, and Ignition Cylinder Lamps
Headliner Lamps
Left Courtesy, Rear Compartment, and Ignition Cylinder Lamps
Figure 5:

Headliner Lamps


Object Number: 765816  Size: FS
Master Electrical Component List
Interior Lighting Systems Description and Operation
Right Courtesy, and I/P Compartment Lamps
Left Courtesy, Rear Compartment, and Ignition Cylinder Lamps
Cigar Lighter/Auxiliary Output
Right Courtesy, and I/P Compartment Lamps