GM Service Manual Online
For 1990-2009 cars only
Makes
🢒
Pontiac
🢒
2004
🢒
Bonneville
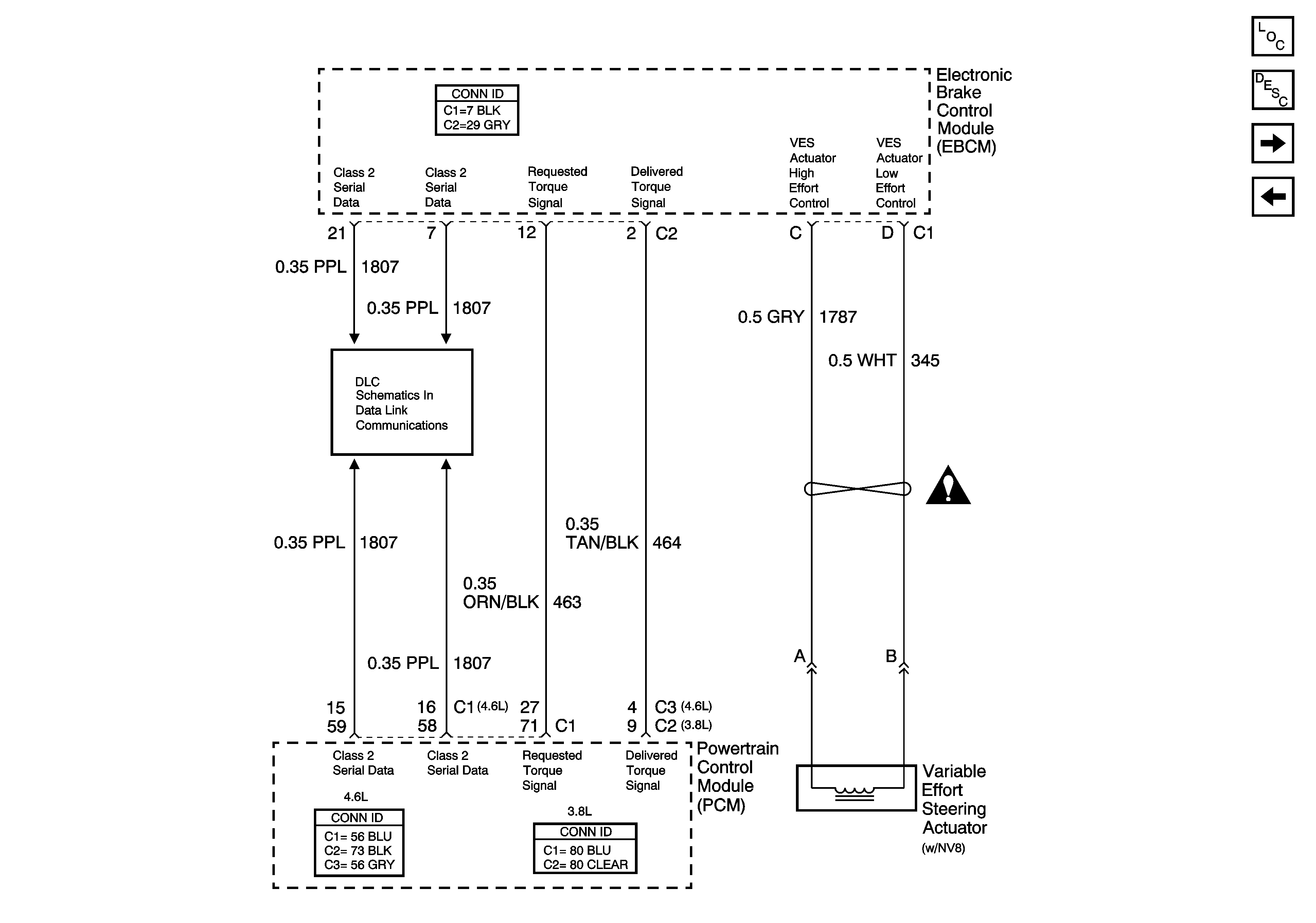
🢒 Traction Control (NW9)
Traction Control (NW9)
Traction Control (NW9)
Antilock Brake System Schematic Icons
ABS Description and Operation
Serial Data Class 2
Master Electrical Component List
Indicators and the Traction Control Switch
Vehicle Stability Enhancement System (JL4)